Телевизоры Samsung UE43J5272AUXRU - инструкция пользователя по применению, эксплуатации и установке на русском языке. Мы надеемся, она поможет вам решить возникшие у вас вопросы при эксплуатации техники.
Если остались вопросы, задайте их в комментариях после инструкции.
"Загружаем инструкцию", означает, что нужно подождать пока файл загрузится и можно будет его читать онлайн. Некоторые инструкции очень большие и время их появления зависит от вашей скорости интернета.

English - 5
English
- Samsung is not liable for product damage or personal injury when a non-VESA or non-specified wall mount is used or
the consumer fails to follow the product installation instructions.
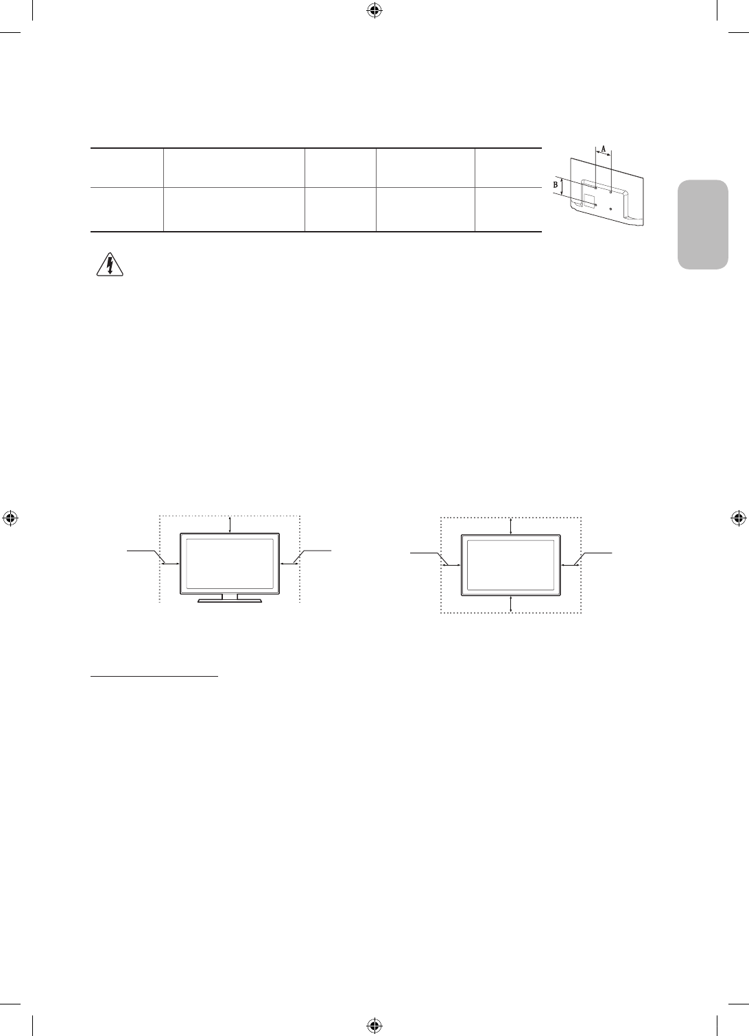
- Do not mount the TV at more than a 15 degree tilt.
TV size in
inches
VESA screw hole specs
(A * B) in millimetres
Standard Screw
Quantity
C (mm)
43
200 X 200
10.7 - 14.3
M6
4
Do not install your Wall Mount Kit while your TV is turned on. It may result in personal injury due to
electric shock.
Providing Proper Ventilation for Your TV
When you install your TV, maintain a distance of at least 10 cm between the TV and other objects (walls, cabinet sides, etc.) to
ensure proper ventilation. Failing to maintain proper ventilation may result in a fire or a problem with the product caused by an
increase in its internal temperature.
If you use parts provided by another manufacturer, it may cause difficulties with the product or result in injury caused by the
product falling.
- Whether you install your TV using a stand or a wall-mount, we strongly recommend you use parts provided by Samsung
Electronics only.
Installation with a stand.
Installation with a wall-mount.
10 cm
10 cm
10 cm
10 cm
10 cm
10 cm
10 cm
Other Cautions
- The actual appearance of the TV may differ from the images in this manual, depending on the model.
- Be careful when you touch the TV. Some parts can be somewhat hot.
UJ5200_40-48-RU_BN68-07425W-01_L04.indb 5
2016-07-11 오후 7:23:35
Содержание
- 14 LED ТЕЛЕВИЗОР; руководство пользователя
- 15 Внимание! Важные указания по безопасности
- 20 Замок Kensington для защиты от краж
- 21 Подключение к телевизору других устройств; Использование карты CI CARD или CI+ CARD
- 22 Подключение к сети; Беспроводное сетевое соединение; Меры предосторожности при использовании беспроводной сети
- 23 Проводное сетевое соединение
- 24 Пульт дистанционного управления
- 26 Исходная настройка; Изменение пароля; Выбор источника видеосигнала
- 27 Просмотр других функций телевизора; Дополнительные e-Manual функции
- 29 Устранение неисправностей
- 30 Что такое удаленная поддержка?; Хранение и обслуживание
- 32 Лицензии













