Телевизоры кинескопные Sony KV-29FX66K - инструкция пользователя по применению, эксплуатации и установке на русском языке. Мы надеемся, она поможет вам решить возникшие у вас вопросы при эксплуатации техники.
Если остались вопросы, задайте их в комментариях после инструкции.
"Загружаем инструкцию", означает, что нужно подождать пока файл загрузится и можно будет его читать онлайн. Некоторые инструкции очень большие и время их появления зависит от вашей скорости интернета.

11
GB
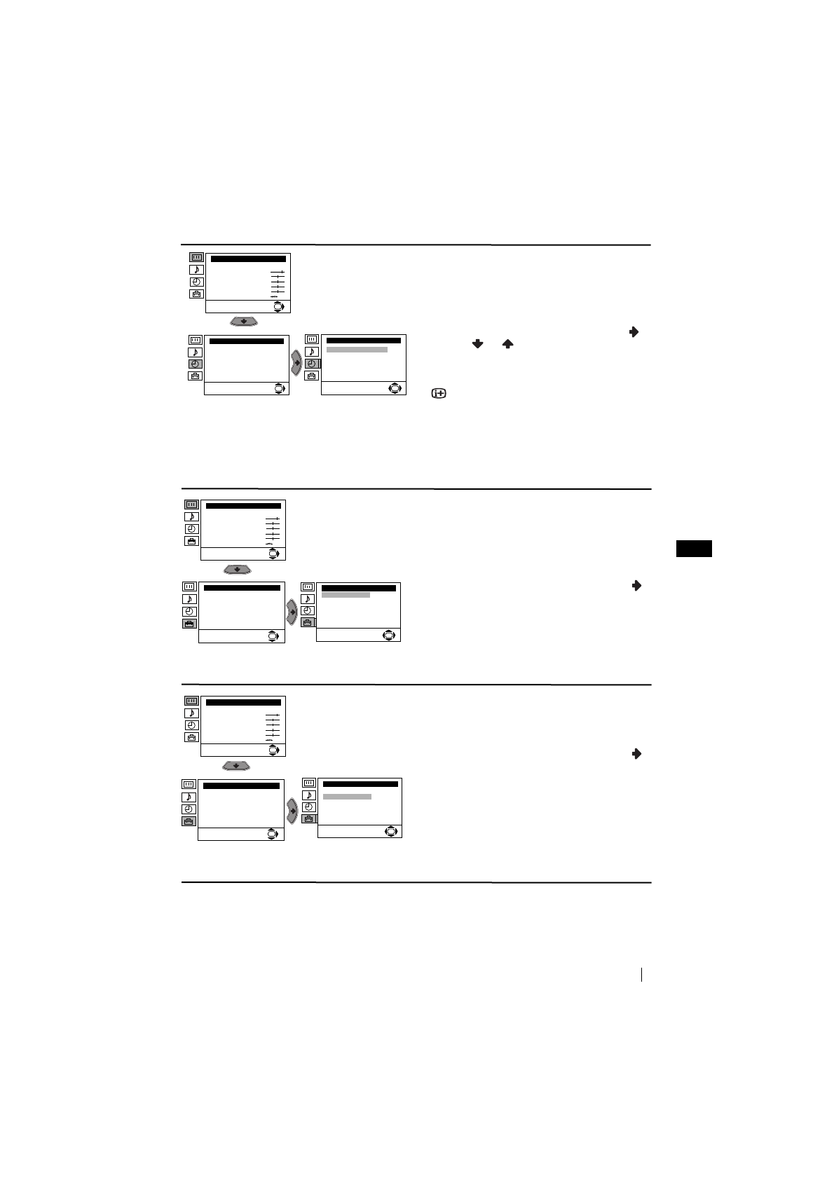
Menu System
SLEEP TIMER
The “Sleep Timer” option in the “Timer” menu
allows you to select a time period for the TV to
switch itself automatically into the standby
mode.
To do this: after selecting the option press
,
then press
or
to set the time period delay
(max. of 4 hours) and finally press
OK
to store.
•
While watching the TV, you can press the
button on the remote control to display the
time
remaining.
•
One minute before the TV switches itself into
standby mode, the time remaining is displayed on
the TV screen automatically.
LANGUAGE / COUNTRY
The “Language/Country” option in the “Set
Up” menu allows you to select the language
that the menus are displayed in. It also allows
you to select the country in which you wish to
operate the TV set.
To do this: after selecting the option, press
and then proceed in the same way as in the
steps 2 and 3 of the section “Switching On the
TV and Automatically Tuning” on page 7.
AUTO TUNING
The “Auto Tuning” option in the “Set Up”
menu allows you to automatically search for
and store all available TV channels.
To do this: after selecting the option, press
and then proceed in the same way as in TV
steps 5 and 6 of the section “Switching On the
TV and Automatically Tuning” on page 8.
Level 1
Level 2
Level 3 / Function
Picture Adjustment
Mode: Personal
Contrast
Brightness
Colour
Sharpness
Hue
Reset
OK
Timer
Sleep Timer: Off
OK
Timer
Sleep Timer: Off
OK
continued...
Picture Adjustment
Mode: Personal
Contrast
Brightness
Colour
Sharpness
Hue
Reset
OK
Set Up
Language/Country
Auto Tuning
Programme Sorting
Progamme Labels
AV Preset
Manual Programme Preset
Detail Set Up
OK
Set Up
Language/Country
Auto Tuning
Programme Sorting
Progamme Labels
AV Preset
Manual Programme Preset
Detail Set Up
OK
Picture Adjustment
Mode: Personal
Contrast
Brightness
Colour
Sharpness
Hue
Reset
OK
Set Up
Language/Country
Auto Tuning
Programme Sorting
Progamme Labels
AV Preset
Manual Programme Preset
Detail Set Up
OK
Set Up
Language/Country
Auto Tuning
Programme Sorting
Progamme Labels
AV Preset
Manual Programme Preset
Detail Set Up
OK
Содержание
- 104 Назначение кнопок на пульте дистанционного управления; Общее описание
- 105 Подключение антенны и видеомагнитофона; Общее описание - Установка; выключение; выключение; видеомагнитофон; Провода для подключения не входят в комплект поставки.
- 106 Включение и автоматическая настройка телевизора; Первое включение телевизора в работу
- 108 Введение и работа с системой меню; Вывод системы меню на экран; Схема меню; Уровень; Резкость; можно изменить только в том случае, если Вы; Цветовой Тон; можно изменять только в системе цвета NTSC (например, видеопленки; Сброс; и нажмите на
- 109 Dolby
- 110 ТАЙМЕР ВЫКЛЮЧЕНИЯ; После этого нажмите; отключения, нажмите на кнопку; АВТОНАСТРОЙКА; продолжeниe
- 112 Повторите все эти шаги для настройки и
- 113 Если Вы захотите отменить эту функцию в
- 116 В этом случае введите другой номер страницы.; Фастекст
- 117 Подключение дополнительных устройств; Подключение видеомагнитофона:; Дополнительная информация
- 118 Подключение внeшнeй звyкoвocпpoизвoдящeй aппapaтypы:; ìcÚaÌoÇÍa; Вы также можете получить звуковой эффект; Использование
- 119 Cписок марок видеомагнитофонов
- 120 Спецификации; Otæezataho b Ncæahnn
- 121 Выявление неисправностей; нарушений качества изображения и звука.; Неисправность













Не получается настроить в ручную цвет и яркость пульт большой никак у вас на картинке а намоем нет лево право ок. Что делать