Телевизоры кинескопные Sony KV-29FQ75K - инструкция пользователя по применению, эксплуатации и установке на русском языке. Мы надеемся, она поможет вам решить возникшие у вас вопросы при эксплуатации техники.
Если остались вопросы, задайте их в комментариях после инструкции.
"Загружаем инструкцию", означает, что нужно подождать пока файл загрузится и можно будет его читать онлайн. Некоторые инструкции очень большие и время их появления зависит от вашей скорости интернета.

16
Použití systému nabídek televizoru:
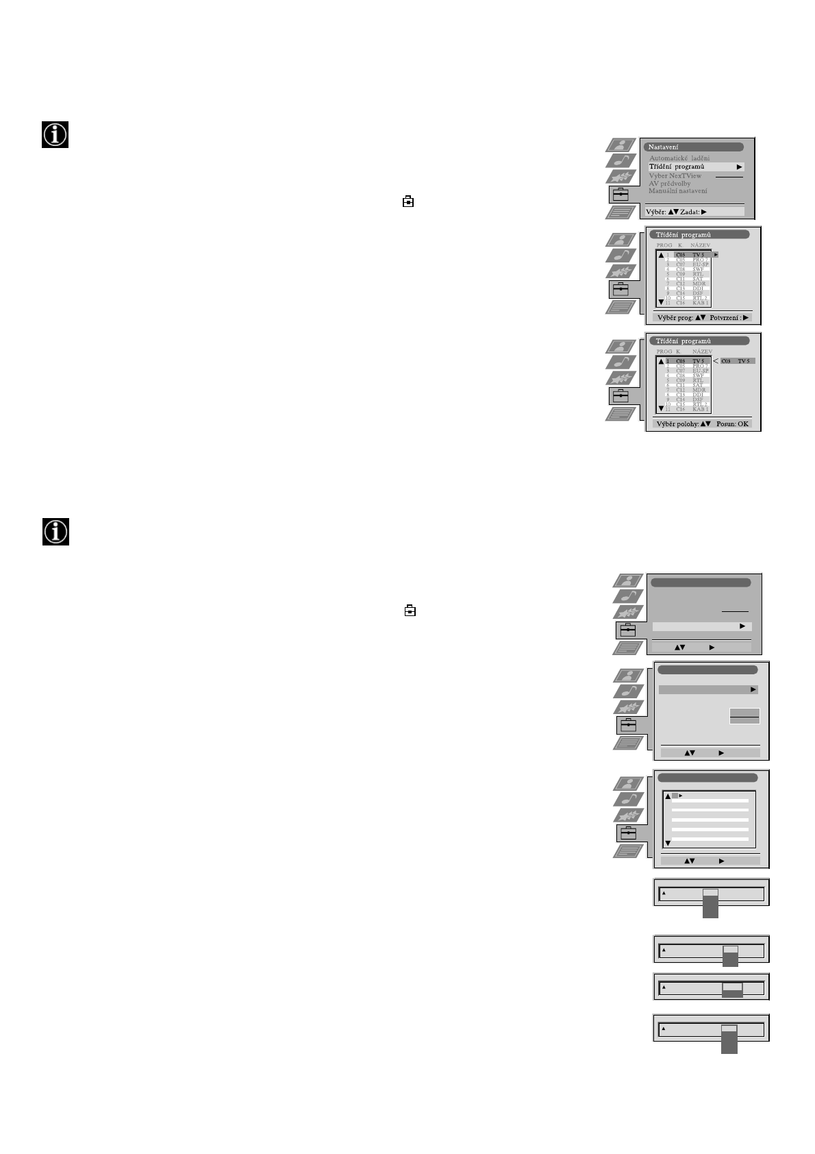
Změna uspořádání televizních kanálů
Po vyladění televizoru můžete pomocí této funkce změnit pořadí jeho kanálů.
1. Stisknutím tlačítka MENU na dálkovém ovladači zobrazte nabídku na obrazovce televizoru.
2. Stisknutím tlačítka
V
zvolte na obrazovce s nabídkou symbol
a potom stisknutím
B
přejděte
do nabídky Nastavení.
3. Stisknutím tlačítka
V
zvolte Třídění programů a potom stisknutím
B
přejděte do nabídky
Třídění programů.
4. Stisknutím tlačítka
v
nebo
V
zvolte kanál, který chcete přemístit a potom pro potvrzení
stiskněte
B
.
5. Stisknutím tlačítka
v
nebo
V
zvolte novou pozici programu (např. PROG 4) pro zvolený kanál a
potom pro potvrzení stiskněte tlačítko OK. Zvolený kanál se nyní přesune na svou novou pozici
programu a ostatní kanály se podle toho také přemístí.
6. Pokud chcete setřídit další kanály, opakujte kroky 4 a 5.
7. Stisknutím tlačítka MENU odstraňte nabídku z televizní obrazovky.
- - - - -
Manuální vyladění televizoru
Televizor jste již automaticky vyladili podle pokynů na začátku této příručky. Tuto operaci však můžete provést
manuálně a přidávat kanály do televizoru jednotlivě.
1. Stisknutím tlačítka MENU na dálkovém ovladači zobrazte nabídku na obrazovce televizoru.
2. Stisknutím tlačítka
V
zvolte na obrazovce s nabídkou symbol
a potom stisknutím
B
přejděte
do nabídky Nastavení.
3. Stisknutím tlačítka
V
zvolte na obrazovce s nabídkou Manuální nastavení a potom stisknutím
B
přejděte do nabídky Manuální nastavení.
4. Stisknutím tlačítka
V
zvolte na obrazovce s nabídkou Ruční ladění a potom stisknutím
B
přejděte do nabídky Ruční ladění.
5. Stisknutím tlačítka
v
nebo
V
zvolte pro daný kanál číslo programu (např. PROGR 1 pro BBC1) a
potom stisknutím
B
zvýrazněte sloupec SKOČ.
6. Stisknutím
v
zvolte Vyp a potom stisknutím
B
zvýrazněte sloupec SYS.
7. Stisknutím tlačítka
v
nebo
V
zvolte systém televizního vysílání (B/G pro západoevropské země
nebo D/K pro východoevropské země) nebo EXT pro zdroj vstupního video signálu (AV1,
AV2,...) a potom stiskněte
B
pro potvrzení.
8. Stisknutím tlačítka
v
nebo
V
zvolte C pro pozemní kanály, S pro kabelové kanály nebo F pro
přímé frekvenční vstupy a potom stiskněte
B
pro potvrzení.
9. Pomocí očíslovaných tlačítek na dálkovém ovladači zvolte nejprve první a potom druhou číslici
čísla K. (kanál) nebo Stisknutím tlačítka
v
nebo
V
vyhledejte další dostupný kanál.
10. Pokud nechcete uložit na zvoleném čísle programu tento kanál, pokračujte stisknutím tlačítka
v
nebo
V
ve vyhledávání požadovaného kanálu.
11. Jestliže je to kanál, který chcete uložit, stiskněte tlačítko OK.
12. Pokud chcete uložit další kanály, opakujte kroky 5 - 11 a potom stisknutím tlačítka MENU
odstraňte tuto nabídku z obrazovky televizoru.
PROG
SYS
Vyp
SKOČ
NÁZEV
1
B/G
Manuální nastavení
Výběr:
Zadat:
Jazyk/Země
Ruční ladění
Rozšířené předvolby
RGB Nastavení
Pootočení obrazu
Osobní ID číslo
Ukázka
Nastavení
Automatické ladění
Třidění programů
Vyber Next View
AV předvolby
Manuální nastavení
Výběr:
Zadat:
Ruční ladění
Výběr:
Zadat:
PROG
K.
SYS
SKOČ
NÁZEV
C09
C10
ARD
BBC
B/G
B/G
Vyp
Vyp
Vyp
Vyp
Vyp
Vyp
Vyp
Vyp
Vyp
Vyp
Vyp
1
2
3
4
5
6
7
8
9
10
11
PROG
K.
SYS
Vyp
SKOČ
NÁZEV
1
B/G
D/K
IRL
EXT
K.
C
S
F
PROG
SYS
Vyp
SKOČ
NÁZEV
1
B/G
K.
03
NAJDI
PROG
K.
SYS
Vyp
SKOČ
NÁZEV
0
EXT
AV1
AV2
AV3
AV4
AV1
O
- - - - - - -
- - - - -












