Телевизоры кинескопные Sony KV-29FQ65K - инструкция пользователя по применению, эксплуатации и установке на русском языке. Мы надеемся, она поможет вам решить возникшие у вас вопросы при эксплуатации техники.
Если остались вопросы, задайте их в комментариях после инструкции.
"Загружаем инструкцию", означает, что нужно подождать пока файл загрузится и можно будет его читать онлайн. Некоторые инструкции очень большие и время их появления зависит от вашей скорости интернета.

15
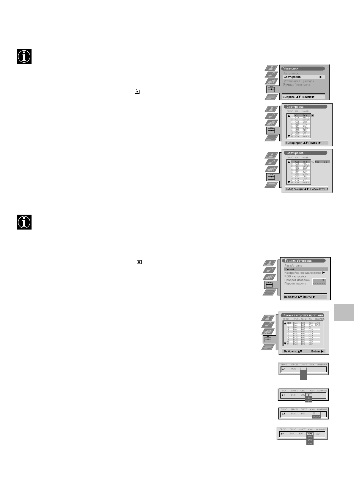
Использование системы меню:
Перераспределение телевизионных каналов
Настроив телевизор, можно использовать эту функцию для изменения порядка каналов в телевизоре.
1. Нажмите клавишу MENU на пульте дистанционного управления, чтобы вывести меню на экран
телевизора.
2. Нажмите клавишу
V
, чтобы выделить символ
на экранном меню, затем нажмите
B
, чтобы ввести
меню "Установки".
3. Нажмите клавишу
V
, чтобы выделить функцию "Сортировка программ", затем нажмите
B
, чтобы
ввести меню "Сортировка программ".
4. Нажмите клавиши
v
или
V
, чтобы выделить канал, который нужно передвинуть, затем нажмите
B
для подтверждения.
5. Нажмите клавиши
v
или
V
, чтобы выделить новое положение программы (напр. ПРОГ 4)
выделенного канала, затем для подтверждения нажмите клавишу ОК. Выделенный канал
перемещается в новое программное положение, и соответственно перемещаются и другие каналы.
6. Повторите операции 4 и 5, если нужно переместить другие каналы.
7. Нажмите клавишу MENU, чтобы убрать меню с экрана телевизора.
Программ
Программ
Ручная настройка телевизора
Вы уже выполнили автоматическую настройку телевизора по инструкциям в начале руководства. Можно также
выполнить эту операцию вручную, добавляя по одному телевизионные каналы.
1. Нажмите клавишу MENU на пульте дистанционного управления, чтобы вывести меню на экран
телевизора.
2. Нажмите клавишу
V
, чтобы выделить символ
на экранном меню, затем нажмите
B
, чтобы
ввести меню "Yстановки".
3. Нажмите клавишу
V
, чтобы выделить функцию "Ручная Yстановкa" на экранном меню , затем
нажмите
B
, чтобы ввести меню "Ручная Yстановкa".
4. Нажмите клавишу
V
, чтобы выделить функцию "Ручная настройка программ" на экранном меню
, затем нажмите
B
, чтобы ввести меню "Ручная настройка программ".
5. Нажмите клавишу
v
или
V
, чтобы выделить номер программы для вашего канала (напр. ПРОГР 1
для BBC1), затем нажмите
B
, чтобы выделить колонку "Пропуск".
6. Нажмите
v
, чтобы выделить "OFF", затем нажмите
B
, чтобы выделить колонку "СИСТ".
7. Нажмите клавишу
v
или
V
, чтобы выделить систему телевещения (B/G для западноевропейских
стран, D/K для восточноевропейских стран) или "EXT" для входного видеосигнала (AV1, AV2, ...) ,
затем нажмите
B
для подтверждения.
8. Нажмите клавишу
v
или
V
, чтобы выбрать "С" для наземных каналов, "S" для кабельных каналов
или "F" для прямых частотных вводов, затем нажмите
B
для подтверждения.
9. Выделите первый номер "KAH" (канал) затем второй номер "KAH" цифровыми клавишами на
пульте дистанционного управления или
Нажмите
V
для поиска следующего имеющегося канала.
10. Если вы не хотите сохранить этот канал на выбранном вами номере программы, нажмите клавишу
v
или
V
для продолжения поиска нужного канала.
11. При желании сохранить этот канал нажмите клавишу ОК.
12. Повторите операции 5-11, если нужно сохранить несколько каналов, затем нажмите клавишу
MENU, чтобы убрать меню с экрана телевизора.
B/G
D/K
IRL
EXT
настройка программ












