Телевизоры кинескопные Sony KV-25FX30K - инструкция пользователя по применению, эксплуатации и установке на русском языке. Мы надеемся, она поможет вам решить возникшие у вас вопросы при эксплуатации техники.
Если остались вопросы, задайте их в комментариях после инструкции.
"Загружаем инструкцию", означает, что нужно подождать пока файл загрузится и можно будет его читать онлайн. Некоторые инструкции очень большие и время их появления зависит от вашей скорости интернета.

16
M enu Syst em
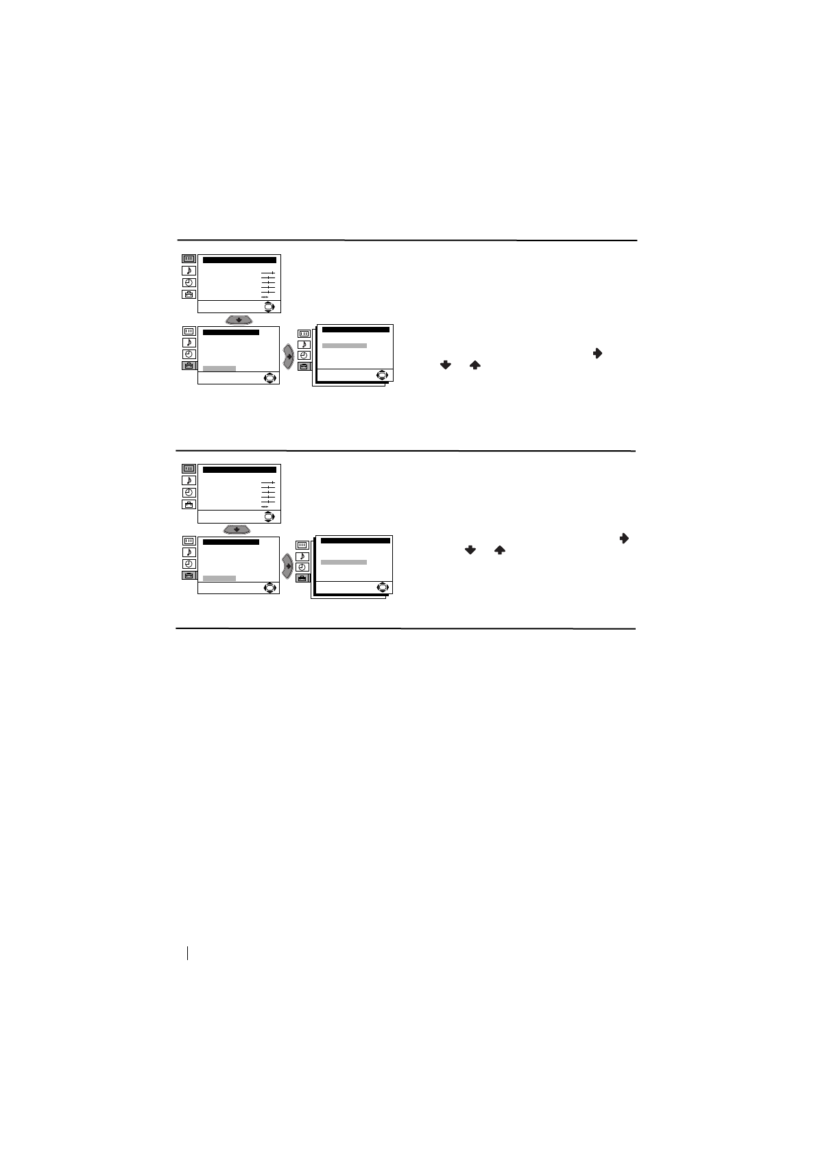
RGB CENTRING
When connecting an RGB source, such as a
“PlayStation”, you may need to readjust the
horizontal position of the picture. In that case,
you can readjust it through the “RGB Centring”
option in the “Detail Set Up”.
To do this: while watching an RGB source select
the “RGB Centring” option and press
. Then
press
or
to adjust the centre of the
picture between –10 and +10. Finally press
OK
to confirm and store.
PICTURE ROTATION
Because of the earth’s magnetism, the picture
might slant. In this case, you can correct the
picture slant by using the option “Picture
Rotation” in the “Detail Set Up” menu.
To do this: after selecting the option, press
.
Then press
or
to correct any slant of the
picture between -5 and +5 and finally press
OK
to store.
Level 1
Level 2
Level 3 / Funct ion
Picture Adjustment
Mode: Personal
Contrast
Brightness
Colour
Sharpness
Hue
Reset
OK
Set Up
Language/Country
Auto Tuning
Programme Sorting
Progamme Labels
AV Preset
Manual Programme Preset
Detail Set Up
OK
Detail Set Up
Noise Reduction:
AV2 Output:
RGB Centring:
Picture Rotation:
Auto
TV
0
0
OK
Picture Adjustment
Mode: Personal
Contrast
Brightness
Colour
Sharpness
Hue
Reset
OK
Set Up
Language/Country
Auto Tuning
Programme Sorting
Progamme Labels
AV Preset
Manual Programme Preset
Detail Set Up
OK
Detail Set Up
Noise Reduction:
AV2 Output:
RGB Centring:
Picture Rotation:
Auto
TV
0
0
OK
Содержание
- 105 Когда MENU выключено:; Назначение кнопок на пульте дистанционного управления; Общее описание
- 106 Общее описание - Установка; выключение
- 107 Включение и автоматическая настройка телевизора; Первое включение телевизора в работу
- 109 Введение и работа с системой меню; Вывод системы меню на экран; Схема меню; Уровень; Резкость; можно изменить только в том случае, если Вы; Цветовой Тон; можно изменять только в системе цвета NTSC (например, видеопленки; Сброс; и нажмите на
- 111 ТАЙМЕР ВЫКЛЮЧЕНИЯ; После этого нажмите; отключения, нажмите на кнопку; АВТОНАСТРОЙКА; продолжeниe
- 113 Повторите все эти шаги для настройки и
- 114 Если Вы захотите отменить эту функцию в
- 115 ШУMOПОНИЖЕНИЕ
- 117 В этом случае введите другой номер страницы.; Фастекст
- 118 Подключение дополнительных устройств; Подключение видеомагнитофона:; Дополнительная информация
- 119 Подключение внeшнeй звyкoвocпpoизвoдящeй aппapaтypы:; Использование дополнительных устройств
- 120 Спецификации; Допoлнитeльнaя инфомация; Otæezataho b Ncæahnn
- 121 Выявление неисправностей; Неисправность; уcтpoйcтвo