Телевизоры кинескопные Sony KV-14LM1K - инструкция пользователя по применению, эксплуатации и установке на русском языке. Мы надеемся, она поможет вам решить возникшие у вас вопросы при эксплуатации техники.
Если остались вопросы, задайте их в комментариях после инструкции.
"Загружаем инструкцию", означает, что нужно подождать пока файл загрузится и можно будет его читать онлайн. Некоторые инструкции очень большие и время их появления зависит от вашей скорости интернета.

4
S
RM 887
PROGR
MENU
1
4
7
2
5
8
0
3
6
9
K
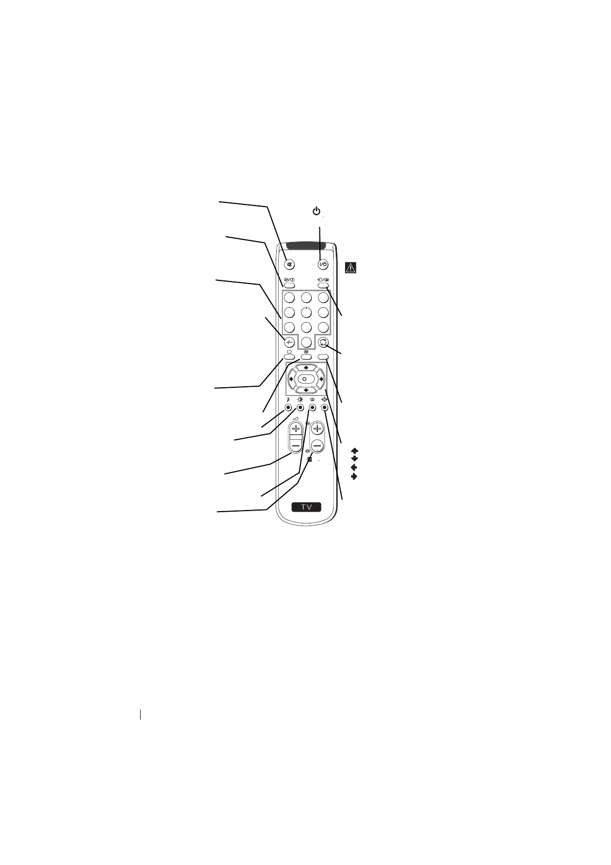
Overview of Remote Control Buttons
Overview
Muting the Sound
Press to mute TV sound. press again 
to restore the sound.
Displaying on Screen 
information
Press to display all on-screen 
indications. Press again to cancel.
Selecting channels
Press to select channels.
For double-digit programme 
numbers, e.g. 23, press -/-- first, then 
the buttons 2 and 3.
If you enter an incorrect first digit, 
this should be corrected by entering 
another digit (0-9) and then selecting 
-/-- button again to enter the 
programme number of your choice.
Selecting TV mode
Press to switch off video input.
This button does not work on this set.
This button does not work on this set.
Selecting Picture mode
Press repeatedly to change the 
picture mode.
Adjusting TV volume
Press to adjust the volume of the TV.
This button does not work on this set.
Selecting channels
Press to select the next or previous 
channel.
To Temporarily Switch Off TV
Press to temporarily switch off TV (the standby 
indicator
on TV lights up). Press again to switch on
TV from standby mode.
To save energy we recommend 
switching off completely when TV is not 
in use.
After 15 minutes without a 
signal and without any button
being pressed, the TV switches
automatically into standby
mode.
Selecting input source
Press repeatedly until the desired
input symbol of the source appears 
on the TV screen.
Back to the channel last 
watched
Press to watch the last channel 
selected (watched for at least 5
seconds).
Displaying the menu system
Press to display the menu on the TV 
screen. Press again to remove the 
menu display from the TV screen.
Menu selection
Scroll Up
Scroll Down
Previous menu or selection
Next menu or selection
OK
confirms your selection
Selecting Screen format
Press to view programmes in 16:9 
mode. Press again to return to 4:3 
mode.
Содержание
- 36 Назначение кнопок на пульте дистанционного управления; Нажать для выбора каналов.; Если в течение 15 минут нет
 - 37 специально установленные для этого контейнеры.; Общее описание - Установка; выключение
 - 38 Установка
 - 39 Включение и автоматическая настройка телевизора; Первое включение телевизора в работу
 - 40 Телевизор готов к работе.
 - 41 Введение и работа с системой меню; Вывод системы меню на экран; Схема меню; Уровень; четкость; можно изменить только в том случае, если Вы выбрали; Цветовой тон; можно изменять только в системе цвета NTSC (например, видеопленки; Перезагрузка; и нажмите на
 - 42 ТАЙМЕР ВЫКЛЮЧЕНИЯ; За одну минуту до временного; ТАЙМЕР ВКЛЮЧЕНИЯ; Индикатор; ЯЗЫК
 - 43 АВТОНАСТРОЙКА
 - 46 RGB СВЕДЕНИЕ; нажмите; для
 - 47 Подключение дополнительных устройств; Подключение; Использование дополнительных устройств; Дополнительная информация
 - 48 Спецификации; Допoлнитeльнaя инфомация; Otæezataho b Ncæahnn
 - 49 Выявление неисправностей; Неисправность
 
 
 
 
 
 
 
 
 
 
 
 
 
 
 
 
 
 
 
 
 
 
 
 
 
 
 
 
 
 
 
 
 
 
 
 
 
 
 
 
 
 
 
 
 
 
 
 
 
 
 











