Страница 3 - СОДЕРЖАНИЕ
3 TECH MIG 350 P СОДЕРЖАНИЕ 1. УКАЗАНИЯ ПО ИСПОЛЬЗОВАНИЮ РУКОВОДСТВА ПО ЭКСПЛУАТАЦИИ 4 2. ДЕКЛАРАЦИЯ СООТВЕТСТВИЯ 4 3. ОБЩЕЕ ОПИСАНИЕ 5 4. МЕРЫ БЕЗОПАСНОСТИ 4.1. Условия эксплуатации оборудования4.2. Меры безопасности при проведении сварочных работ4.3. Пожаровзрывобезопасность4.4. Меры безопасности ...
Страница 4 - использованием оборудования.; ОБРАТИТЬ ВНИМАНИЕ! Особенности, требующие повышенного внимания; ДЕКЛАРАЦИЯ СООТВЕТСТВИЯ; *возможно получение сертификата НАКС за дополнительную плату
4 1. УКАЗАНИЯ ПО ИСПОЛЬЗОВАНИЮ РУКОВОДСТВА ПО ЭКСПЛУАТАЦИИ Пожалуйста, внимательно ознакомьтесь с данным руководством перед установкой и использованием оборудования. Руководство является неотъемлемой частью аппарата и должно сопровождать его при изменении местоположения или перепродаже. Информация, ...
Страница 6 - ВНИМАНИЕ! Не используйте данные аппараты для размораживания; МЕРЫ БЕЗОПАСНОСТИ ПРИ ПРОВЕДЕНИИ СВАРОЧНЫХ РАБОТ
6 4. МЕРЫ БЕЗОПАСНОСТИ При неправильной эксплуатации оборудования процесс сварки представляет собой опас- ность для сварщика и людей, находящихся в пределах или рядом с рабочей зоной. При эксплуатации оборудования и последующей его утилизации необходимо соблюдать требования действующих государственн...
Страница 7 - МЕРЫ БЕЗОПАСНОСТИ ПРИ РАБОТЕ С ГАЗОВЫМИ БАЛЛОНАМИ
7 TECH MIG 350 P • Не надевайте контактные линзы, интенсивное излучение дуги может привести к их склеиванию с роговицей. • Процесс сварки сопровождается поверхностным шумом, при необходимости исполь- зуйте средства защиты органов слуха. • Помните, что заготовка и оборудование сильно нагреваются в пр...
Страница 8 - ВНИМАНИЕ! При поражении электрическим током прекратите сварку,
8 • Баллоны должны находиться на значительном расстоянии от места сварки, чтобы избе- жать воздействия на них пламени или электрической дуги, а также не допустить попадания на них брызг расплавленного металла. • Закрывайте вентиль баллона при завершении сварки.• При использовании редукторов и другог...
Страница 9 - ВНИМАНИЕ! Несмотря на защиту корпуса аппарата от попадания влаги,
9 TECH MIG 350 P • Не закручивайте сварочные провода вокруг себя или вокруг оборудования, будьте особенно внимательны при использовании кабелей большой длины. • Не касайтесь одновременно силового кабеля электрододержателя и провода заземле- ния. • Заземление свариваемых деталей эффективно сокращает ...
Страница 10 - ТЕХНИЧЕСКИЕ ХАРАКТЕРИСТИКИ; Наименование параметра
10 5. ТЕХНИЧЕСКИЕ ХАРАКТЕРИСТИКИ Наименование параметра Единица измерения TECH MIG 350 P (N316) Параметры сети В; Гц 380±15; 50 Потребляемая мощность, MIG/MMA кВА 14,6/15,7 Потребляемый ток А 23 Сварочный ток, MIG/MMA А 30-350/10-350 Напряжение дуги, MIG/MMA В 17-31,5/20,4-34 Сварочный ток при ПН 10...
Страница 11 - На
11 TECH MIG 350 P 6. ОПИСАНИЕ АППАРАТА На рисунке 6.1 показан вид спереди. 1. Источник питания2. Панельная розетка «+»3. Панельная розетка «-»4. Разъем подключения подающего механизма 5. Кулер6. Заливная горловина7. Предохранитель8. Подающий механизм9. Разъем подключения горелки EURO10. Разъем подкл...
Страница 12 - ВНИМАНИЕ! Источник питания имеет возможность подключения подаю-
12 На рисунке 6.3 показана задняя панель. 1. Тумблер включения2. Предохранитель3. Розетка 36 В4. Сетевой кабель5. Разъем подключения подающего механизма 6. Панельная розетка «+»7. Кнопка переключения охлаждения горелки Рис. 6.3. Задняя панель. ВНИМАНИЕ! Источник питания имеет возможность подключения...
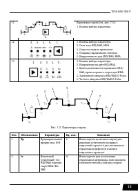
Страница 13 - ОПИСАНИЕ ФУНКЦИОНИРОВАНИЯ
13 TECH MIG 350 P 7. ОПИСАНИЕ ФУНКЦИОНИРОВАНИЯ На рисунке 7.1 показана передняя панель источника питания. Рис. 7.1. Панель. Поз. Символ Описание 1 Регулятор параметров. 2 Кнопка выбора свариваемого металла. 3 Кнопка выбора защитного газа. 4 Кнопка выбора диаметра сварочной проволоки. 5 2 3 4 11 1 7 ...
Страница 19 - панели сварочного аппарата.; ВНИМАНИЕ! Для горелок с водяным охлаждением при отрицательных
19 TECH MIG 350 P Рис. 8.2. Схема подключения к сети. 1. Выключатель. 2. Предохранители. 3. Сетевой кабель источника питания: а) черный - подключение фаза; б) коричневый - подключение фаза; в) серый - подключение фаза; г) желто-зеленый заземляющий кабель (земля, не соединять с нулевым проводом). 2. ...
Страница 22 - составу основного металла.; Данные рекомендации носят ознакомительный характер.
22 процесс и уменьшает вероятность прожига металла (см. рис. 8.6). Рис. 8.6. Сварка угловых швов. Сварочную проволоку следует выбирать максимально приближенную к химическому составу основного металла. Таблица 8.1. Выбор сварочной проволоки. Наиболее часто используемые марки стали Сварочная проволока...
Страница 23 - ПОДГОТОВКА АППАРАТА К РАБОТЕ ДЛЯ MMA СВАРКИ; ВНИМАНИЕ! При неплотном подсоединении кабелей возможны выгора-
23 TECH MIG 350 P 9. ПОДГОТОВКА АППАРАТА К РАБОТЕ ДЛЯ MMA СВАРКИ Схема подключения оборудования для сварки покрытыми электродами показана на рисунке 9.1. Рис. 9.1. Схема подключения оборудования. 1. Электрододержатель. 2. Клемма заземления. 3. Сварочный аппарат. 1. На передней панели сварочного аппа...
Страница 25 - дуги вплоть до частых кратковременных замыканий.; прямая полярность; — заготовка подсоединена к разъему «-», а электрододержатель
25 TECH MIG 350 P Рис. 9.3. Схема образования дуги: А) короткое замыкание; Б) образование дуги; В) правильное положение электрода при сварке, где: 1 - металл, 2 - электрическая дуга, 3 - электрод, Lд - расстояние от электрода до поверхности сварочной ванны. Длина дуги при сварке покрытым электродом ...
Страница 27 - ТЕХНИЧЕСКОЕ ОБСЛУЖИВАНИЕ; сти. Специалисты должны иметь допуски к проведению таких работ.
27 TECH MIG 350 P 10. ТЕХНИЧЕСКОЕ ОБСЛУЖИВАНИЕ ВНИМАНИЕ! Для выполнения технического обслуживания требуется обладать про- фессиональными знаниями в области электрики и знать правила техники безопасно- сти. Специалисты должны иметь допуски к проведению таких работ. ВНИМАНИЕ! Отключайте аппарат от сет...
Страница 28 - УСТРАНЕНИЕ НЕПОЛАДОК; ществляться только квалифицированным техническим персоналом.
28 11. УСТРАНЕНИЕ НЕПОЛАДОК Внимание! Ремонт данного сварочного оборудования в случае его поломки может осу- ществляться только квалифицированным техническим персоналом. Неисправность Причина и методы устранения Аппарат не включается (индикаторы негорят). а) Нет напряжения сети или обрыв в сетевом к...