Сварочное оборудование Сварог REAL TIG 200 P AC/DC (E20101) - инструкция пользователя по применению, эксплуатации и установке на русском языке. Мы надеемся, она поможет вам решить возникшие у вас вопросы при эксплуатации техники.
Если остались вопросы, задайте их в комментариях после инструкции.
"Загружаем инструкцию", означает, что нужно подождать пока файл загрузится и можно будет его читать онлайн. Некоторые инструкции очень большие и время их появления зависит от вашей скорости интернета.

26
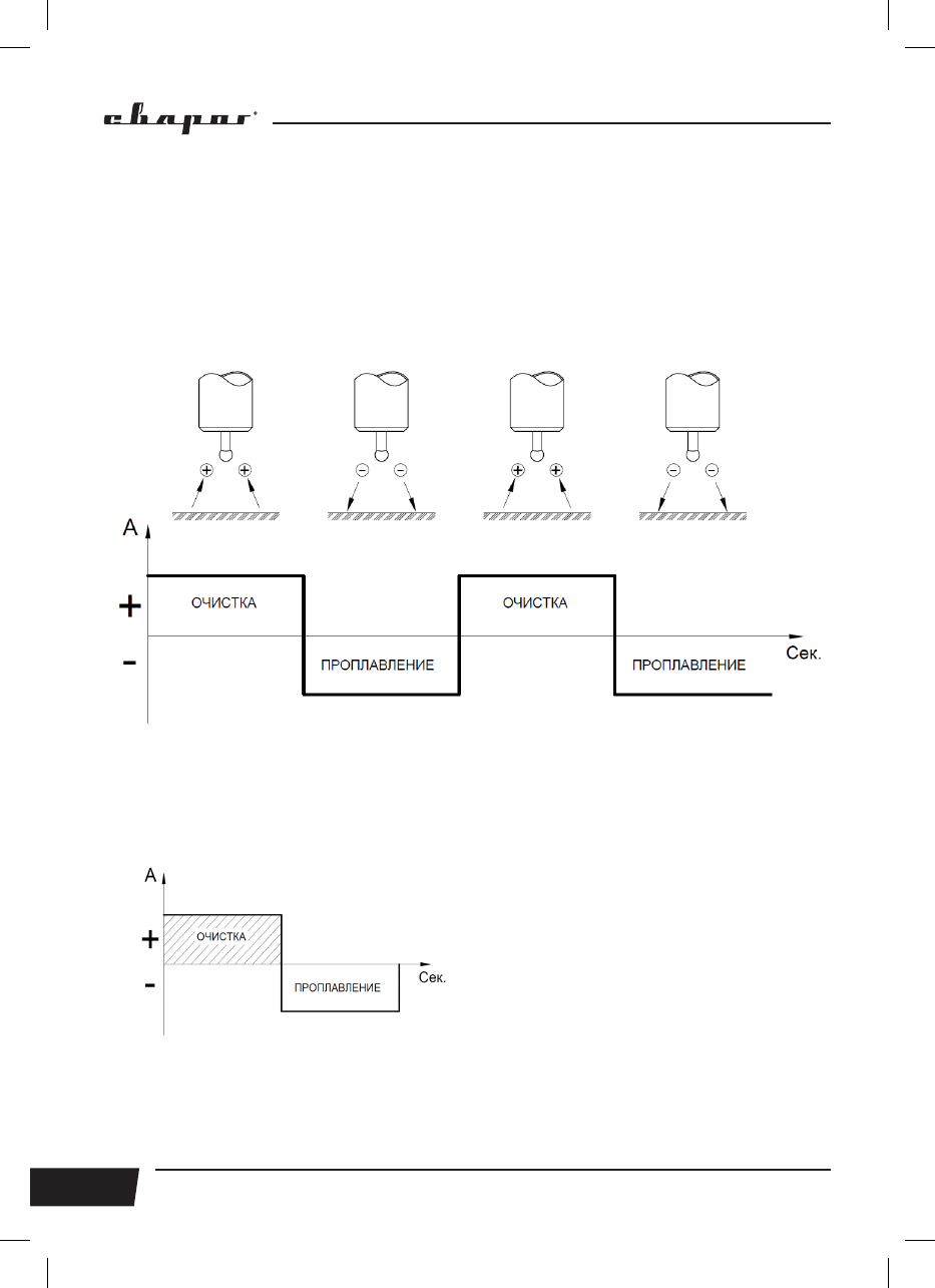
Особенности сварки алюминия:
Основной трудностью при сварке алюминия и его сплавов является присутствие окисной
пленки Al
2
O
3
, имеющей температуру плавления 2044 °C. В то время как температура плавле-
ния самого алюминия составляет около 660 °C.
Аргонодуговая сварка переменным током (TIG AC) позволяет сваривать алюминий и его
сплавы. Переменный ток имеет положительную «+» и отрицательную «-» полуволну (см.
рис.8.12).
Рис. 8.12. Полуволна переменного тока.
Для сварки алюминия используются два параметра: баланс полярности и частота пе-
ременного тока, которые позволяют получить сварное соединение нужного качества (см.
табл. 8.1).
Баланс полярности у аппаратов выставляется
по положительной полуволне «+».
Если у вас возникли затруднения в выбо-
ре баланса полярности, то в большинстве
случаев баланс полярности выбирается в
диапазоне 50-65%.
Содержание
- 4 использованием оборудования.; ОБРАТИТЬ ВНИМАНИЕ! Особенности, требующие повышенного внимания; ДЕКЛАРАЦИЯ СООТВЕТСТВИЯ
- 7 ВНИМАНИЕ! Не используйте данные аппараты для размораживания; МЕРЫ БЕЗОПАСНОСТИ ПРИ ПРОВЕДЕНИИ СВАРОЧНЫХ РАБОТ
- 8 МЕРЫ БЕЗОПАСНОСТИ ПРИ РАБОТЕ С ГАЗОВЫМИ БАЛЛОНАМИ
- 9 ВНИМАНИЕ! При поражении электрическим током прекратите сварку,
- 10 ВНИМАНИЕ! Несмотря на защиту корпуса аппарата от попадания влаги,
- 11 ТЕХНИЧЕСКИЕ ХАРАКТЕРИСТИКИ; Наименование параметра
- 13 ОПИСАНИЕ ФУНКЦИОНИРОВАНИЯ; На
- 15 - позволяет зажечь TIG дугу без касания к изделию.; ° и начинайте сварку.
- 19 ПОДГОТОВКА АППАРАТА К РАБОТЕ ДЛЯ TIG СВАРКИ; Газовый шланг и редуктор не входят в стандартную комплектацию.
- 20 нием не входят в стандартную комплектацию.
- 21 надежность соединения кабеля и сетевой розетки.
- 26 Особенности сварки алюминия:; пленки Al; Если у вас возникли затруднения в выбо-
- 30 составу основного металла.
- 32 Данные рекомендации носят ознакомительный характер.
- 33 ПОДГОТОВКА АППАРАТА К РАБОТЕ ДЛЯ MMA СВАРКИ; Электрододержатель не входит в стандартную комплектацию.
- 37 — заготовка подсоединена к разъему «-», а электрододержатель
- 38 талла при сварке в нижнем положении:
- 39 ВЫБОР РАЗДЕЛКИ КРОМОК СВАРИВАЕМОГО МЕТАЛЛА
- 43 - кратчайшее расстояние от поверхности одной из свариваемых
- 45 уменьшить
- 48 ТЕХНИЧЕСКОЕ ОБСЛУЖИВАНИЕ; ВНИМАНИЕ! Отключайте аппарат от сети при выполнении любых работ; Общие рекомендации
- 49 УСТРАНЕНИЕ НЕПОЛАДОК; ществляться только квалифицированным техническим персоналом.
Характеристики
Остались вопросы?Не нашли свой ответ в руководстве или возникли другие проблемы? Задайте свой вопрос в форме ниже с подробным описанием вашей ситуации, чтобы другие люди и специалисты смогли дать на него ответ. Если вы знаете как решить проблему другого человека, пожалуйста, подскажите ему :)