Сварочное оборудование Сварог REAL SMART MIG 200 (N2A5) - инструкция пользователя по применению, эксплуатации и установке на русском языке. Мы надеемся, она поможет вам решить возникшие у вас вопросы при эксплуатации техники.
Если остались вопросы, задайте их в комментариях после инструкции.
"Загружаем инструкцию", означает, что нужно подождать пока файл загрузится и можно будет его читать онлайн. Некоторые инструкции очень большие и время их появления зависит от вашей скорости интернета.

69
REAL SMART MIG 200
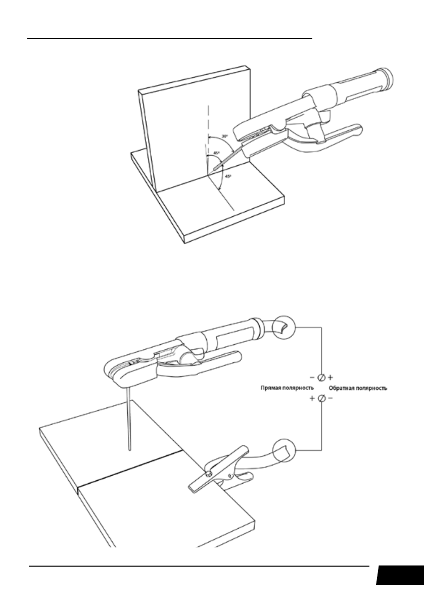
Углы наклона электрода
при сварке углового
соединения.
Рис. 12.5. Угол наклона электрода.
12.2. СМЕНА ПОЛЯРНОСТИ
Существует два способа подключения сварочного оборудования для работы на постоян-
ном токе (См. рис 12.6).
Рис.12.6. Способы подключения.
Содержание
- 5 пользованием оборудования.; ОБРАТИТЬ ВНИМАНИЕ! Особенности, требующие повышенного внимания; ДЕКЛАРАЦИЯ СООТВЕТСТВИЯ
- 6 одном из ведущих мировых производителей.
- 7 позволяет использовать аппарат для широкого перечня задач.; Параметры для ММА сварки:
- 8 подзарядки батарей или аккумуляторов, запуска двигателей.; МЕРЫ БЕЗОПАСНОСТИ ПРИ ПРОВЕДЕНИИ СВАРОЧНЫХ РАБОТ
- 9 МЕРЫ БЕЗОПАСНОСТИ ПРИ РАБОТЕ С ГАЗОВЫМИ БАЛЛОНАМИ; дотвращения их падения.
- 11 ВНИМАНИЕ! Несмотря на защиту корпуса аппарата от попадания влаги,
- 12 ТЕХНИЧЕСКИЕ ХАРАКТЕРИСТИКИ; Наименование параметра
- 13 На рисунке 6.1 показан вид аппарата спереди и сзади.
- 15 ОПИСАНИЕ ФУНКЦИОНИРОВАНИЯ; На рисунке 7.1 показана передняя панель аппарата.
- 16 На рисунке 7.2 показан экран параметров аппарата.
- 20 Для выхода из меню пользователя
- 21 MIG
- 22 Дожигание проволоки:; регулирует вылет проволоки относительно сварочного наконеч-
- 23 поломки оборудования.; ВНИМАНИЕ! Не переносите сварочный аппарат грузоподъёмными меха-; ПОРЯДОК УСТАНОВКИ ОБОРУДОВАНИЯ ОТ СТЕН; ухудшить охлаждение и уменьшить ПН аппарата.
- 24 ПОРЯДОК УСТАНОВКИ ОБОРУДОВАНИЯ НА ПОВЕРХНОСТИ; ВНИМАНИЕ! Не превышайте угол наклона в 15 ° во избежание опроки-; ОСНОВНЫЕ ПРАВИЛА ПОДКЛЮЧЕНИЯ ОБОРУДОВАНИЯ К; Правильно
- 25 Подсоедините сетевой кабель к элек-
- 26 Артикул
- 27 ВНИМАНИЕ! При неплотном подсоединении кабелей возможны выгора-
- 31 Механизм подачи проволоки показан на рисунке 9.12.
- 32 ПОРЯДОК ЗАПРАВКИ СВАРОЧНОЙ ПРОВОЛОКИ
- 36 Не допускайте перекос дверцы во избежание поломки петель.
- 37 выбирается в; Индуктивность
- 39 и FCAW СВАРКИ; проволока – горелка подсоединена в разъём «-».
- 40 Краткое обозначение способов сварки:; СМЕНА ПОЛЯРНОСТИ
- 41 ГОРЕЛКА ДЛЯ ПОЛУАВТОМАЧЕСКОЙ СВАРКИ; локи от сварочного аппарата к свариваемому изделию.; ВНИМАНИЕ! Не превышайте ПН горелки во избежание ее перегрева.; ние
- 42 РАСХОДНЫЕ МАТЕРИАЛЫ ДЛЯ СВАРОЧНЫХ ГОРЕЛОК
- 44 ходимо заменить на тефлоновый.; СМЕНА СТАЛЬНОГО НАПРАВЛЯЮЩЕГО КАНАЛА; Открутите сварочный
- 46 Канал поставляется с запасом по длине.; СМЕНА ТЕФЛОНОВОГО НАПРАВЛЯЮЩЕГО КАНАЛА
- 54 ВЛИЯНИЕ ВЫЛЕТА ПРОВОЛОКИ НА ФОРМУ СВАРОЧНОГО ШВА
- 62 Включите сварочный аппарат
- 64 ПАМЯТКА ПЕРЕД НАЧАЛОМ РАБОТЫ ДЛЯ ММА СВАРКИ
- 65 ОБЩИЕ РЕКОМЕНДАЦИИ ДЛЯ ММА СВАРКИ; Данные рекомендации носят ознакомительный характер.; • касанием электрода впритык и отведением его вверх
- 68 дуги вплоть до частых кратковременных замыканий.
- 70 дована обратная полярность.; При сварке на постоянном токе также следует учитывать эффект; электромагнитного; электрододержателя и обратный кабель.; белей с целью уменьшения падения напряжения на кабелях.; пользования кабелей 3 – 5 метровой длины.
- 72 ВЫБОР ПОКРЫТОГО ЭЛЕКТРОДА И РЕЖИМОВ СВАРКИ; ла при сварке в нижнем положении показана в таблице 12.2.
- 73 ПОДГОТОВКА АППАРАТА ДЛЯ TIG LIFT СВАРКИ; При неплотном подсоединении кабелей возможны выгорания
- 76 ПАМЯТКА ПЕРЕД НАЧАЛОМ РАБОТЫ ДЛЯ TIG Lift СВАРКИ
- 77 ОБЩИЕ РЕКОМЕНДАЦИИ ДЛЯ TIG LIFT СВАРКИ; Наименование показателя; и другие смеси газов.
- 80 РАСХОДНЫЕ МАТЕРИАЛЫ ДЛЯ СВАРОЧНЫХ ГОРЕЛОК; чения шва необходимого качества.; В таблице представлены наиболее часто используемые позиции
- 82 ВОЛЬФРАМОВОГО ЭЛЕКТРОДА
- 84 мм
- 86 Способ поджига; касанием; выполняется по аналогии с покрытым электродом. При очень; от сопла горелки; – наиболее простой способ поджига сварочной дуги
- 87 от присадочного прутка; используется, если предъявляются повышенные; Способ поджига; используется, если предъявляются повышенные
- 88 ОСОБЕННОСТИ ПОЗИЦИОНИРОВАНИЯ СВАРОЧНОЙ ГОРЕЛКИ; При аргонодуговой сварке также следует не забывать про противо-
- 91 ЭЛЕКТРОДА И РЕЖИМОВ СВАРКИ; составу основного металла.
- 93 ВЫБОР РАЗДЕЛКИ КРОМОК СВАРИВАЕМОГО МЕТАЛЛА
- 97 – кратчайшее расстояние от поверхности одной из свариваемых
- 98 ПРОБЛЕМЫ И ИХ РЕШЕНИЯ ДЛЯ MIG/MAG И MMA СВАРКИ
- 102 КОНТРОЛЬ КАЧЕСТВА СВАРНОГО СОЕДИНЕНИЯ; собами, не прибегая к лабораторным испытаниям.
- 103 ПРОВЕРКА СОЕДИНЕНИЯ С ПОМОЩЬЮ МАКРОШЛИФОВ; Состав для травления:
- 104 ТЕХНИЧЕСКОЕ ОБСЛУЖИВАНИЕ; Для выполнения технического обслуживания требуется; Периодичность; Общие рекомендации
- 105 УСТРАНЕНИЕ НЕПОЛАДОК; ВНИМАНИЕ! Ремонт данного сварочного оборудования в случае; Неисправность
- 110 Внимание! Перед использованием изделия ВНИМАТЕЛЬНО изучите раз-
Характеристики
Остались вопросы?Не нашли свой ответ в руководстве или возникли другие проблемы? Задайте свой вопрос в форме ниже с подробным описанием вашей ситуации, чтобы другие люди и специалисты смогли дать на него ответ. Если вы знаете как решить проблему другого человека, пожалуйста, подскажите ему :)
Когда варишь большое напряжение проволока сгорает очень быстро