Сварочное оборудование Сварог PRO TIG 200 P DSP AC/DC - инструкция пользователя по применению, эксплуатации и установке на русском языке. Мы надеемся, она поможет вам решить возникшие у вас вопросы при эксплуатации техники.
Если остались вопросы, задайте их в комментариях после инструкции.
"Загружаем инструкцию", означает, что нужно подождать пока файл загрузится и можно будет его читать онлайн. Некоторые инструкции очень большие и время их появления зависит от вашей скорости интернета.

20
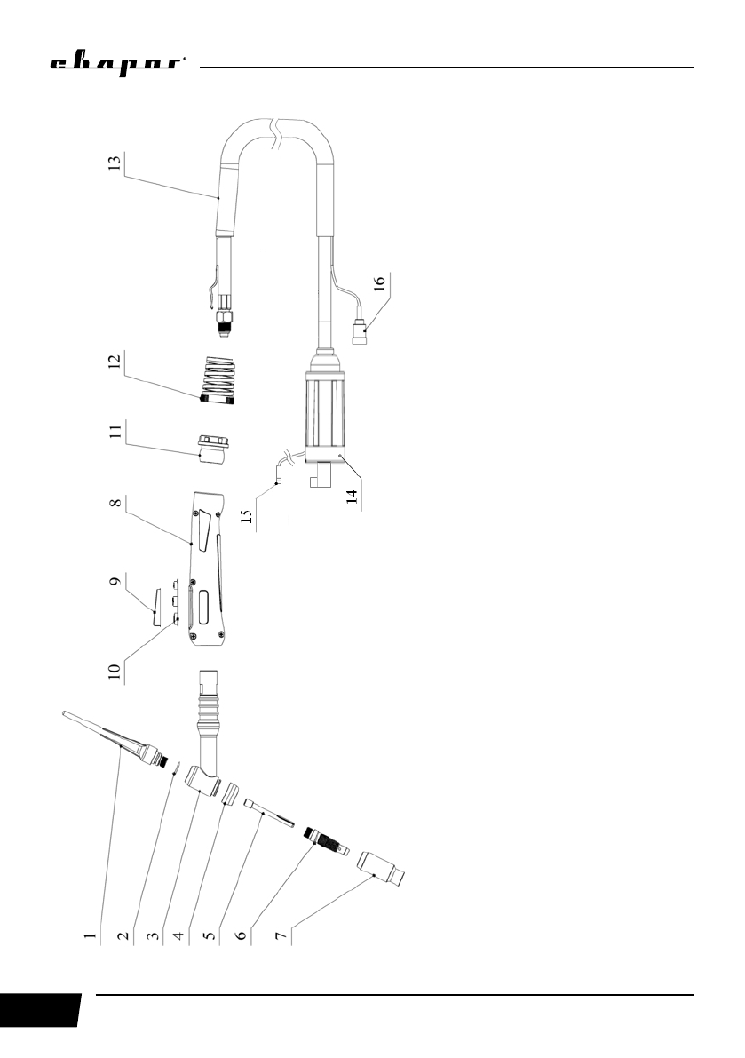
Рис. 8.2. Г
орелка для аргонодуговой сварки.
1. Заг
лушка
2. У
плотнительное кольцо
3. Г
оловка горелки
4. Кольцо
5. Цанга
6. Держа
тель цанги
7. Наконечник
8. Рукоятка
9. Кнопка
10. Микровыключа
тели (см. рис. 8.2.1)
11. У
плотнитель
12. Пружина
13. Шлейф
14. Силовой наконечник
15. Разъем подвода газа горелки
16. 2-pin разъем
Содержание
- 4 использованием оборудования.; ОБРАТИТЬ ВНИМАНИЕ! Особенности, требующие повышенного внимания
- 5 ДЕКЛАРАЦИЯ СООТВЕТСТВИЯ
- 7 ВНИМАНИЕ! Не используйте данные аппараты для размораживания; МЕРЫ БЕЗОПАСНОСТИ ПРИ ПРОВЕДЕНИИ СВАРОЧНЫХ РАБОТ
- 9 особенно внимательны при использовании кабелей большой длины.
- 11 ТЕХНИЧЕСКИЕ ХАРАКТЕРИСТИКИ; Наименование
- 12 На
- 13 ОПИСАНИЕ ФУНКЦИОНИРОВАНИЯ
- 16 - позволяет зажечь TIG дугу без касания к изделию.
- 17 минимального, чтобы не допустить перегрев электрода.
- 18 ПОДГОТОВКА АППАРАТА К РАБОТЕ ПРИ TIG СВАРКЕ; надежность соединения кабеля и сетевой розетки.
- 19 задач и технических требований.; ректный режим сварки. Отрегулируйте режимы сварки до корректных
- 21 Выбор выпуска электрода:
- 22 вание сварочного шва. Старайтесь держать горелку под углом 90°(по
- 23 составу основного металла.; Данные рекомендации носят ознакомительный характер.
- 24 ПОДГОТОВКА АППАРАТА К РАБОТЕ ПРИ SPOT СВАРКЕ; Для Spot сварки необходима специальная насадка.
- 25 ны и имеет форму точки.
- 27 При неплотном подсоединении кабелей возможны выгорание панель-
- 28 • касанием электрода впритык и отведением его вверх
- 29 дуги вплоть до частых кратковременных замыканий.
- 31 ТЕХНИЧЕСКОЕ ОБСЛУЖИВАНИЕ; ВНИМАНИЕ! Отключайте аппарат от сети при выполнении любых работ
- 32 УСТРАНЕНИЕ НЕПОЛАДОК; ществляться только квалифицированным техническим персоналом.
Характеристики
Остались вопросы?Не нашли свой ответ в руководстве или возникли другие проблемы? Задайте свой вопрос в форме ниже с подробным описанием вашей ситуации, чтобы другие люди и специалисты смогли дать на него ответ. Если вы знаете как решить проблему другого человека, пожалуйста, подскажите ему :)