Сушильные машины Electrolux EDH3686GDE - инструкция пользователя по применению, эксплуатации и установке на русском языке. Мы надеемся, она поможет вам решить возникшие у вас вопросы при эксплуатации техники.
Если остались вопросы, задайте их в комментариях после инструкции.
"Загружаем инструкцию", означает, что нужно подождать пока файл загрузится и можно будет его читать онлайн. Некоторые инструкции очень большие и время их появления зависит от вашей скорости интернета.

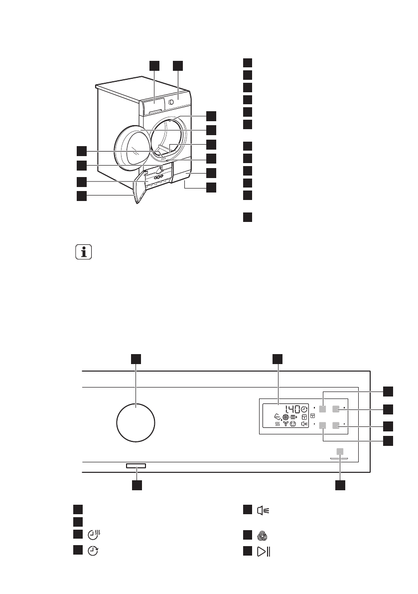
3. ОПИСАНИЕ ИЗДЕЛИЯ
1
2
7
4
3
5
6
9
10
11
12
8
1
Емкость для конденсата
2
Панель управления
3
Внутреннее освещение
4
Дверца прибора
5
Первичный фильтр
6
Кнопка для открывания дверцы
теплообменника
7
Вентиляционные щели
8
Регулируемые ножки
9
Дверца теплообменника
10
Крышка теплообменника
11
Ручка фиксации крышки
теплообменника
12
Табличка с техническими данными
Пользователь может
перевесить дверцу, чтобы
изменить сторону ее
открывания. Это поможет
облегчить загрузку и
выгрузку белья или
установку самого прибора
(см. отдельную брошюру).
4. ПАНЕЛЬ УПРАВЛЕНИЯ
1
2
7
3
6
5
4
8
1
Селектор программ
2
Дисплей
3
Сенсорное поле Время
4
Сенсорное поле Отсрочка
5
Сенсорное поле Звуковой
сигнал
6
Сенсорное поле Шерсть
7
Сенсорное поле Пуск/Пауза
www.electrolux.com
42
Содержание
- 37 возможностями
- 38 Общие правила техники безопасности
- 40 УКАЗАНИЯ ПО БЕЗОПАСНОСТИ; электросети
- 41 Внутреннее освещение
- 46 Функция «Защита от; детей»
- 47 Запуск программы без; отсрочки пуска; Запуск программы с; отсрочкой пуска; Изменение выбранной; программы; По окончании программы
- 48 Подготовка белья
- 51 управления и корпуса; Очистка вентиляционных; щелей; ПОИСК И УСТРАНЕНИЕ НЕИСПРАВНОСТЕЙ
- 53 ТЕХНИЧЕСКИЕ ДАННЫЕ
- 54 Данные по потреблению энергии; ОХРАНА ОКРУЖАЮЩЕЙ СРЕДЫ
Характеристики
Остались вопросы?Не нашли свой ответ в руководстве или возникли другие проблемы? Задайте свой вопрос в форме ниже с подробным описанием вашей ситуации, чтобы другие люди и специалисты смогли дать на него ответ. Если вы знаете как решить проблему другого человека, пожалуйста, подскажите ему :)