Сушильные машины Electrolux EDH3686GDE - инструкция пользователя по применению, эксплуатации и установке на русском языке. Мы надеемся, она поможет вам решить возникшие у вас вопросы при эксплуатации техники.
Если остались вопросы, задайте их в комментариях после инструкции.
"Загружаем инструкцию", означает, что нужно подождать пока файл загрузится и можно будет его читать онлайн. Некоторые инструкции очень большие и время их появления зависит от вашей скорости интернета.

3. IZSTRĀDĀJUMA APRAKSTS
1
2
7
4
3
5
6
9
10
11
12
8
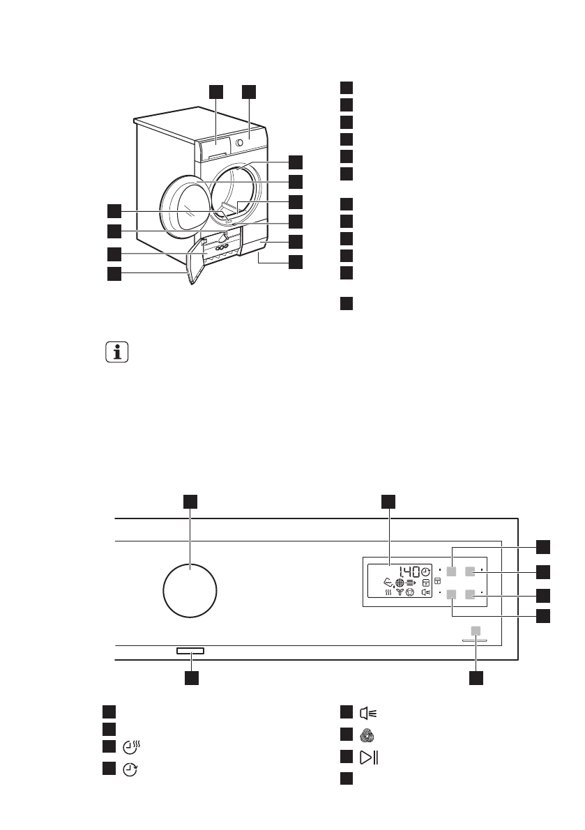
1
Ūdens tvertne
2
Vadības panelis
3
Iekšējais apgaismojums
4
Ierīces durvis
5
Primārais filtrs
6
Taustiņš siltummaiņa durvju
atvēršanai
7
Gaisa plūsmas atveres
8
Regulējamas kājiņas
9
Siltummaiņa durvis
10
Siltummaiņa pārsegs
11
Pārslēgs siltummaiņa pārsega
noslēgšanai
12
Tehnisko datu plāksnīte
Ierīces lietotājs var uzstādīt
ierīces durvis pretējā pusē.
Tas var atvieglot veļas
ievietošanu vai izņemšanu,
kā arī palīdzēt, ja rodas
ierīces uzstādīšanas
ierobežojumi (skatiet
atsevišķo brošūru).
4. VADĪBAS PANELIS
1
2
7
3
6
5
4
8
1
Programmu izvēles pārslēgs
2
Displejs
3
Laiks skārienpaliktnis
4
Atliktais laiks skārienpaliktnis
5
Signāls skārienpaliktnis
6
Vilnas apģērbi skārienpaliktnis
7
Sākt/pauze skārienpaliktnis
8
Ieslēgšanas/izslēgšanas taustiņš
www.electrolux.com
24
Содержание
- 37 возможностями
- 38 Общие правила техники безопасности
- 40 УКАЗАНИЯ ПО БЕЗОПАСНОСТИ; электросети
- 41 Внутреннее освещение
- 46 Функция «Защита от; детей»
- 47 Запуск программы без; отсрочки пуска; Запуск программы с; отсрочкой пуска; Изменение выбранной; программы; По окончании программы
- 48 Подготовка белья
- 51 управления и корпуса; Очистка вентиляционных; щелей; ПОИСК И УСТРАНЕНИЕ НЕИСПРАВНОСТЕЙ
- 53 ТЕХНИЧЕСКИЕ ДАННЫЕ
- 54 Данные по потреблению энергии; ОХРАНА ОКРУЖАЮЩЕЙ СРЕДЫ
Характеристики
Остались вопросы?Не нашли свой ответ в руководстве или возникли другие проблемы? Задайте свой вопрос в форме ниже с подробным описанием вашей ситуации, чтобы другие люди и специалисты смогли дать на него ответ. Если вы знаете как решить проблему другого человека, пожалуйста, подскажите ему :)