Стиральная машина Zanussi ZWD 5106 - инструкция пользователя по применению, эксплуатации и установке на русском языке. Мы надеемся, она поможет вам решить возникшие у вас вопросы при эксплуатации техники.
Если остались вопросы, задайте их в комментариях после инструкции.
"Загружаем инструкцию", означает, что нужно подождать пока файл загрузится и можно будет его читать онлайн. Некоторые инструкции очень большие и время их появления зависит от вашей скорости интернета.

10
ù
ùÍÍÒÒÔÔÎ
ÎÛÛ‡‡ÚÚ‡‡ˆˆËËflfl
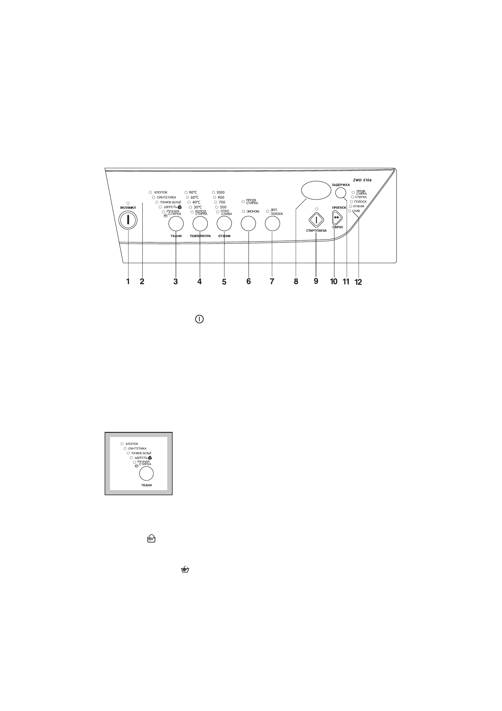
è
臇ÌÌÂÂÎ
θ¸ ÛÛÔÔ‡‡‚‚Î
ÎÂÂÌÌËËflfl
11 ä
äÌÌÓÓÔÔÍ͇‡ ““Ç
Çä
äã
ã//Ç
Çõ
õä
äã
ã””
ÇÍβ˜‡ÈÚÂ Ë ‚˚Íβ˜‡ÈÚ χ¯ËÌÛ Ì‡Ê‡ÚËÂÏ
‰‡ÌÌÓÈ ÍÌÓÔÍË.
22 ä
äÓÓÌÌÚÚÓÓÎ
θ¸Ì̇‡flfl Î
·‡Ï
ÏÔÔ‡‡ ‡‡··ÓÓÚÚ˚
˚
äÓÌÚÓθ̇fl ·ÏÔ‡ ‡·ÓÚ˚ Á‡„Ó‡ÂÚÒfl, ÍÓ„‰‡
χ¯Ë̇ ‚Íβ˜Â̇.
33 ä
äÌÌÓÓÔÔÍ͇‡ ‚‚˚
˚··ÓÓ‡‡ í
íä
äÄ
Äç
çà
à
ç‡ÊËχÈÚ ˝ÚÛ ÍÌÓÔÍÛ ‰Ó ÚÂı ÔÓ, ÔÓ͇ Ì ·Û‰ÂÚ
‚˚·‡Ì‡ ÔÓ„‡Ïχ, ÒÓÓÚ‚ÂÚÒÚ‚Û˛˘‡fl ÚËÔÛ
ÒÚˇÂÏÓ„Ó ·Âθfl. ç‡ÔÓÚË‚ ‚˚·‡ÌÌÓÈ
ÔÓ„‡ÏÏ˚ Á‡„ÓËÚÒfl Ò˄̇θ̇fl ·ÏÔ‡.
ëÚˇθ̇fl χ¯Ë̇ Ô‰ÎÓÊËÚ ÚÂÏÔ‡ÚÛÛ Ë
‡‚ÚÓχÚ˘ÂÒÍË ‚˚·ÂÂÚ Ï‡ÍÒËχθÌÛ˛ ÒÍÓÓÒÚ¸
‚‡˘ÂÌËfl ÔË ÓÚÊËÏ ‰Îfl ‚˚·‡ÌÌÓÈ
ÔÓ„‡ÏÏ˚. ùÚË Á̇˜ÂÌËfl ‚˚ ÏÓÊÂÚ ËÁÏÂÌËÚ¸
ÍÌÓÔ͇ÏË 4 Ë 5.
ê
êÛÛ˜˜Ì̇‡flfl ÒÒÚÚËËÍ͇‡
Ç˚·Ë‡fl ˝ÚÛ ÔÓ„‡ÏÏÛ, ‚˚ ‚˚·Ë‡ÂÚ ӘÂ̸
·ÂÂÊÌÛ˛ ÒÚËÍÛ, Ô˄ӉÌÛ˛ ‰Îfl ÚÂı ‚¢ÂÈ, ̇
˝ÚËÍÂÚ͇ı ÍÓÚÓ˚ı Û͇Á˚‚‡ÂÚÒfl, ˜ÚÓ ÓÌË ÏÓ„ÛÚ
ÒÚˇڸÒfl ÚÓθÍÓ ‚Û˜ÌÛ˛
.
44 ä
äÌÌÓÓÔÔÍ͇‡ ‚‚˚
˚··ÓÓ‡‡ í
íÖ
Öå
åè
èÖ
Öê
êÄ
Äí
íì
ìê
êõ
õ
ÖÒÎË ‚˚ ıÓÚËÚ ‚˚ÒÚˇڸ ·Âθ ÔË
ÚÂÏÔ‡ÚÛÂ, ÍÓÚÓ‡fl ÓÚ΢‡ÂÚÒfl ÓÚ
Ô‰ÎÓÊÂÌÌÓÈ ÒÚˇθÌÓÈ Ï‡¯ËÌÓÈ, ÚÓ
̇ÊËχÈÚ ˝ÚÛ ÍÌÓÔÍÛ ‰Îfl  ۂÂ΢ÂÌËfl ËÎË
ÛÏÂ̸¯ÂÌËfl. ᇄÓËÚÒfl ÒÓÓÚ‚ÂÚÒÚ‚Û˛˘‡fl
Ò˄̇θ̇fl ·ÏÔ‡.
å‡ÍÒËχθÌ˚ ÚÂÏÔ‡ÚÛ˚ ÒÓÒÚ‡‚Îfl˛Ú 90°C
‰Îfl ıÎÓÔ͇, 60°C ‰Îfl ÒËÌÚÂÚ˘ÂÒÍËı Ú͇ÌÂÈ,
40°C ‰Îfl ÚÓÌÍËı Ú͇ÌÂÈ, ¯ÂÒÚË Ë Ú͇ÌÂÈ ‰Îfl
Û˜ÌÓÈ ÒÚËÍË (ÔÓ„‡Ïχ êìóçéâ ëíàêäà).
Holod. stirka
-èÓÎÓÊÂÌË ‰Îfl ÒÚËÍË ‚
ıÓÎÓ‰ÌÓÈ ‚Ó‰Â.
55 ä
äÌÌÓÓÔÔÍ͇‡ ‚‚˚
˚··ÓÓ‡‡ ë
ëä
äé
éê
êé
éë
ëí
íà
à
é
éí
íÜ
Üà
àå
åÄ
Ä
ÖÒÎË ‚˚ ıÓÚËÚ ÓÚʇڸ ·Âθ ÒÓ ÒÍÓÓÒÚ¸˛,
ÍÓÚÓ‡fl ÓÚ΢‡ÂÚÒfl ÓÚ Ô‰ÎÓÊÂÌÌÓÈ
ÒÚˇθÌÓÈ Ï‡¯ËÌÓÈ, ÚÓ Ì‡ÊËχÈÚ ˝ÚÛ ÍÌÓÔÍÛ
‰Îfl  ËÁÏÂÌÂÌËfl. ᇄÓËÚÒfl ÒÓÓÚ‚ÂÚÒÚ‚Û˛˘‡fl
Ò˄̇θ̇fl ·ÏÔ‡.
å‡ÍÒËχθ̇fl ÒÍÓÓÒÚ¸ ÒÓÒÚ‡‚ÎflÂÚ:
Z
ZW
WD
D 55110066
•
dlå hlopka: 1000 ob/min
•
‰Îfl ÒËÌÚÂÚËÍË, ¯ÂÒÚË Ë Ú͇ÌÂÈ ‰Îfl Û˜ÌÓÈ
ÒÚËÍË: 900 Ó·/ÏËÌ
•
‰Îfl ÚÓÌÍËı Ú͇ÌÂÈ: 700 Ó·/ÏËÌ
Z
ZW
WD
D 558866
•
dlå hlopka,
ÒËÌÚÂÚËÍË, ¯ÂÒÚË Ë Ú͇ÌÂÈ ‰Îfl
Û˜ÌÓÈ ÒÚËÍË: 800 Ó·/ÏËÌ
•
‰Îfl ÚÓÌÍËı Ú͇ÌÂÈ: 700 Ó·/ÏËÌ












