Стиральная машина Zanussi FJS 1284 - инструкция пользователя по применению, эксплуатации и установке на русском языке. Мы надеемся, она поможет вам решить возникшие у вас вопросы при эксплуатации техники.
Если остались вопросы, задайте их в комментариях после инструкции.
"Загружаем инструкцию", означает, что нужно подождать пока файл загрузится и можно будет его читать онлайн. Некоторые инструкции очень большие и время их появления зависит от вашей скорости интернета.

8
Brug
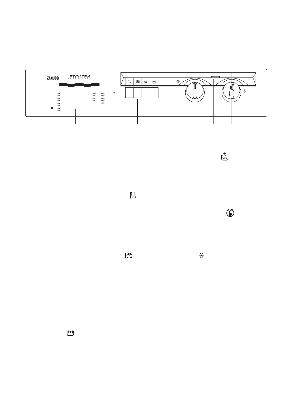
Kontrolpanel
1 Programoversigt
Programoversigten på den yderside af
vaskemiddelskuffen giver et generelt overblik over
vaskeprogrammerne.
2 Start-/stop (strømafbryder)
Når knappen trykkes ind, starter vaskeprogrammet.
Når programmet er i gang, kan De trykke knappen
ud for at lægge vasketøj, De har glemt, i tromlen.
Husk, der går et par minutter inden lågen kan åbnes.
Ved fornyet tryk på knappen fortsætter programmet.
Efter programmets ophør skal knappen trykkes ud
igen, således at der slukkes for maskinen.
3 Centrifugeringsreduktion
Ved at trykke på denne knap reduceres
centrifugeringshastigheden på følgende måde:
• Bomuld og linned:
fra 1.000/1.100/1.200 omdr./min. til 650 omdr./min.
alt efter model
• Syntetiske og sarte stoffer: (alle modeller)
fra 900 til 650 omdr./min. (progr. «P»)
• Uld: (alle modeller) fra 1.000 til 650 omdr./min.
(progr. «P»).
4 Kvikvask
Ved at trykke på denne knap i forbindelse med valg
af vaskeprogrammerne «B» og «J» reduceres
vasketiden.
Denne knap er især beregnet til vask af tøj, som kun
er lettere snavset.
Maks. anbefalet temperatur: 60°C.
5 Intensiv skylning
Når denne knap trykkes ind i forbindelse med
programmer til vask af bomuld og linned, foregår
skylningerne med mere vand end normalt.
Det anbefales at benytte knappen i områder, hvor
vandet er særligt blødt, ligesom den kan benyttes til
tøjvask for mennesker med særlig følsom hud.
6 Temperaturvælger
Drej temperaturvælgeren til den ønskede
vasketemperatur.
I programoversigten finder De forslag til passende
temperaturer for forskellige programmer. Vælgeren
kan drejes både med og mod uret.
Når vælgeren står på
, finder der ingen
opvarmning sted.
7 Driftskontrollampe
Denne lampe tændes, når maskinen går i gang, og
slukkes, når der igen trykkes på start-/stopknappen.
8 Programvælger
Vælg program efter, hvad der skal vaskes, og hvor
snavset det er.
Drej programvælgeren med uret til det ønskede
program.
1
2 3 4 5
6
7
8
Bomuld, hvid
Bomuld, hvid
Bomuld, kulørt
Bomuld, kulørt
Syntetisk vask
Syntetisk vask
Uld
Finvask
A
B
B
C
H
J
K
L
60º- 95º
60º- 95º
40º- 60º
30º- 40º
30º- 60º
30º- 60º
30º- 40º
30º- 40º
Temp.
Hurtigvask
Skylninger
Skyllemiddel
Kort centrifugering
Tømning
30º- 60º
Temp.
Knap
B
D
F
G
J
M
N
P
Q












