Стиральная машина Zanussi FCS 825 C - инструкция пользователя по применению, эксплуатации и установке на русском языке. Мы надеемся, она поможет вам решить возникшие у вас вопросы при эксплуатации техники.
Если остались вопросы, задайте их в комментариях после инструкции.
"Загружаем инструкцию", означает, что нужно подождать пока файл загрузится и можно будет его читать онлайн. Некоторые инструкции очень большие и время их появления зависит от вашей скорости интернета.

- 14 -
Maintenance and cleaning
The cabinet
Clean the outside surfaces of the appliance using a mild
(non-abrasive) household cleaning product. Finish by re-
moving remaining traces of the product with a damp cloth.
Do not use cleaning products which contain
alcohol (spirits), thinners and similar substances.
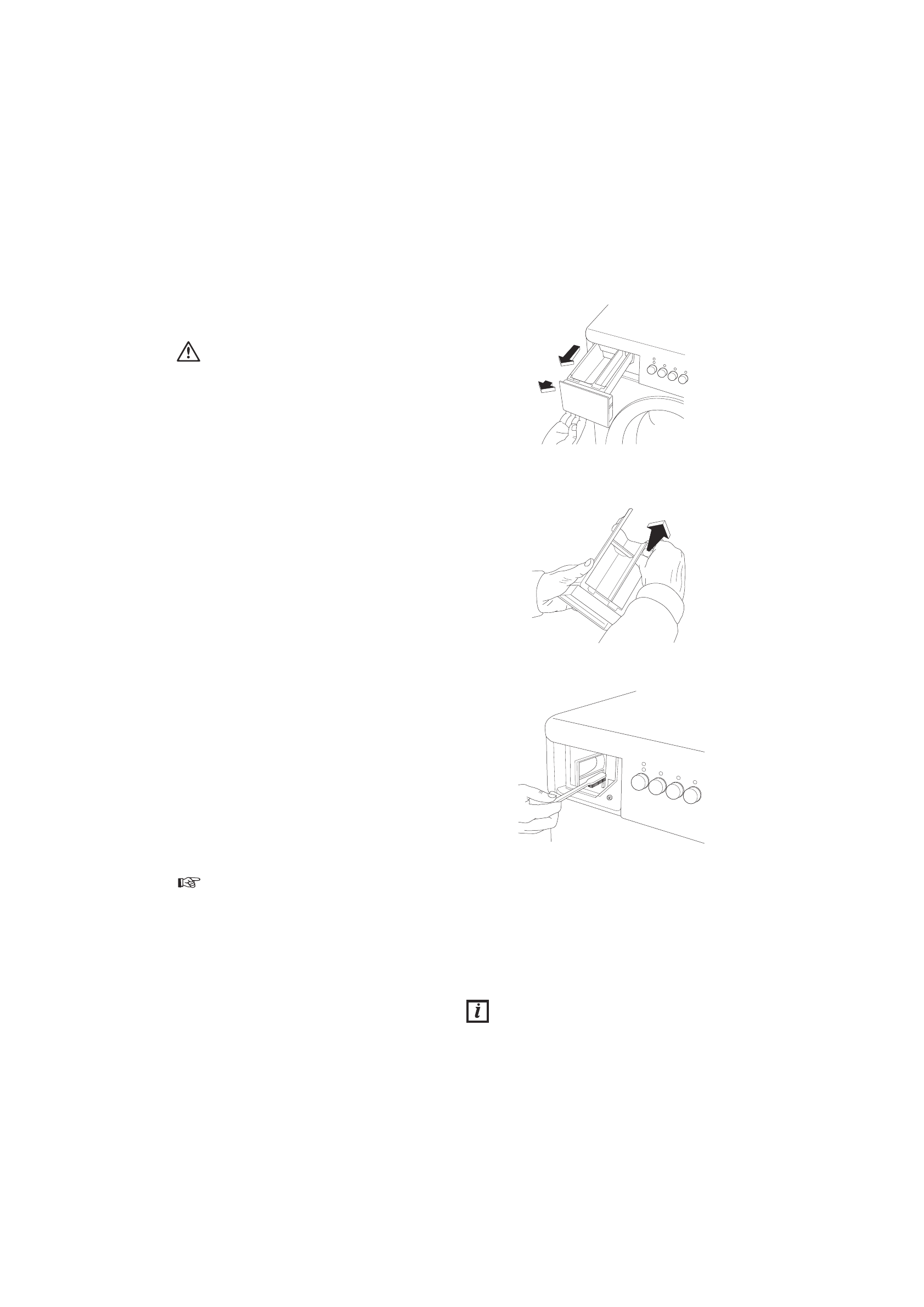
The detergent dispenser
In time, residues of detergent and fabric conditioner are
likely to build up inside the detergent dispenser. It should
be cleaned at regular intervals by flushing it out with water.
If necessary, the whole dispenser can be taken out of the
machine for cleaning. You need to pull it firmly outwards,
so that it comes free of a retaining stop (Fig. 1).
To remove the siphon at the inside edge of the dispen-
ser for cleaning, you need to press it inwards and pull it
upwards at the same time (Fig. 2). When you put it back,
press it downwards until you hear a distinct click.
Opening for the detergent dispenser
Detergent residues can also build up inside the opening
for the detergent dispenser. You can use an old tooth-
brush for cleaning this area (Fig. 3).
When you have finished and put back the dispenser, run
a short programme with no wash load in the machine to
rinse it clean.
Cleaning inside the machine
If you mostly use your machine for low-temperature washes
and/or if you use only very little detergent, you should clean
the inside of the machine about once a month. This will
prevent mould or stale odours from developing. Use the
full recommended quantity of detergent and run a wash
programme at the highest temperature with no wash load
in the machine.
Protecting against freezing
If the washing machine is placed in an environment where
the temperature sometimes falls below 0° C, there is a
risk that the small amount of water which remains inside
the parts of the machine will freeze and damage it.
To prevent this you should:
1. Turn off the water supply and disconnect the
water inlet hose from the supply tap.
2. Select a wash programme, start the machine
and let the programme run for a short time.
3. Interrupt the programme by turning the pro-
gramme selector to the ”Reset” position.
4. Place the end of the inlet and discharge hoses
down low, into the waste gully (floor drain) set
into the floor. Make sure that the end of the
hose does not go below the water level in the
gully's (drain's) water trap.
5. Select the programme ”Drain” and let that run
until it is finished.
6. Turn the programme selector to the ”Reset”
position.
The appliance is only to be used and stored
indoors at normal room temperature. The manu-
facture is not responsible for any frost damage.
1
2
3












