Страница 2 - لامعتسلاا تاداشرإ
MANUALE D’USOINSTRUCTIONSMODE D’EMPLOIBEDIENUNGSANLEITUNGGEBRUIKSAANWIJZINGENMANUAL DE INSTRUCCIONESMANUAL DE INSTRUÇÕESΟΔΗΓΙΕΣ ΧΡΗΣΗΣИНСТРУКЦИИ ПО ЭКСПЛУАТАЦИИUŽIVATELSKÁ PŘÍRUČKAINSTRUKCJA OBSŁUGIBRUKSANVISNINGBRUGERVEJLEDNING MACCHINA PER CAFFÈ E CAPPUCCINO COFFEE AND CAPPUCCINO MAKER MACHINE À C...
Страница 6 - ОГЛАВЛЕНИЕ; IАВТОМАТИЧЕСКОЕ ОСВЕЩЕНИЕ ПОДСТАВКИ
6 ОГЛАВЛЕНИЕ ВВЕДЕНИЕ ................................................7 Символы, используемые в настоящей инструкции ...7Буквы в скобках............................................................7Проблемы и ремонт .....................................................7 БЕЗОПАСНОСТЬ ....................
Страница 8 - Поверхности, на которых изображен
8 и других, предназначенных для приема по-сетителей, сдаваемых в наем.В случае повреждения вилки или шнурапитания, чтобы предупредить любой риск,заменяйте их только в сервисном центре.ТОЛЬКО ДЛЯ ЕВРОПЕЙСКИХ РЫНКОВ:К пользованиюнастоящим прибором до-пускаются дети от 8 лет и старше, если онинаходятся...
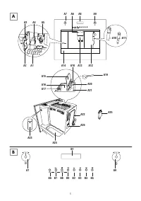
Страница 9 - Использование, соответствующее; ОПИСАНИЕ ПРИБОРА; Описание прибора; Описание панели управления
9 предметы, содержащие жидкости, воспламеняющиеся иликоррозионные материалы, используйте отсек для аксес-суаров для хранения аксессуаров, необходимых для при-готовления кофе (например, мерку). Не кладите на приборкрупные предметы, которые могут заблокировать его дви-жения или неустойчивые предметы. ...
Страница 10 - ПРЕДВАРИТЕЛЬНЫЕ ОПЕРАЦИИ; Контроль после транспортировки; АВТОМАТИЧЕСКОЕ ОСВЕЩЕНИЕ
10 больших чашек кофе В6. Кнопка MENU (МЕНЮ) для включения иливыключения режима установки параметров меню В7. Кнопка для выбора молотого кофе (После входа в MENU (МЕНЮ): кнопка “NEXT”(СЛЕДУЮЩИЙ) нажимается для показа следующего параметра меню). В8. Кнопка споласкивание: выполнение быстрого споласкив...
Страница 11 - ВСТРОЕННАЯ УСТАНОВКА
11 ВСТРОЕННАЯ УСТАНОВКА Проверьте минимальные размеры, необходимые дляправильной установки электроприбора.Кофемашина должна быть установлена в стойку, астойка прочно закреплена на стене при помощи стан-дартных кронштейнов. Внимание: • Обратите внимание: любая работа по установке илиобслуживаниюдолжн...
Страница 13 - ПЕРВОЕ ВКЛЮЧЕНИЕ ПРИБОРА
13 ПЕРВОЕ ВКЛЮЧЕНИЕ ПРИБОРА • Машина испытана на заводе с использованиемкофе, поэтому следы кофе в кофемолке – абсо-лютно нормальное явление.В любом случае гарантировано, что эта машина –абсолютно новая. • Рекомендуется сразу же определить жесткостьводы, выполнив операции, описанные в параграфе"...
Страница 14 - Удаление фильтра; ВКЛЮЧЕНИЕ И РАЗОГРЕВ
14 бору. 6. Нажмите кнопку MENU B6 , чтобы войти в меню.7. Нажмите кнопку NEXT B7, чтобы на дисплее появи- лась сообщение "УСТАНОВИТЕ ФИЛЬТР". 8. Нажмите кнопку ОК B99. На дисплее появится сообщение "ГОРЯЧАЯ ВОДА. НАЖМИТЕ ОК". 10. Нажмите кнопку ОК B9. прибор начнет подавать го- рячу...
Страница 17 - ПОДАЧА ГОРЯЧЕЙ ВОДЫ; ПРИГОТОВЛЕНИЕ КАПУЧЧИНО
17 помол). (Кофемашина испытана на заводе с использованиемкофе, поэтому следы кофе в кофемолке – абсолютнонормальное явление. В любом случае гарантировано,что эта кофеварка – абсолютно новая.) ПРИГОТОВЛЕНИЕ КОФЕ ЭКСПРЕССО ИЗ МОЛОТОГО КОФЕ (ВМЕСТО КОФЕ В ЗЕРНАХ) • Нажмите кнопку В7, рис. 15, для выбо...
Страница 18 - ОЧИСТКА И УХОД; Очистка кофемашины
18 • Для того, чтобы прервать подачу пара, повернитеручку пара А9. • Погрузите насадку для взбивания молока А10 в ем-кость с молоком, рис. 19, не погружая дальшерельефной линии на насадке (указана стрелкой нарис. 19).Пар выйдет из насадки, придавая молоку пенистыйвид крема.Для того, чтобы пены было ...
Страница 20 - Установка часов
20 Внимание! Очищайте заварочный узел , не пользуясь моющими средствами, так как поршень, на-ходящийся внутри, обработан смазкой, которая можетбыть удалена моющим средством, вызвав слипание иневозможность использования заварочного узла. Немыть в посудомоечной машине. 5. Погрузите заварочный узел при...
Страница 22 - Изменения температуры кофе; Изменение длительности включения
22 того, чтобы удалить всюнакипь, осевшуювнутрикофеварки. • Примерно через 30 минут кофеварка сообщит:"СПОЛАСКИВАНИЕ. ЗАЛЕЙТЕ ВОДУ".Для того, чтобы удалить остатки раствора для сня-тия накипи из кофеварки, необходимо произвестисполаскивание: • Слейте воду из бачка для воды, сполосните его и ...
Страница 23 - Возврат к заводским установкам; СМЕНА ЯЗЫКА; ТЕХНИЧЕСКИЕ ДАННЫЕ
23 КОСТЬ ВОДЫ 4". • нажмите CHANGE несколько раз до тех пор покацифра не будет совпадать с количеством красныхквадратиков на полоске реактива (например, еслина индикаторной полоске появились 3 красных ква-драта, необходимо три раза нажать кнопку, чтобыпоявилось сообщение "ЖЕСТКОСТЬ ВОДЫ 3...
Страница 24 - СООБЩЕНИЯ, ПОКАЗЫВАЕМЫЕ НА ДИСПЛЕЕ
24 СООБЩЕНИЯ, ПОКАЗЫВАЕМЫЕ НА ДИСПЛЕЕ ПОКАЗЫВАЕМОЕ СООБЩЕНИЕ ВОЗМОЖНАЯ ПРИЧИНА УСТРАНЕНИЕ ЗAЛEЙTE BOДУ • Бачок для воды пустой либоплохо вставлен. • Наполните бачок для водыи/или правильно вставьте его,нажав до упора. СЛИШКОМ МЕЛКИЙ ПОМОЛ ОТРЕГУ-ЛИР. ПОМОЛ и чередующееся НА-ЖМИТЕ ОК • Слишком мелкий...
Страница 26 - РЕШЕНИЕ ПРОБЛЕМ
26 ПРОБЛЕМА ВОЗМОЖНАЯ ПРИЧИНА УСТРАНЕНИЕ РЕШЕНИЕ ПРОБЛЕМ Ниже перечислены некоторые возможные неисправности.Если проблема не может быть решена, как указано, необходимо связаться с сервисной службой. . Кофе не горячий. • Чашки предварительно неподогреты. • Заварочная головка охладилась, так как прошл...
Страница 28 - РЕЦЕПТЫ
28 РЕЦЕПТЫ Кофейный пунш Ингредиенты (для 6 человек): 0,5 л горячего кофе0,5 л белого портвейна0,5 л рома100 г тростникового сахара Приготовление: Залить кофе в кастрюлю, добавить ром и портвейн, нагретьдо кипения. Постепенно добавлять сахар, периодическипробуя вкус, чтобы смесь была достаточно слад...