Швейная машина Janome MyLock 205D - инструкция пользователя по применению, эксплуатации и установке на русском языке. Мы надеемся, она поможет вам решить возникшие у вас вопросы при эксплуатации техники.
Если остались вопросы, задайте их в комментариях после инструкции.
"Загружаем инструкцию", означает, что нужно подождать пока файл загрузится и можно будет его читать онлайн. Некоторые инструкции очень большие и время их появления зависит от вашей скорости интернета.

Натяжение нити
Для роликового шва и обработки края
Правильное натяжение
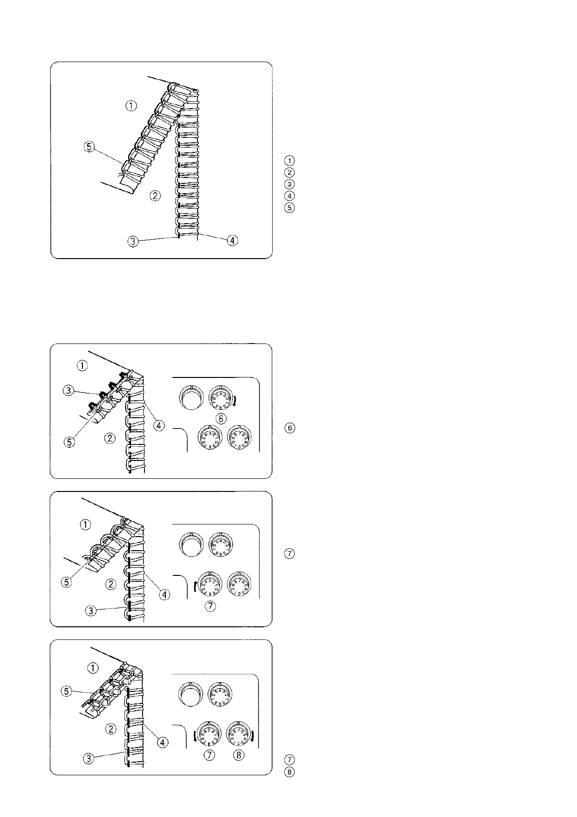
Íà ðèñóíêå ñëåâà ïîêàçàí øîâ, êîòîðûé
ïîëó÷àåòñÿ ïðè ïðàâèëüíîì íàòÿæåíèè íèòè.
Óñòàíîâêè íàòÿæåíèÿ ìîãóò èçìåíÿòüñÿ â
çàâèñèìîñòè îò òèïà òêàíè è èñïîëüçóåìûõ íèòîê.
(1) Èçíàíî÷íàÿ ñòîðîíà òêàíè
(2) Ëèöåâàÿ ñòîðîíà
(3) Íèòü ïðàâîé èãëû
(4) Íèòü âåðõíåãî ïåòëèòåëÿ
(5) Íèòü íèæíåãî ïåòëèòåëÿ
Регулировка натяжения нити
1. Óñòàíîâèòå äèñêè íàòÿæåíèÿ êàê ïîêàçàíî
íà ñòð.31.
2. Çàòåì ïðîøåéòå è ïðîâåðüòå ðåçóëüòàòû
íàòÿæåíèÿ íèòåé.
3. Åñëè áàëàíñ íàòÿæåíèÿ íà ïðîáíîì êóñî÷êå
îêàçàëñÿ íåóäîâëåòâîðèòåëüíûì,
òî îòðåãóëèðóéòå íàòÿæåíèå íèòåé
ïðè ïîìîùè äèñêîâ íàòÿæåíèÿ.
Натяжение игольной нити слишком слабое
Íà ðèñóíêå ïîêàçàí ðåçóëüòàò ïðè ñëàáîì
íàòÿæåíèè íèòè ïðàâîé èãëû.
Ñðåäñòâî:
Óâåëè÷èòü íàòÿæåíèå íèòè ïðàâîé èãëû.
(6) Äèñê íàòÿæåíèÿ íèòè ïðàâîé èãëû
Слабое натяжение нити верхнего петлителя
Íà ðèñóíêå ïîêàçàí ðåçóëüòàò ïðè ñëàáîì
íàòÿæåíèè íèòè âåðõíåãî ïåòëèòåëÿ.
(7) Äèñê íàòÿæåíèÿ íèòè âåðõíåãî ïåòëèòåëÿ
Несбалансированное натяжение нити
петлителя
Íà ðèñóíêå ïîêàçàí ðåçóëüòàò ïðè ñèëüíîì
íàòÿæåíèè íèòè âåðõíåãî ïåòëèòåëÿ è/èëè ñëàáîì
íàòÿæåíèè íèòè íèæíåãî ïåòëèòåëÿ.
Ñðåäñòâî:
Îñëàáèòü íàòÿæåíèå íèòè âåðõíåãî ïåòëèòåëÿ
è/èëè óâåëè÷èòü íàòÿæåíèå íèòè íèæíåãî
ïåòëèòåëÿ.
(7) Äèñê íàòÿæåíèÿ íèòè âåðõíåãî ïåòëèòåëÿ
(8) Äèñê íàòÿæåíèÿ íèòè íèæíåãî ïåòëèòåëÿ
32












