Швейная машина Janome MyLock 205D - инструкция пользователя по применению, эксплуатации и установке на русском языке. Мы надеемся, она поможет вам решить возникшие у вас вопросы при эксплуатации техники.
Если остались вопросы, задайте их в комментариях после инструкции.
"Загружаем инструкцию", означает, что нужно подождать пока файл загрузится и можно будет его читать онлайн. Некоторые инструкции очень большие и время их появления зависит от вашей скорости интернета.

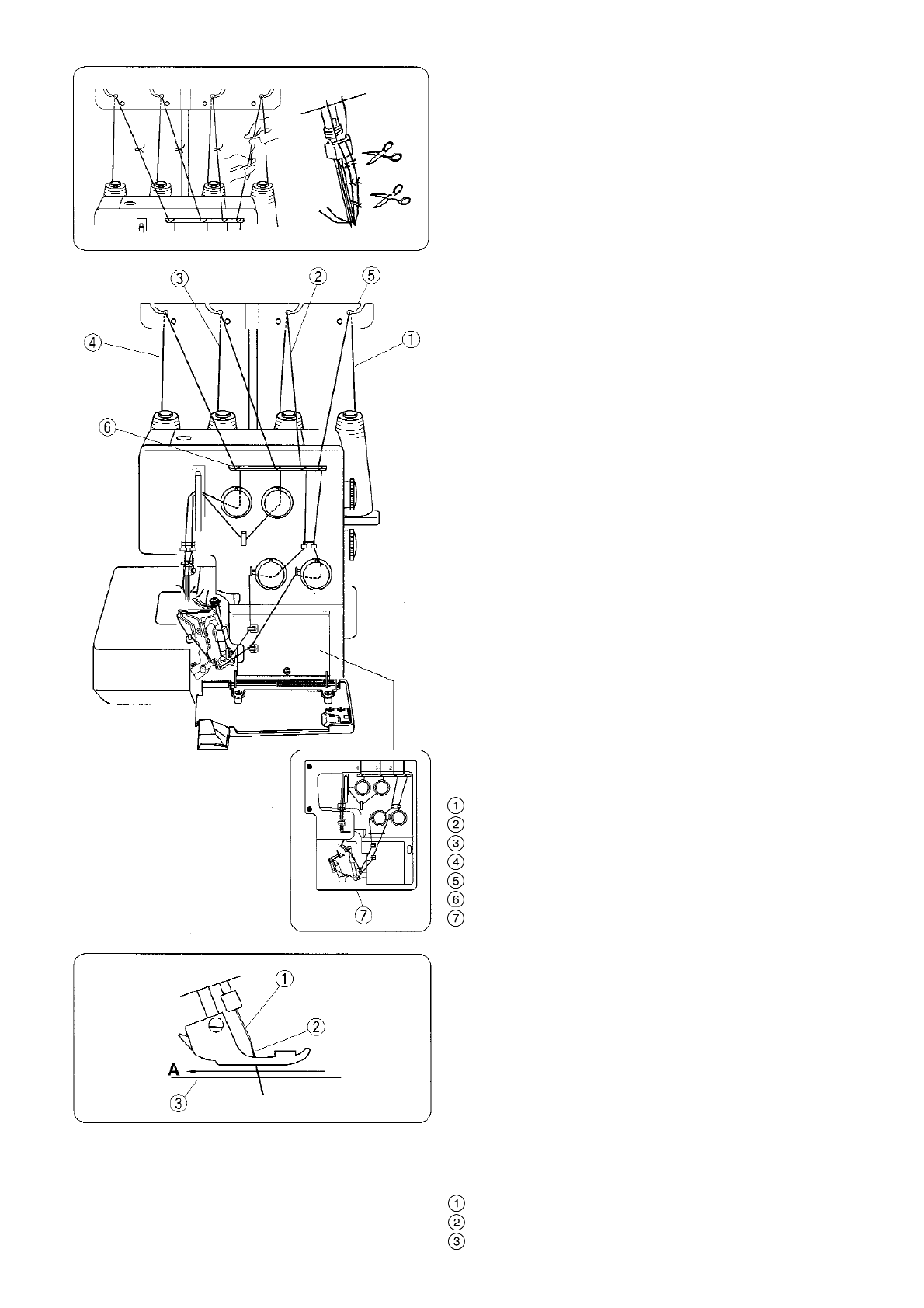
Заправка нитей в машину
×òîáû ëåãêî çàïðàâèòü íèòè â ìàøèíó, åå
ñëåäóåò ñíà÷àëà ïîäãîòîâèòü.
Ïðèâÿæèòå êîíöû íîâûõ íèòåé ê òåì, êîòîðûå
óæå áûëè çàïðàâëåíû. Ïîòÿíèòå çà íèòè, è
ìàøèíà áóäåò çàïðàâëåíà íîâûìè íèòÿìè. Äëÿ
ýòîãî ñäåëàéòå ñëåäóþùåå:
1. Îòêëþ÷èòå ïèòàíèå ìàøèíû ïåðåä
çàïðàâêîé.
2. Îòìîòàéòå íèòè ñ êàòóøåê, ïðîïóñòèòå èõ
÷åðåç íàïðàâèòåëè àíòåííû, çàòåì
ïðèâÿæèòå ê ïðåäûäóùèì íèòÿì.
3. Ïîäíèìèòå ïðèæèìíóþ ëàïêó, ïðîòÿíèòå
íèòè äî òåõ ïîð, ïîêà óçåëêè íå âûéäóò èç-
ïîä ëàïêè.
4. Ïðîäîëæàéòå âûòÿãèâàòü íèòè, ïîêà óçåëêè
íå äîñòèãíóò èãîëüíîãî óøêà.
Îòðåæüòå óçåëêè è âäåíüòå íèòè
â èãëû.
5. Ïåðåä íà÷àëîì øèòüÿ ïðîâåðüòå èãîëüíûå
íèòè, íå çàïóòàëèñü ëè îíè ïîä ïðèæèìíîé
ëàïêîé.
Âûòÿíèòå íèòè íà 10 ñì è îòâåäèòå ïîä
ïðèæèìíóþ ëàïêó.
Îïóñòèòå ïðèæèìíóþ ëàïêó, òåïåðü Âû
ãîòîâû ê øèòüþ.
* Äëÿ òîãî, ÷òîáû áûñòðî ïåðåçàïðàâèòü
ìàøèíó, íà÷èíàéòå â ñëåäóþùåé
ïîñëåäîâàòåëüíîñòè - íèòè íèæíåãî
ïåòëèòåëÿ, âåðõíåãî ïåòëèòåëÿ, äàëåå
ïðàâîé èãëû è ëåâîé èãëû.
Ïðîâåðüòå, ÷òîáû èãîëüíûå íèòè íå çàïóòàëèñü
ïîä èãîëüíîé ïëàñòèíîé,
è îòâåäèòå èõ íàçàä ïîä ïðèæèìíóþ
ëàïêó íà 10 ñì.
(1) Íèòü íèæíåãî ïåòëèòåëÿ
(2) Íèòü âåðõíåãî ïåòëèòåëÿ
(3) Íèòü ïðàâîé èãëû
(4) Íèòü ëåâîé èãëû
(5) Íàïðàâèòåëü àíòåííû
(6) Íàïðàâèòåëüíàÿ ïëàñòèíà
(7) Ñõåìà çàïðàâêè
Åñëè îäíà èç íèòåé ïîðâàíà, òî ñëåäóéòå òàêîé
ïðîöåäóðå çàïðàâêè íèòè:
1. Ïîäíèìèòå ïðèæèìíóþ ëàïêó è îòâåäèòå
íàçàä öåïî÷êó èç íèòåé. Îáðåæüòå öåïî÷êó,
ðàçäåëèâ íèòè.
2. Çàíîâî çàïðàâüòå ïîðâàííóþ íèòü.
3. Ïîâåðíèòå íà ñåáÿ ìàõîâîå êîëåñî, ïîêà
èãëà íå ïîäíèìåòñÿ â âûñøåå ïîëîæåíèå.
4. Ïðè ïîìîùè ïèíöåòà âûòÿíèòå íèòè èç-ïîä
ïðèæèìíîé ëàïêè è îòâåäèòå èãîëüíûå íèòè
íàçàä íàä èãîëüíîé ïëàñòèíîé. Âûòÿíèòå èõ
íà 10 ñì îò ïðèæèìíîé ëàïêè. (Îòâîäèòå
èãîëüíóþ íèòü â íàïðàâëåíèè À).
(1) Èãëà
(2) Èãîëüíàÿ íèòü
(3) Èãîëüíàÿ ïëàñòèíà
14












