Sheriff APS-35 Pro - Инструкция по эксплуатации

Sheriff APS-35 Pro

Автосигнализация Sheriff APS-35 Pro - инструкция пользователя по применению, эксплуатации и установке на русском языке. Мы надеемся, она поможет вам решить возникшие у вас вопросы при эксплуатации техники.

Если остались дополнительные вопросы — свяжитесь с нами через контактную форму.

1 Страница 1
2 Страница 2
3 Страница 3
4 Страница 4
5 Страница 5
6 Страница 6
7 Страница 7
8 Страница 8
9 Страница 9
10 Страница 10
11 Страница 11
12 Страница 12
13 Страница 13
14 Страница 14
15 Страница 15
16 Страница 16
17 Страница 17
18 Страница 18
19 Страница 19
20 Страница 20
21 Страница 21
22 Страница 22
23 Страница 23
24 Страница 24
25 Страница 25
26 Страница 26
27 Страница 27
28 Страница 28
Страница: / 28

Содержание:

  • Страница 2 – ОГЛАВЛЕНИЕ
  • Страница 4 – AVфункция; – снятие системы с охраны в два этапа.
  • Страница 5 – Бесшумная активная постановка на охрану
  • Страница 6 – Полная постановка системы на охрану; ку; Valet; включится режим полной охраны.; включена; программируемая; Примечание
  • Страница 7 – Постановка на охрану:; системы на охрану на брелоке-передатчике в течение 3 сек.
  • Страница 8 – Габаритные огни автомобиля мигнут два раза.
  • Страница 10 – (выключите зажигание, если оно было включено и ожидайте 5 сек)
  • Страница 14 – Таблица функций
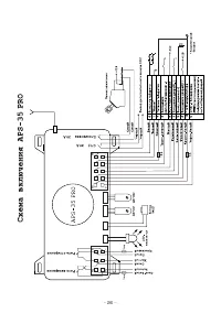
  • Страница 18 – Модель «APS35 PRO SHERIFF»; РУКОВОДСТВО ПО УСТАНОВКЕ; Оглавление; Установка основных компонентов системы; Сирена
  • Страница 23 – Дополнительные полезные схемы управления центральным замком
  • Страница 25 – Настройка датчика удара.; Для зоны предупреждения данного датчика автоматически уста; Внимание; Всегда прокладывайте провода охранной системы в гофриро
Загрузка инструкции

Модель «APS35 PRO SHERIFF»

АВТОМОБИЛЬНАЯ ОХРАННАЯ СИСТЕМА С РАЗДЕЛЬНЫМ УПРАВЛЕНИЕМ
И ДОПОЛНИТЕЛЬНЫМ ПРОГРАММИРУЕМЫМ КАНАЛОМ

РУКОВОДСТВО ПОЛЬЗОВАТЕЛЯ

ВАЖНО!

Для обеспечения самого высокого уровня защиты вашего автомобиля данная охранная сис*
тема имеет функции ручной постановки системы на охрану, ручного отключения (снятия)
охраны, снятия системы с охраны в два этапа. В случаях, когда брелок*передатчик дистанци*
онного управления системой потерян или не работает (или, возможно, Ваш брелок*передат*
чик блокирован мощным радиоизлучением устройства типа «глушилка»), управление охран*
ной системой возможно и выполняется вручную. Прочитайте разделы «Ручная постановка си*
стемы на охрану», «Ручное отключение охранной системы»,

AV функция

– функция снятия си*

стемы с охраны в два этапа.

Если запрограммирована

функция F9 «Секретный код»

, то запись кодов новых брелоков,

изменение секретного кода, изменение статуса запрограммированных функции c

F8

по

F15

,

аварийное снятие системы с охраны, отключение системы при срабатывании в режимах

«AntiHiJack»

возможны только после ввода секретного кода! Изменение параметров функ*

ций с

F1

по

F7

не требует ввода секретного кода и доступно всегда.

1

"Загрузка инструкции" означает, что нужно подождать пока файл загрузится и можно будет его читать онлайн. Некоторые инструкции очень большие и время их появления зависит от вашей скорости интернета.

Краткое содержание

Страница 2 - ОГЛАВЛЕНИЕ

2 ОГЛАВЛЕНИЕ СТАНДАРТНЫЕ ФУНКЦИИ СИСТЕМЫ . . . . . . . . . . . . . . . . . . . . . . . . . . . . . . . . . . . . . . . . . . . . . .3 ПРОГРАММИРУЕМЫЕ ФУНКЦИИ СИСТЕМЫ . . . . . . . . . . . . . . . . . . . . . . . . . . . . . . . . . . . . . . . . .3 ФУНКЦИИ КНОПОК ПЕРЕДАТЧИКА . . . . . . . . . . . . ...

Страница 4 - AVфункция; – снятие системы с охраны в два этапа.

4 • Отключения «ложных» срабатываний системы. • Охрана при запущенном двигателе. • AVфункция – снятие системы с охраны в два этапа. • Пассивная блокировка двигателя (функция иммобилайзера). • Восстановление заводских настроек. Передатчики, обладающие технологией защиты цифровых кодов от перехвата (K...

Страница 5 - Бесшумная активная постановка на охрану

Постановка на охрану Снятие с охраны Управление дополнитель-ным каналом CH2 Рис. 1 А АК КТ ТИ ИВ ВН НА АЯ Я П ПО ОС СТ ТА АН НО ОВ ВК КА А С СИ ИС СТ ТЕ ЕМ МЫ Ы Н НА А О ОХ ХР РА АН НУ У 1. Выключите двигатель, выйдите из автомобиля и закройте все двери, капот и багажник. 2. Один раз нажмите и отпус...

Характеристики

Другие модели - Автосигнализации Sheriff

Все автосигнализации Sheriff