Scarlett SC-AC1813 - Инструкция по эксплуатации

Scarlett SC-AC1813

Кондиционер Scarlett SC-AC1813 - инструкция пользователя по применению, эксплуатации и установке на русском языке. Мы надеемся, она поможет вам решить возникшие у вас вопросы при эксплуатации техники.

Если остались дополнительные вопросы — свяжитесь с нами через контактную форму.

1 Страница 1
2 Страница 2
3 Страница 3
4 Страница 4
5 Страница 5
6 Страница 6
7 Страница 7
8 Страница 8
9 Страница 9
10 Страница 10
11 Страница 11
12 Страница 12
13 Страница 13
14 Страница 14
15 Страница 15
16 Страница 16
17 Страница 17
18 Страница 18
19 Страница 19
20 Страница 20
21 Страница 21
22 Страница 22
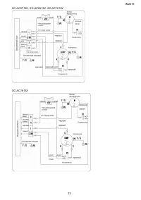
23 Страница 23
24 Страница 24
25 Страница 25
26 Страница 26
27 Страница 27
28 Страница 28
Страница: / 28
Загрузка инструкции

РУКОВОДСТВО ПО ЭКСПЛУАТАЦИИ

ЭЛЕКТРИЧЕСКИЙ КОНДИЦИОНЕР ВОЗДУХА. СПЛИТ

-

СИСТЕМА

Блоки электрических кондиционеров воздуха

сплит

-

системы для внутренней установки

SC-AC0713Y

SC-AC0913Y

SC-AC1213Y

SC-AC1813Y

SC-AC2413Y

Блоки электрических кондиционеров воздуха

сплит

-

системы для наружной установки

SC-AC0713X

SC-AC0913X

SC-AC1213X

SC-AC1813X

SC-AC2413X

"Загрузка инструкции" означает, что нужно подождать пока файл загрузится и можно будет его читать онлайн. Некоторые инструкции очень большие и время их появления зависит от вашей скорости интернета.

Характеристики

Другие модели - Кондиционеры Scarlett

Все кондиционеры Scarlett