Саундбары Samsung HW-A530 - инструкция пользователя по применению, эксплуатации и установке на русском языке. Мы надеемся, она поможет вам решить возникшие у вас вопросы при эксплуатации техники.
Если остались вопросы, задайте их в комментариях после инструкции.
"Загружаем инструкцию", означает, что нужно подождать пока файл загрузится и можно будет его читать онлайн. Некоторые инструкции очень большие и время их появления зависит от вашей скорости интернета.

KAZ - 10
3.
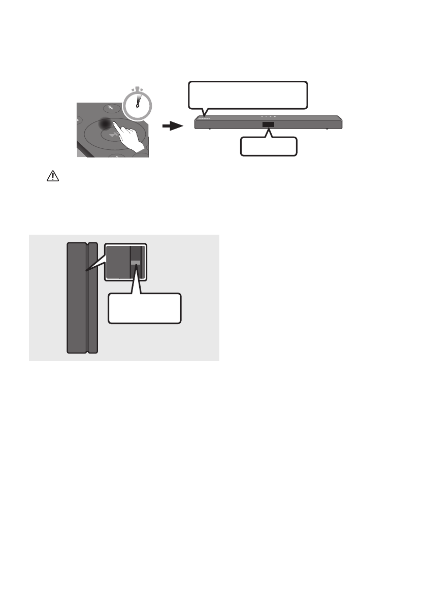
Қашықтан басқару пультіндегі
Жоғары
түймесін кемінде 5 секунд басып тұрыңыз.
• Soundbar құрылғысының дисплейінде
ID SET
хабары пайда болады, содан кейін
жоғалады.
•
ID SET
аяқталған кезде, Soundbar құрылғысы автоматты түрде қосылады.
ID SET
SOUN
D
MOD
E
PAIR
5 Sec
SAMSUNG логотипі жоғарғы
жағында
ЕСКЕРТУ
• Soundbar құрылғысын SWA-9100S құрылғысына жалғаған уақытта, онда музыка ойнап
жатса, жалғап біткенде, вуферден үзік дыбыстар шығады.
4.
LINK LED қою көк түсте (қосылым аяқталды) жанып тұрғанына көз жеткізіңіз.
STANDBY
LINK
STANDBY
LINK
Көк түс қосулы
екенін білдіреді
LINK LED индикаторы жыпылықтауын
тоқтатады, Soundbar құрылғысы мен
сымсыз қабылдағыш модуль арасында
байланыс орнатылғанда қою көк түсте
жанады.
5.
SWA-9100S жалғанбаса, процедураны 2-қадамнан бастап қайталаңыз.
Содержание
- 2 МЕРЫ ПРЕДОСТОРОЖНОСТИ; ПРЕДУПРЕЖДЕНИЯ ДЛЯ
- 3 МЕРЫ
- 4 СОДЕРЖАНИЕ; Проверка компонентов; Подключение устройства Soundbar; Подключение к ТВ; ОБ ЭТОМ РУКОВОДСТВЕ
- 6 1 ПРОВЕРКА КОМПОНЕНТОВ; Установка батареек перед использованием пульта
- 7 2 ОБЗОР УСТРОЙСТВА
- 8 Нижняя панель устройства Soundbar
- 10 Подключение устройства Soundbar к сабвуферу; Светодиодные индикаторные лампы на задней панели сабвуфера; Светодиодный
- 11 ID SET
- 15 4 ПОДКЛЮЧЕНИЕ К ТВ; Подключение ТВ с помощью кабеля HDMI
- 17 Подключение с помощью оптического кабеля; Перечень проверок перед подключением
- 18 Способ 2. Беспроводное подключение; Начальное подключение
- 20 5 ПОДКЛЮЧЕНИЕ К ВНЕШНЕМУ УСТРОЙСТВУ; Подключение с помощью кабеля HDMI
- 22 6 ПОДКЛЮЧЕНИЕ USB-НАКОПИТЕЛЯ; Список совместимых устройств
- 23 7 ПОДКЛЮЧЕНИЕ МОБИЛЬНОГО УСТРОЙСТВА; Подключение с помощью Bluetooth; При ошибке подключения устройства
- 24 В чем разница между режимами BT READY и BT PAIRING?
- 25 Отсоединение устройства Bluetooth от устройства Soundbar; Отключение устройства Soundbar от устройства Bluetooth
- 26 Подключение нескольких устройств Bluetooth; Функция многократного сопряжения по Bluetooth
- 27 Как использовать пульт дистанционного управления
- 31 Использование скрытых кнопок (кнопок с несколькими функциями)
- 32 Меры предосторожности при
- 34 Как проверить версию
- 35 Процедура обновления; Если UPDATE не отображается
- 36 1 ПОИСК И УСТРАНЕНИЕ НЕИСПРАВНОСТЕЙ
- 40 5 СПЕЦИФИКАЦИИ И РУКОВОДСТВО; Технические характеристики; Акустическая система
- 42 Дата выпуска
Характеристики
Остались вопросы?Не нашли свой ответ в руководстве или возникли другие проблемы? Задайте свой вопрос в форме ниже с подробным описанием вашей ситуации, чтобы другие люди и специалисты смогли дать на него ответ. Если вы знаете как решить проблему другого человека, пожалуйста, подскажите ему :)













