Саундбары Samsung HW-A530 - инструкция пользователя по применению, эксплуатации и установке на русском языке. Мы надеемся, она поможет вам решить возникшие у вас вопросы при эксплуатации техники.
Если остались вопросы, задайте их в комментариях после инструкции.
"Загружаем инструкцию", означает, что нужно подождать пока файл загрузится и можно будет его читать онлайн. Некоторые инструкции очень большие и время их появления зависит от вашей скорости интернета.

RUS - 10
3.
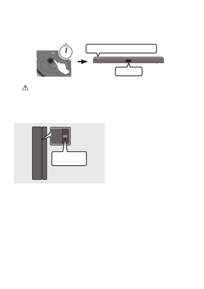
Нажмите и удерживайте кнопку
Вверх
на пульте дистанционного управления не менее 5 секунд.
• На дисплее Soundbar кратковременно отобразится сообщение
ID SET
, которое через
некоторое время исчезнет.
• Soundbar включится автоматически после выполнения действия
ID SET
.
ID SET
SOUN
D
MOD
E
PAIR
5 Sec
Логотип SAMSUNG на верхней панели
ВНИМАНИЕ
• Если во время подключения к SWA-9100S на Soundbar воспроизводилась музыка, по завершении
подключения из низкочастотного динамика могут быть слышны прерывистые звуки.
4.
Убедитесь, что светодиод LINK непрерывно подсвечивается синим цветом (подключение
выполнено).
STANDBY
LINK
STANDBY
LINK
Включена синяя
подсветка
Светодиодный индикатор LINK
прекращает мигать и непрерывно
подсвечивается синим цветом, когда
между Soundbar и беспроводным
модулем приемника установлено
соединение.
5.
Если подключение SWA-9100S не выполнено, повторите процедуру, начиная с шага 2.
Содержание
- 2 МЕРЫ ПРЕДОСТОРОЖНОСТИ; ПРЕДУПРЕЖДЕНИЯ ДЛЯ
- 3 МЕРЫ
- 4 СОДЕРЖАНИЕ; Проверка компонентов; Подключение устройства Soundbar; Подключение к ТВ; ОБ ЭТОМ РУКОВОДСТВЕ
- 6 1 ПРОВЕРКА КОМПОНЕНТОВ; Установка батареек перед использованием пульта
- 7 2 ОБЗОР УСТРОЙСТВА
- 8 Нижняя панель устройства Soundbar
- 10 Подключение устройства Soundbar к сабвуферу; Светодиодные индикаторные лампы на задней панели сабвуфера; Светодиодный
- 11 ID SET
- 15 4 ПОДКЛЮЧЕНИЕ К ТВ; Подключение ТВ с помощью кабеля HDMI
- 17 Подключение с помощью оптического кабеля; Перечень проверок перед подключением
- 18 Способ 2. Беспроводное подключение; Начальное подключение
- 20 5 ПОДКЛЮЧЕНИЕ К ВНЕШНЕМУ УСТРОЙСТВУ; Подключение с помощью кабеля HDMI
- 22 6 ПОДКЛЮЧЕНИЕ USB-НАКОПИТЕЛЯ; Список совместимых устройств
- 23 7 ПОДКЛЮЧЕНИЕ МОБИЛЬНОГО УСТРОЙСТВА; Подключение с помощью Bluetooth; При ошибке подключения устройства
- 24 В чем разница между режимами BT READY и BT PAIRING?
- 25 Отсоединение устройства Bluetooth от устройства Soundbar; Отключение устройства Soundbar от устройства Bluetooth
- 26 Подключение нескольких устройств Bluetooth; Функция многократного сопряжения по Bluetooth
- 27 Как использовать пульт дистанционного управления
- 31 Использование скрытых кнопок (кнопок с несколькими функциями)
- 32 Меры предосторожности при
- 34 Как проверить версию
- 35 Процедура обновления; Если UPDATE не отображается
- 36 1 ПОИСК И УСТРАНЕНИЕ НЕИСПРАВНОСТЕЙ
- 40 5 СПЕЦИФИКАЦИИ И РУКОВОДСТВО; Технические характеристики; Акустическая система
- 42 Дата выпуска
Характеристики
Остались вопросы?Не нашли свой ответ в руководстве или возникли другие проблемы? Задайте свой вопрос в форме ниже с подробным описанием вашей ситуации, чтобы другие люди и специалисты смогли дать на него ответ. Если вы знаете как решить проблему другого человека, пожалуйста, подскажите ему :)













