Саратов 505-02 КШ-120 Белый - Инструкция по эксплуатации

Саратов 505-02 КШ-120 Белый

Холодильник Саратов 505-02 КШ-120 Белый - инструкция пользователя по применению, эксплуатации и установке на русском языке. Мы надеемся, она поможет вам решить возникшие у вас вопросы при эксплуатации техники.

Если остались дополнительные вопросы — свяжитесь с нами через контактную форму.

1 Страница 1
2 Страница 2
3 Страница 3
4 Страница 4
5 Страница 5
6 Страница 6
7 Страница 7
8 Страница 8
9 Страница 9
10 Страница 10
11 Страница 11
12 Страница 12
13 Страница 13
14 Страница 14
15 Страница 15
16 Страница 16
17 Страница 17
18 Страница 18
19 Страница 19
20 Страница 20
21 Страница 21
22 Страница 22
23 Страница 23
24 Страница 24
25 Страница 25
26 Страница 26
27 Страница 27
28 Страница 28
29 Страница 29
30 Страница 30
Страница: / 30

Содержание:

  • Страница 4 – Комплектность; Наименование; Требования безопасности
  • Страница 6 – Устройство холодильника
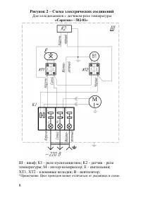
  • Страница 8 – Рисунок 2 – Схема электрических соединений; Для холодильников с датчиком-реле температуры; *Примечание: Цвет проводов может отличаться от указанных в схеме.
  • Страница 9 – Рисунок 3 – Схема электрических соединений; Для холодильников с электронным контроллером температуры; Подготовка к работе; Перед
  • Страница 11 – при установке температуры на табло эл. контроллера; Блокировка/разблокировка клавиатуры; Loc; Включение/выключение прибора
  • Страница 12 – В холодильнике могут быть слышны щелчки
  • Страница 14 – Возможные неисправности и методы их устранения; Перечень возможных неисправностей и методы их устранения
  • Страница 16 – Утилизация
  • Страница 17 – Продан магазином; Установлен; ЕШ
  • Страница 23 – холодильников, морозильников «Саратов»
Загрузка инструкции

1

Изготовитель: ООО «БЕРКУТ-2000»
РФ, 410040, г. Саратов, пр-т 50 лет Октября, пл. Ленина,
Корпус СЭПО. Тел/факс (8452) 308-379, 308-222

ВНИМАНИЮ ПОКУПАТЕЛЕЙ!

При покупке холодильника в магазине проверьте:

отсутствие механических повреждений;

работоспособность и комплектность;

наличие в отрывных талонах № 1, № 2, № 3, № 4

отметки о дате продажи и штампа магазина.

Установку холодильника, пуск его в работу, инструктаж

по технике безопасности и отметку в руководстве по
эксплуатации производит механик торгующей организации
или специализированной организации по договорам с тор-
говой сетью. Механик изымает только талон на установку.

Владелец может устанавливать и пускать в работу

холодильник самостоятельно с соблюдением правил
техники безопасности. В случае выхода из строя
холодильника по причине неправильной установки, если
это будет доказано продавцом или изготовителем,
холодильник гарантийному ремонту не подлежит.

Талон № 1 на техническое обслуживание заполняется и

изымается механиком обслуживающей организации,
только при условии вызова владельцем холодильника, в
связи с обнаруженной неисправностью и устранением ее
без замены деталей.

Талоны № 2, № 3, № 4 на гарантийный ремонт

заполняются и изымаются в случае замены неисправной
сборочной единицы или детали.

При изъятии талонов механик должен заполнять и

расписываться на корешке талона.
В

связи

с

постоянным

совершенствованием

конструкции, в Вашем холодильнике могут быть
незначительные изменения, не отраженные в РЭ.

"Загрузка инструкции" означает, что нужно подождать пока файл загрузится и можно будет его читать онлайн. Некоторые инструкции очень большие и время их появления зависит от вашей скорости интернета.

Краткое содержание

Страница 4 - Комплектность; Наименование; Требования безопасности

4 3. Комплектность Наименование Кол-во, Шт 1 Упакованный холодильник 1 2 Руководство по эксплуатации 1 3 Полка решетчатая * 4 *При необходимости, холодильник может комплектоваться большим количеством полок, до 6 шт. 4. Требования безопасности 4.1. Перед подключением холодильника к электрической сети...

Страница 6 - Устройство холодильника

6 5. Устройство холодильника 5.1. Основные узлы и детали холодильника показаны на рисунке 1. 5.2. Дверь холодильников изготовлена из стеклопакета с металлическим или пластиковым обрамлением. На заказ может устанавливаться глухая, металлическая дверь. 5.3. Испаритель расположен на задней стенке внутр...

Страница 8 - Рисунок 2 – Схема электрических соединений; Для холодильников с датчиком-реле температуры; *Примечание: Цвет проводов может отличаться от указанных в схеме.

8 Рисунок 2 – Схема электрических соединений Для холодильников с датчиком-реле температуры «Саратов» - 502-01» Ш - шкаф; К1 - реле пускозащитное; К2 - датчик - реле температуры; М - мотор-компрессор; Е - светильник; ХТ1, ХТ2 - клеммные колодки; В - вентилятор. *Примечание: Цвет проводов может отлича...

Характеристики

Другие модели - Холодильники Саратов

Все холодильники Саратов