Страница 3 - нарушение электропроводки холодильника; Технические данные
применения самодельных электрическихприборов; ремонт холодильника лицами, не уполномо-ченными на производство гарантийного ремонта; нарушение пломбировок пускозащитного реле идатчика контроллера температуры; нарушение электропроводки холодильника; включение холодильника в электросеть сколе...
Страница 7 - Устройство холодильника
5. Устройство холодильника 5.1. Основные узлы и детали холодильника показаны на рисунке 1. 5.2. Дверь холодильников изготовлена из стеклопакета с металлическим или пластиковым обрамлением. На заказ может устанавливаться глухая, металлическая дверь. 5.3. Испаритель расположен на задней стенке внутрен...
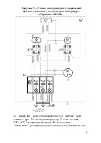
Страница 9 - Рисунок 2 – Схема электрических соединений; Для холодильников с датчиком-реле температуры; *Примечание: Цвет проводов может отличаться от указанных в схеме.
Рисунок 2 – Схема электрических соединений Для холодильников с датчиком-реле температуры «Саратов» - 502-01» Ш - шкаф; К1 - реле пускозащитное; К2 - датчик - реле температуры; М - мотор-компрессор; Е - светильник;ХТ1, ХТ2 - клеммные колодки; В - вентилятор. *Примечание: Цвет проводов может отличатьс...
Страница 10 - Рисунок 3 – Схема электрических соединений; Для холодильников с электронным контроллером температуры; Подготовка к работе; Перед пользованием холодильником необходимо
Рисунок 3 – Схема электрических соединений Для холодильников с электронным контроллером температуры «Саратов» - 502-02 Ш - шкаф; К1 - реле пускозащитное; EV3X21 - контроллер температуры; М - мотор-компрессор; Е - светильник;ХТ1, ХТ2 - клеммные колодки; В - вентилятор. *Примечание: Цвет проводов може...
Страница 12 - при установке температуры на табло эл. контроллера; Блокировка/разблокировка клавиатуры; Loc; Включение/выключение прибора
Для холодильников «Саратов» - 502-02 с электронным контроллером температуры 7.1 Включить холодильник в сеть. (Запуск компрессора произойдет через 5 минут после включения.) 7.2 Для контроля за процессом охлаждения и поддержания температурного режима в холодильнике установленэлектронный блок (контролл...
Страница 16 - Свидетельство о приемке и продаже; Гарантии изготовителя
11. Свидетельство о приемке и продаже ХОЛОДИЛЬНИК «САРАТОВ» – 502-01 «САРАТОВ» – 502-02 № __________________ Изготовитель: ООО «БЕРКУТ-2000»РФ, 410040, г. Саратов, пр-т 50 лет Октября, пл. Ленина,Корпус СЭПО. Тел/факс (8452) 308-379, 308-222 ТУ5156-003-26867771-2015Соответствует требованиям техничес...
Страница 17 - Утилизация; отсоединить вилку от сети и перерезать провод
12.2. Срок службы холодильника 15 лет. После 15 летэксплуатации холодильник может представлятьопасность для жизни, здоровья и имуществапотребителя. 13. Утилизация 13.1. По истечении установленного срока службы (15 лет)рекомендуется Вам обратиться в сервиснуюмастерскую для технического освидетельство...
Страница 18 - Продан магазином; Установлен; Пущен в работу механиком; Механик; Владелец холодильника
ТАЛОН НА УСТАНОВКУ ХОЛОДИЛЬНИКА «САРАТОВ» – 502-01 «САРАТОВ» – 502-02 холодильник №________________________ Продан магазином _________________________ (наименование и номер магазина, и его адрес) Установлен ________________________________ (город, улица, номер дома и номер квартиры) ________________...
Страница 19 - Установить опоры, выставить холодильник в устойчивое
ПЕРЕЧЕНЬ РАБОТ, ВЫПОЛНЯЕМЫХ МЕХАНИКОМ ПРИ УСТАНОВКЕ ХОЛОДИЛЬНИКА У ВЛАДЕЛЬЦА Установить опоры, выставить холодильник в устойчивое положение, отрегулировав опоры передние. Ликвидировать возможные стуки и дребезжание трубопроводов холодильного агрегата. Проверитьэлектропроводку, запуск электродвигател...
Страница 24 - холодильников, морозильников «Саратов»
Перечень местонахождения мастерских , производящих гарантийный ремонт холодильников, морозильников «Саратов» №п/п Почтовый адрес организации Наименование организации Телефон организации 1 Адыгея г. Майкоп, ул. Курганная, 328 ИП А.С. Андрющенко (8772)53-06-39 2 Алтайский край г. Барнаул, ул. Северо-З...
Страница 29 - service
103 Тюменская область г. Ишим, ул. Иркутская, 16 ИП А.А. Черногор (34551)7-64-74 (34551)5-05-11 104 г. Тобольск, пер. Знаменский, стр. 4 ТЦ «Симпатия» пав. №42 СЦ «Бытовик» ИП Обухова О.Н. (3456) 27-34-39,7-922-471-2731 105 г. Тюмень, ул. Республики, 143 ООО «Элит-Сервис» (3452)95-07-17, (3452)20-10...