Пылесос LG CordZero A9ESSENTIAL - инструкция пользователя по применению, эксплуатации и установке на русском языке. Мы надеемся, она поможет вам решить возникшие у вас вопросы при эксплуатации техники.
Если остались вопросы, задайте их в комментариях после инструкции.
"Загружаем инструкцию", означает, что нужно подождать пока файл загрузится и можно будет его читать онлайн. Некоторые инструкции очень большие и время их появления зависит от вашей скорости интернета.

18
EN
8
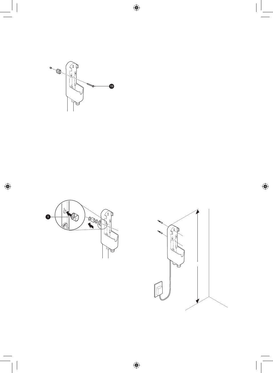
Anchor the charging station to the wall with the
stand anchoring screw
j
.
9
Plug the power cord into the power outlet.
Use double-sided tape
Use double-sided tape to attach the wall anchoring
block
a
to the charging station and the wall.
•
Do not use double-sided tape on wallpaper.
•
Remove the center section of double-sided
tape. Attach the wall anchoring block to the
charging station by using the tape.
•
Attach the second piece of double-sided tape
to the other side of the wall anchoring block,
and use it to temporarily anchor the charging
station to the wall in the desired location.
Wall-Mounted Installation
For wall-mounted installations, the charging station
must be attached securely to the wall using the
provided (short) wall anchoring screws.
1
Connect the power adapter to the port on the
back of the charging station.
2
Before drilling, make sure that there are no
pipes or electrical wires inside the wall at the
desired location.
3
Hold the charging station at least 1 m from the
floor and near enough to easily reach a power
outlet. Mark the positions of the screw holes
on the wall.
4
Drill 2 holes at the marked positions and insert
the drywall anchor.
•
Before drilling, make sure that there are no
pipes or electrical wires inside the wall at
the desired location.
•
For drywall anchor: use 6.5 mm drill bit
•
Recommended diameter of hole: 6.5 mm
•
Recommended depth: 60 mm
•
If screwing into drywall, the drywall anchor
should be used.
1m
Содержание
- 43 СОДЕРЖАНИЕ; ТЕХНИКА БЕЗОПАСНОСТИ
- 44 Сообщения по технике безопасности; Чтение сообщений по технике безопасности
- 46 Установка
- 47 Эксплуатация
- 52 Моющая насадка
- 54 Компоненты и их характеристики; Напольный вариант; УСТАНОВКА
- 55 Принадлежности; Принадлежности, входящие в комплект
- 57 Технические характеристики; Прибор; Адаптер питания зарядного устройства
- 58 Напольная установка
- 60 используйте двусторонний скотч; Настенная установка
- 61 Компактная установка
- 62 Сборка прибора; Хранение; Хранение насадок
- 64 ЭКСПЛУАТАЦИЯ; Начало работы; Подготовка к использованию
- 65 Регулировка силы всасывания с
- 66 Зарядка аккумулятора
- 68 Заполнение бачка для воды
- 70 Уборка моющей насадкой; Сушка бачка для воды и; Сушка бачка для воды
- 71 Использование насадок
- 72 Комбинированная насадка; Щелевая насадка
- 73 Гибкая щелевая насадка; Насадка с переменным углом
- 74 ТЕХНИЧЕСКОЕ ОБСЛУЖИВАНИЕ; Чистка прибора; Подготовка к чистке прибора
- 75 Очистка фильтров
- 78 Очистка моющей насадки
- 79 Перед обращением в сервисный центр; Руководство по поиску и устранению неисправностей; ПОИСК И УСТРАНЕНИЕ НЕИСПРАВНОСТЕЙ
- 82 Информация о системных стандартах