Проигрыватели BBK DL-371S - инструкция пользователя по применению, эксплуатации и установке на русском языке. Мы надеемся, она поможет вам решить возникшие у вас вопросы при эксплуатации техники.
Если остались вопросы, задайте их в комментариях после инструкции.
"Загружаем инструкцию", означает, что нужно подождать пока файл загрузится и можно будет его читать онлайн. Некоторые инструкции очень большие и время их появления зависит от вашей скорости интернета.

ÂÂÅÄÅÍÈÅ
6
ÂÂÅÄÅÍÈÅ
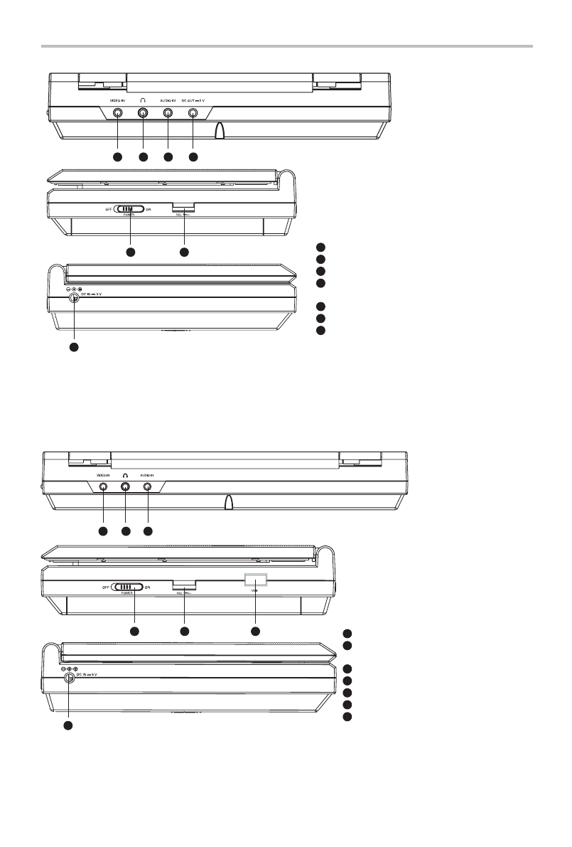
Îáùèé âèä áîêîâûõ ïàíåëåé ïîðòàòèâíîãî DVD
−
ïëååðà DL371S
Êîìïîçèòíûé âèäåîâõîä
Ðàçúåì äëÿ ïîäêëþ÷åíèÿ íàóøíèêîâ
Ñòåðåîôîíè÷åñêèé àóäèîâõîä
Ðàçúåì äëÿ ïîäêëþ÷åíèÿ âíåøíåãî 
îáîðóäîâàíèÿ
Âûêëþ÷àòåëü ïèòàíèÿ
Ðåãóëèðîâêà ãðîìêîñòè
Ðàçúåì äëÿ ïîäêëþ÷åíèÿ àäàïòåðà 
ïèòàíèÿ
1
2
3
4
5
6
7
5
6
7
1
2
3
4
Îáùèé âèä áîêîâûõ ïàíåëåé ïîðòàòèâíîãî DVD
−
ïëååðà DL381S
Êîìïîçèòíûé âèäåîâõîä
Ðàçúåì äëÿ ïîäêëþ÷åíèÿ 
íàóøíèêîâ
Ñòåðåîôîíè÷åñêèé àóäèîâõîä
Âûêëþ÷àòåëü ïèòàíèÿ
Ðåãóëèðîâêà ãðîìêîñòè
USB2.0-ïîðò
Ðàçúåì äëÿ ïîäêëþ÷åíèÿ 
àäàïòåðà ïèòàíèÿ
7
1
2
3
4
5
6
1
2
3
4
5
6
7
 
  
  
  
  
  
  
  
  
  
  
  
  
  
  
  
  
  
  
  
  
  
  
  
  
  
  
  
  
 











