Проигрыватели BBK DK1010S - инструкция пользователя по применению, эксплуатации и установке на русском языке. Мы надеемся, она поможет вам решить возникшие у вас вопросы при эксплуатации техники.
Если остались вопросы, задайте их в комментариях после инструкции.
"Загружаем инструкцию", означает, что нужно подождать пока файл загрузится и можно будет его читать онлайн. Некоторые инструкции очень большие и время их появления зависит от вашей скорости интернета.

5
ВВЕДЕНИЕ
Расположение и функции органов управления
Общий вид VFD−дисплея
5
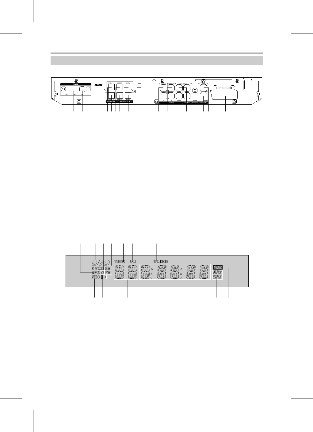
Общий вид задней панели
: ;
<=>?@A
B
:
MP3 диск
;
CD , VCD или SVCD диск
<
DVD диск
=
Повтор
>
FM/AM диапазон
?
Индикатор состояния радио
@
Индикатор состояния тюнера
A
Стерео
B
Dolby Digital
C
Запрограммированные радиостанции
0
Частота
1
Время воспроизведения
2
Глава или трек
3
Воспроизведение или пауза
4
PBC*
:
Разъем для подключения антенны AM диапазона
;
Разъем для подключения антенны FM диапазона
<
Разъем для подключения левого фронтального громкоговорителя (выход со встроенного усилителя)
=
Разъем для подключения правого фронтального громкоговорителя (выход со встроенного усилителя)
>
Разъем для подключения центрального громкоговорителя (выход со встроенного усилителя)
?
Разъем для подключения сабвуфера (выход со встроенного усилителя)
@
Разъем для подключения левого громкоговорителя окружающего звука (выход со встроенного
усилителя)
A
Разъем для подключения правого громкоговорителя окружающего звука (выход со встроенного
усилителя)
B
Разъем аудиовхода
C
Стереофонический аудиовыход
0
Разъем коаксиального цифрового аудиовыхода
1
Разъем компонентного видеовыхода Y Cb (Pb) Сr (Pr)
2
Разъем оптического цифрового аудиовыхода
3
Разъем видеовыхода S Video
4
Разъем композитного видеовыхода
5
Разъем SCART
0
2 3
: ; < = >
? @
A B
C
0
1
2
3
4
C
1
4
* Play Black Control – отключаемая функция, применима к Super VCD и VCD2.0 дискам. Позволяет
использовать меню (похожее на меню в DVD дисках) для выбора последовательности воспроизведения.