Проигрыватели BBK DK1010S - инструкция пользователя по применению, эксплуатации и установке на русском языке. Мы надеемся, она поможет вам решить возникшие у вас вопросы при эксплуатации техники.
Если остались вопросы, задайте их в комментариях после инструкции.
"Загружаем инструкцию", означает, что нужно подождать пока файл загрузится и можно будет его читать онлайн. Некоторые инструкции очень большие и время их появления зависит от вашей скорости интернета.

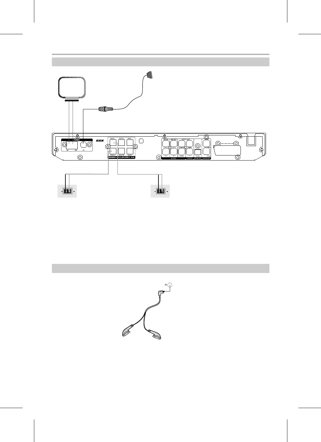
Подключение FM/AM антенн
Подключение наушников
ПОДКЛЮЧЕНИЕ
13
Задняя панель
AM антенна
FM антенна
• Если Вы хотите принимать радиостанции, выполните подключения в соответствии с рисунком вверху.
Нажмите клавишу FUNCTION, чтобы переключить систему в режим радио.
• При прослушивании радиостанций встроенный декодер Dolby Pro Logic II не работает, поэтому звучать
будут только левый и правый фронтальные громкоговорители.
ПРИМЕЧАНИЕ
• При подключении рамочной AM антенны подключите сигнальный и заземляющий провода
к соответствующим разъемам на задней панели устройства.
Правый фронтальный
громкоговоритель
Левый фронтальный
громкоговоритель
ПРИМЕЧАНИE
• На наушники подается стереофонический сигнал, поэтому при использовании наушников установите
параметр DOWNMIX в один из режимов: СТЕРЕО, LT/RT, V SURR.