Посудомоечные машины Smeg STL62339LDE - инструкция пользователя по применению, эксплуатации и установке на русском языке. Мы надеемся, она поможет вам решить возникшие у вас вопросы при эксплуатации техники.
Если остались вопросы, задайте их в комментариях после инструкции.
"Загружаем инструкцию", означает, что нужно подождать пока файл загрузится и можно будет его читать онлайн. Некоторые инструкции очень большие и время их появления зависит от вашей скорости интернета.

Инструкции
для
пользователя
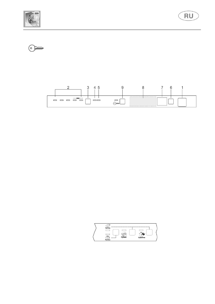
9
ЗАЩИТА
ОТ
ДЕТЕЙ
(
имеются
только
в
некоторых
моделях
)
для
ее
включения
нажмите
кнопку
(
загорится
индикатор
).
Когда
защита
включена
,
открытие
дверцы
подтверждается
тремя
повторяющимися
звуковыми
сигналами
.
Поэтому
,
необходимо
нажать
на
панель
и
не
отпускать
до
3-
го
звукового
сигнала
,
после
чего
сразу
же
отпустить
.
Если
дверца
остается
нажатой
после
третьего
звукового
сигнала
,
то
она
не
откроется
,
и
необходимо
будет
повторить
операцию
.
ВЫБОР
ФУНКЦИЙ
Функции
выбираются
нажатием
соответствующей
кнопки
,
расположенной
рядом
с
символом
необходимой
функции
,
индикатор
загорится
в
знак
подтверждения
включения
.
Нельзя
выбирать
функции
,
когда
выполняется
программа
замачивания
.
Все
функции
,
кроме
"Flexi Tabs"
отключаются
в
конце
цикла
мойки
.
Для
отключения
функции
"Flexi Tabs"
нажмите
соответствующую
кнопку
(
индикатор
погаснет
).
Все
функции
,
в
том
числе
и
"Flexi Tabs",
отключаются
при
ОТМЕНЕ
начавшейся
программы
.
ДОПОЛНИТЕЛЬНЫЕ
ФУНКЦИИ
Некоторые
модели
оборудованы
дополнительными
функциями
,
которые
включаются
одновременным
нажатием
двух
кнопок
.
В
этом
случае
на
рисунке
линией
объединяются
символ
дополнительной
функции
и
две
кнопки
,
которые
необходимо
нажимать
одновременно
для
ее
включения
. (
напр
.,
“Flexi Tabs”
на
рисунке
)
Содержание
- 2 Описание; Панель
- 3 Err
- 6 ДОПОЛНИТЕЛЬНЫЕ; читайте; ВАЖНО; прочтите; ПРИМЕЧАНИЯ; на
- 7 «ENERSAVE»; ENERSAVE; ССЫЛКИ; НА; ENERGY LABEL; для; EN
- 8 Программы; Внимание
- 9 “Flexi Tabs”
- 11 ULTRA CLEAN; отсутствии
- 13 Используйте
- 14 ВЫНИМАНИЕ
- 15 Инструкции; Использование; циклов
- 18 ДОБАВЛЕНИЕ
- 19 НАСТРОЙКА; ТАБЛИЦА; мл
- 20 ЗАЛИВКА
- 22 Общие
- 24 НИЖНЯЯ
- 25 ЗАГРУЗКА
- 30 Откидные
- 33 Чистка; Предупреждения
- 35 ОЧИСТКА
- 38 Если
- 40 Исправление; acquastop
- 41 электронасос
Характеристики
Остались вопросы?Не нашли свой ответ в руководстве или возникли другие проблемы? Задайте свой вопрос в форме ниже с подробным описанием вашей ситуации, чтобы другие люди и специалисты смогли дать на него ответ. Если вы знаете как решить проблему другого человека, пожалуйста, подскажите ему :)













