Посудомоечные машины Smeg STL62339LDE - инструкция пользователя по применению, эксплуатации и установке на русском языке. Мы надеемся, она поможет вам решить возникшие у вас вопросы при эксплуатации техники.
Если остались вопросы, задайте их в комментариях после инструкции.
"Загружаем инструкцию", означает, что нужно подождать пока файл загрузится и можно будет его читать онлайн. Некоторые инструкции очень большие и время их появления зависит от вашей скорости интернета.

Инструкции
для
пользователя
14
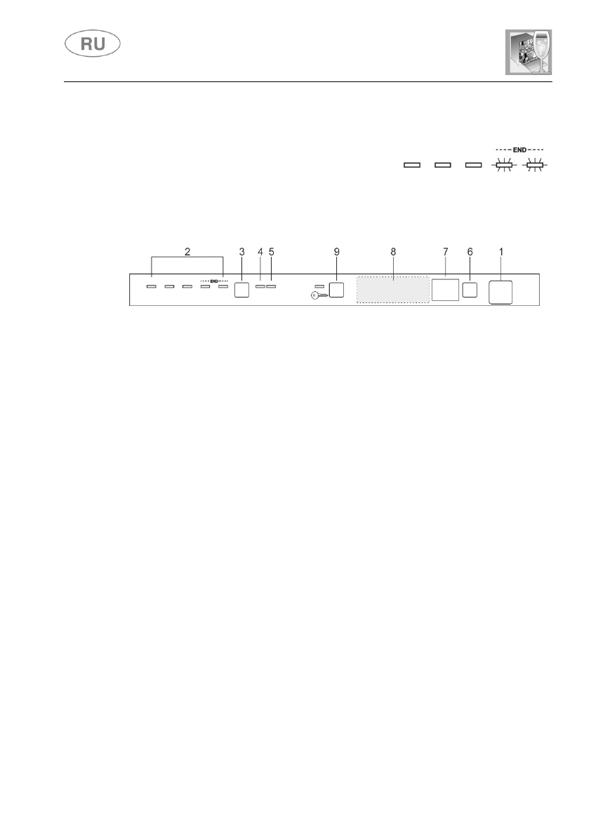
ВЫКЛЮЧЕНИЕ
В
конце
программы
посудомоечная
машина
подаст
короткий
звуковой
сигнал
,
кроме
того
,
начнут
мигать
индикаторы
,
относящиеся
к
программам
№
4
и
5
(
помечены
надписью
"end").
Чтобы
выключить
машину
следует
открыть
дверцу
и
нажать
кнопку
ВКЛ
/
ВЫКЛ
(1)
.
ЭКОНОМИЯ
ЭНЕРГИИ
Спустя
5
минут
бездействия
(
цикл
мойки
завершен
,
прерван
,
был
выбран
,
но
не
запущен
)
для
снижения
расхода
энергии
посудомоечная
машина
переходит
в
состояние
ожидания
.
В
этом
состоянии
сигналы
посудомоечной
машины
(
при
помощи
индикаторов
или
дисплея
в
зависимости
от
моделей
)
отображаются
более
медленно
(
1
вспышка
через
каждые
5
секунд
).
ВЫНИМАНИЕ
ПОСУДЫ
После
завершения
программы
мойки
подождите
не
менее
20
минут
перед
тем
,
как
вынуть
посуду
,
чтобы
она
остыла
.
Чтобы
предотвратить
падение
капель
воды
,
оставшихся
в
верхней
корзине
,
на
посуду
,
находящуюся
в
нижней
корзине
,
рекомендуется
вынуть
посуду
сначала
из
нижней
корзины
,
а
потом
из
верхней
.
Содержание
- 2 Описание; Панель
- 3 Err
- 6 ДОПОЛНИТЕЛЬНЫЕ; читайте; ВАЖНО; прочтите; ПРИМЕЧАНИЯ; на
- 7 «ENERSAVE»; ENERSAVE; ССЫЛКИ; НА; ENERGY LABEL; для; EN
- 8 Программы; Внимание
- 9 “Flexi Tabs”
- 11 ULTRA CLEAN; отсутствии
- 13 Используйте
- 14 ВЫНИМАНИЕ
- 15 Инструкции; Использование; циклов
- 18 ДОБАВЛЕНИЕ
- 19 НАСТРОЙКА; ТАБЛИЦА; мл
- 20 ЗАЛИВКА
- 22 Общие
- 24 НИЖНЯЯ
- 25 ЗАГРУЗКА
- 30 Откидные
- 33 Чистка; Предупреждения
- 35 ОЧИСТКА
- 38 Если
- 40 Исправление; acquastop
- 41 электронасос
Характеристики
Остались вопросы?Не нашли свой ответ в руководстве или возникли другие проблемы? Задайте свой вопрос в форме ниже с подробным описанием вашей ситуации, чтобы другие люди и специалисты смогли дать на него ответ. Если вы знаете как решить проблему другого человека, пожалуйста, подскажите ему :)













