Посудомоечные машины Kuppersberg GFM 5560 - инструкция пользователя по применению, эксплуатации и установке на русском языке. Мы надеемся, она поможет вам решить возникшие у вас вопросы при эксплуатации техники.
Если остались вопросы, задайте их в комментариях после инструкции.
"Загружаем инструкцию", означает, что нужно подождать пока файл загрузится и можно будет его читать онлайн. Некоторые инструкции очень большие и время их появления зависит от вашей скорости интернета.

112
ПАСПОРТ ТЕХНИЧЕСКОГО ИЗДЕЛИЯ
РУССКИЙ
Посудомоечная машина
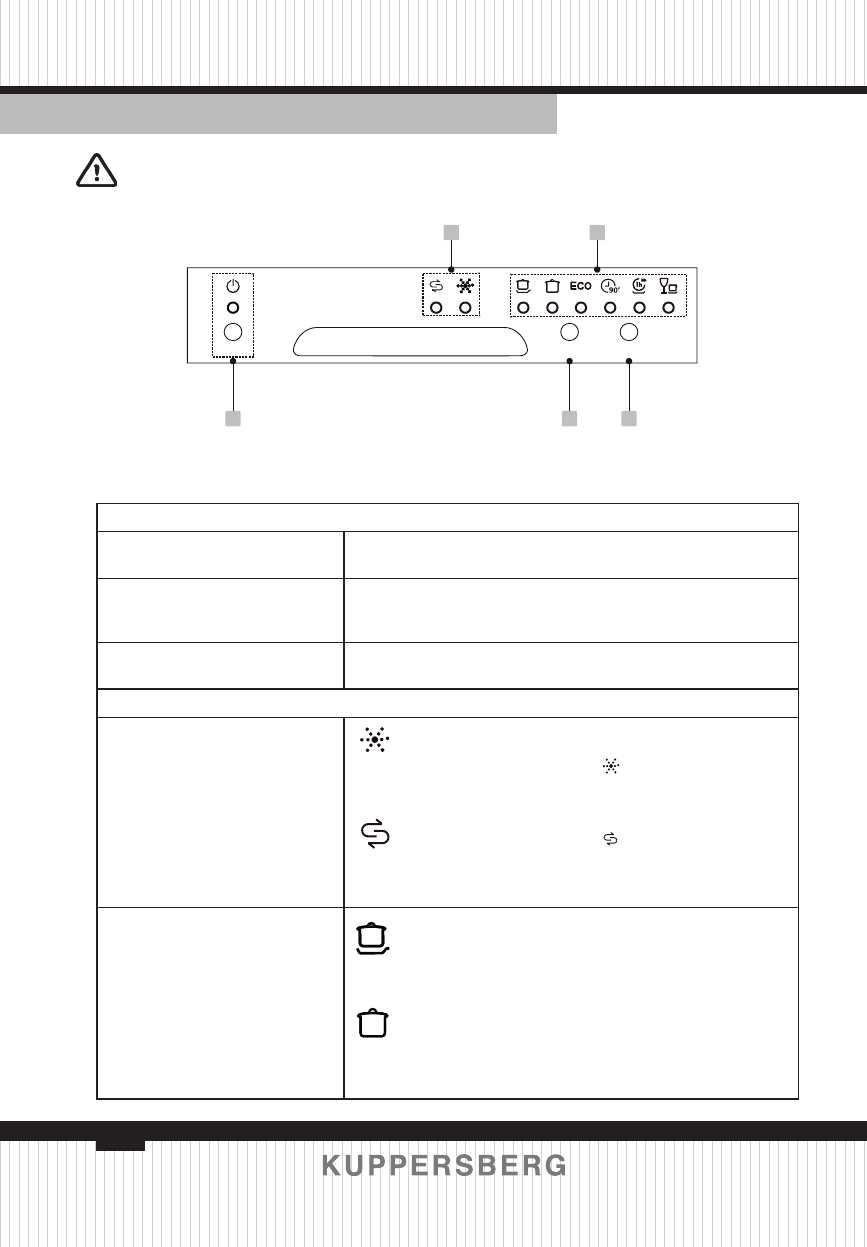
И С П О Л Ь З О В А Н И Е П О СУ Д О М О Е Ч Н О Й М А Ш И Н Ы
Панель управления
P o wer
P ro gram Start/Reset
1
2
3
5
4
Кнопки управления
1 Power (Включение питания)
Эта кнопка используется для включения посудомоечной ма
-
шины, одновременно с этим начинает светиться экран дисплея.
2 Program (Программа)
Эта кнопка используется для выбора необходимой программы
мытья, одновременно с этим загорается индикатор выбранной
программы.
3 Start / Pause (Пуск / пауза)
Эта кнопка используется для запуска выбранной программы
стирки или приостановки работающей программы.
Дисплей
4 Предупреждающие индикато
-
ры
Индикатор необходимости добавления ополаскива
-
теля
Если загорается индикатор , это означает, что в по
-
судомоечной машине заканчивается ополаскиватель и
его необходимо долить.
Индикатор необходимости добавления соли
Если загорается индикатор , это означает, что в по
-
судомоечной машине заканчивается соль и необходи
-
мо заполнить соответствующий контейнер.
5 Индикатор программы
Интенсивное мытье
Для сильно загрязненной посуды, а также нормально
загрязненных кастрюль, сковород, форм для запекания
и т.д. , а также посуды с присохшими остатками пищи.
Нормальный режим
Для мытья посуды с нормальным уровнем загрязне
-
ния, например, кастрюль, тарелок, стаканов и незначи
-
тельно загрязненных сковород.
Содержание
- 30 Gerät den Einstellungsmodus und wechselt in den Standby-Modus.; diesen Abschnitt überspringen. WASSERENTHÄRTUNGSGERÄT; diesen Zweck entwickeltem Salz sicherstellt.
- 86 СОД Е РЖА Н И Е
- 87 Ч АС Т Ь I: О Б Щ Е Е О П И СА Н И Е; И Н Ф О Р М А Ц И Я; ПРЕДУПРЕЖДЕНИE
- 88 И Н С Т Р У К Ц И Я
- 90 У Т И Л И З А Ц И Я
- 91 О П И СА Н И Е П Р И Б О РА; тивность при использовании данного прибора.; Корзина
- 92 И С П О Л Ь З О В А Н И Е П О СУ Д О М О Е Ч Н О Й М А Ш И Н Ы; ПРЕДУПРЕЖДЕНИЕ
- 94 Т Е Х Н И Ч Е С КО Е О Б С Л УЖ И В А Н И Е И Ч И С Т К А; Дверь и уплотнение двери; Уход за внутренними; Система фильтрации
- 95 Распылительное коромысло
- 96 Предотвращение замораживания
- 97 Если не планируется использовать
- 98 Перед использованием прибора
- 100 П О Д СО Е Д И Н Е Н И Е С Л И В Н Ы Х Ш Л А Н Г О В; Сливной шланг должен быть надеж
- 101 Как слить остатки воды из шлангов; РА З М Е Щ Е Н И Е
- 102 В С Т РА И В А Н И Е П Р И Б О РА; должны соответствовать размерам декоративной панели.
- 103 Размеры и порядок установки декоративной панели; Вес декоративной панели должен составлять от 3 до 4 кг.; Установка декоративной панели; Если машина уже оснащена декоративной панелью, то это шаг
- 104 Декоративная панель
- 105 Вкрутите регулировочные винтовые ножки в основание
- 106 Перед обращением в сервисный центр; Нарушение
- 109 З А Г Р У З К А П О СУ Д Ы В КО Р З И Н Ы В СО ОТ В Е ТС Т В И И; Вместимость: 6 комплектов посуды
- 110 Ч АС Т Ь I I: О СО Б Ы Е У К А З А Н И Я; по мере возникновения у вас вопросов в будущем.
- 111 К РАТ КО Е Р У КО В О Д С Т В О П О Л Ь З О В АТ Е Л Я
- 113 УС Т Р О Й С Т В О У М Я Г Ч Е Н И Я В О Д Ы
- 114 грузка соли в устройство умягчения воды» ЧАСТИ I: Общее описание.
- 116 ПРИМЕЧАНИЕ; Извлечение посуды
- 117 Загрузка посуды в корзину
- 118 И С П О Л Ь З О В А Н И Е О П О Л АС К И В АТ Е Л Я И М О Ю Щ Е Г О
- 119 З А П О Л Н Е Н И Е Е М КО С Т И О П О Л АС К И В АТ Е Л Я
- 120 З А П О Л Н Е Н И Е Д О З АТО РА М О Ю Щ Е Г О С Р Е Д С Т В А
- 121 П Р О Г РА М М И Р О В А Н И Е П О СУ Д О М О Е Ч Н О Й М А Ш И Н Ы; формация о программах.
- 122 З А П УС К Ц И К Л А М Ы Т Ь Я
- 123 Д О Б А В Л Е Н И Е Д О П О Л Н И Т Е Л Ь Н О Й П О СУ Д Ы; Нажмите кнопку «Пуск/пауза», чтобы приостановить процесс мытья.
- 124 КО Д Ы Н Е И С П РА В Н О С Т Е Й/С Б О Е В
- 125 Т Е Х Н И Ч Е С К А Я И Н Ф О Р М А Ц И Я
- 126 Т Е Х Н И Ч Е С К И Е Х А РА КТ Е Р И С Т И К И
- 127 Фошан Сити,Гуангдонг Провинсе 528311,Китай; в конструкцию, комплектацию и дизайн приборов.; С Е Р И Й Н Ы Й Н О М Е Р:; Год Месяц
- 130 УС ТА Н О В КА, ГА РА Н Т И Й Н О Е И П О С Т ГА РА Н Т И Й Н О Е О Б С Л УЖ И В А Н И Е; Телефон горячей линии Kuppersberg:; Полный список авторизованных сервисных центров Kuppersberg; УСЛОВИЯ ГАРАНТИИ
Характеристики
Остались вопросы?Не нашли свой ответ в руководстве или возникли другие проблемы? Задайте свой вопрос в форме ниже с подробным описанием вашей ситуации, чтобы другие люди и специалисты смогли дать на него ответ. Если вы знаете как решить проблему другого человека, пожалуйста, подскажите ему :)













