Посудомоечные машины Electrolux ESF 5512 LOW - инструкция пользователя по применению, эксплуатации и установке на русском языке. Мы надеемся, она поможет вам решить возникшие у вас вопросы при эксплуатации техники.
Если остались вопросы, задайте их в комментариях после инструкции.
"Загружаем инструкцию", означает, что нужно подождать пока файл загрузится и можно будет его читать онлайн. Некоторые инструкции очень большие и время их появления зависит от вашей скорости интернета.

• Если наливной шланг поврежден,
немедленно закройте кран подачи
воды и выньте вилку сетевого
шнура из розетки. Обратитесь в
авторизованный сервисный центр
для замены наливного шланга.
2.4 Эксплуатация
• Не садитесь и не вставайте на
открытую дверцу.
• Моющие средства для
посудомоечных машин
представляют опасность. Следуйте
правилам по безопасному
обращению, приведенным на
упаковке моющего средства.
• Не пейте воду и не играйте с водой
из прибора.
• Не извлекайте посуду из прибора
до завершения программы. На
посуде может остаться некоторое
количество моющего средства.
• Если открыть дверцу прибора во
время выполнения программы, из
него может вырваться горячий пар.
• Не помещайте на прибор, рядом с
ним или внутрь него
легковоспламеняющиеся вещества
или изделия, пропитанные
легковоспламеняющимися
веществами.
2.5 Утилизация
ВНИМАНИЕ!
Существует опасность
травмы или удушья.
• Отключите прибор от электросети.
• Отрежьте и утилизируйте кабель
электропитания.
• Удалите защелку дверцы, чтобы
предотвратить риск ее запирания
при попадании внутрь прибора
детей и домашних животных.
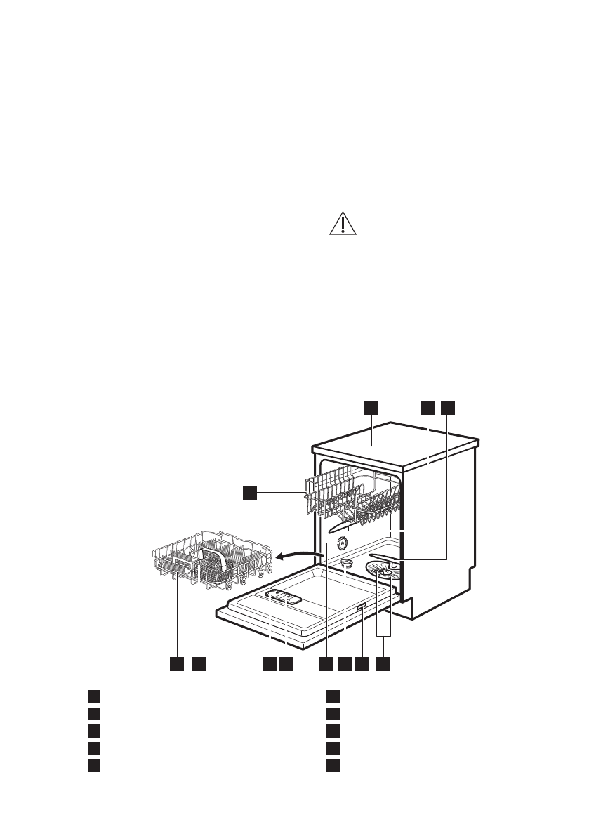
3. ОПИСАНИЕ ИЗДЕЛИЯ
5
4
8
10
9
11
6
7
12
2
3
1
1
Верхняя панель
2
Верхний разбрызгиватель
3
Нижний разбрызгиватель
4
Фильтры
5
Табличка с техническими данными
6
Емкость для соли
7
Вентиляционное отверстие
8
Дозатор ополаскивателя
9
Дозатор моющего средства
10
Корзина для столовых приборов
www.electrolux.com
50
Содержание
- 47 возможностями; Общие правила техники безопасности
- 49 УКАЗАНИЯ ПО БЕЗОПАСНОСТИ; электросети
- 53 Показатели потребления; тестирующих организаций; Режим выбора программы; и пользовательский режим
- 54 Смягчитель для воды
- 55 дозатор ополаскивателя пуст
- 56 Выключение AirDry; Включение HygienePlus
- 57 Включение XtraDry; ПЕРЕД ПЕРВЫМ ИСПОЛЬЗОВАНИЕМ; Наполнение емкости для
- 58 Заполнение дозатора; ополаскивателя
- 59 ЕЖЕДНЕВНОЕ ИСПОЛЬЗОВАНИЕ; Использование моющего; средства; Настройка и запуск; программы
- 62 Разгрузка корзин
- 63 Очистка фильтров
- 64 разбрызгивателей; Очистка наружных; поверхностей; Чистка внутренних; частей; ПОИСК И УСТРАНЕНИЕ НЕИСПРАВНОСТЕЙ
- 67 Результаты мойки и сушки неудовлетворительны
- 69 ТЕХНИЧЕСКИЕ ДАННЫЕ; ОХРАНА ОКРУЖАЮЩЕЙ СРЕДЫ












