Electrolux 502036 Medical Line - Инструкция по эксплуатации - Страница 10

Посудомоечные машины Electrolux 502036 Medical Line - инструкция пользователя по применению, эксплуатации и установке на русском языке. Мы надеемся, она поможет вам решить возникшие у вас вопросы при эксплуатации техники.

Если остались вопросы, задайте их в комментариях после инструкции.

"Загружаем инструкцию", означает, что нужно подождать пока файл загрузится и можно будет его читать онлайн. Некоторые инструкции очень большие и время их появления зависит от вашей скорости интернета.
Страница:
/ 23
Загружаем инструкцию
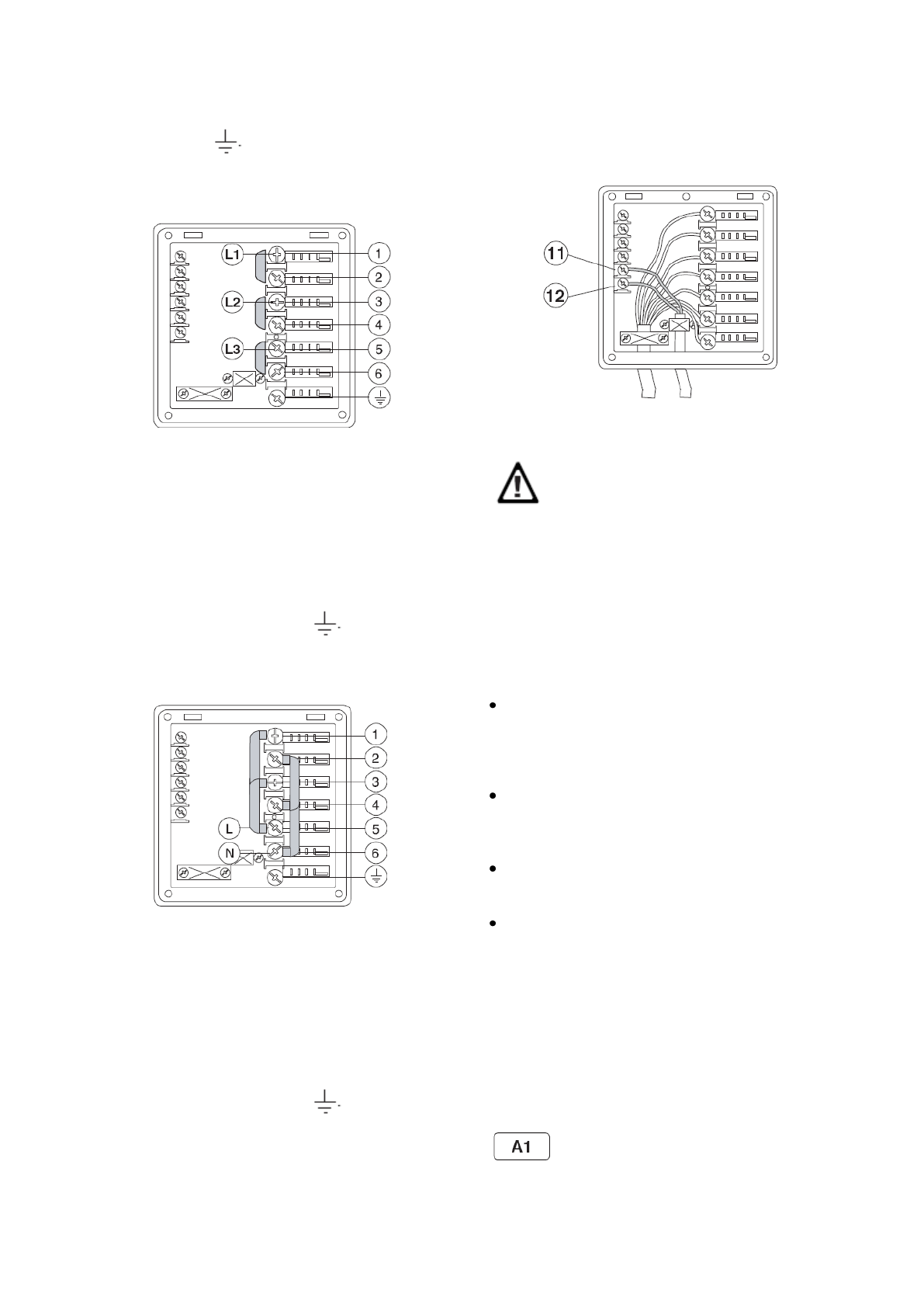
background image

 

10 

   

   

 

 (

).  

 

 220…230   3

 

. 13

 

 

 

 

   

 

  (

   

 

-

 

 

 

 

  №  1    №  2, 

 

 

-

 № 3   № 4,   

 

 

 

№  5    №  6. 

 

 

  -

 

  ( . 

   

-

 

), 

-

 

 

 

   

  №  1, 

3   5   

 

   

   

-

 

 (

). 

 

 220…230   1N

 

. 14

 

 

 

 

   

 

  (

   

 

-

 

 

 

-

  №  1,  №  3    №  5,   

 

 

 

  №  2,  №  4,    №  6. 

  -

 

 

 

 

( . 

   

 

-

), 

 

 

   

  №  5, 

 

   

 

№  6   

 

   

   

-

 

 (

). 

 

 

 

 

 

 

 

 

 

 

 

 

 

 

 

 

-

.

 

. 15

 

 

 

 

  №  11    №

  12 

 

 

 

 

 

 

 

 

 

:

 

 

 № 11   № 12 

 

 

 

 

 

 

(NA) 

 

 

 

 

 

 

-

 

 

-

 

 

 

 

 

 

 

   

 

 

 

 

.

 

 

 

 

 

 

 

   

 

-

   

 

 

-

   

   

 

 

-

 

 

 

 

 

-

   

 

   

    -

   

 

 

-

 

.

 

 

 

   

-

 

 

  -

 

 

   

.

 

 

 

   

 

 

-

 

 

 

   

 

 

 

-

.

 

-

   

 

-

   

 

 

-

 

   

 

 

-

.

 

 

3. 

 

 

 

 

 

-

 

 

 

 

-

 

   

 

Полезные видео

Характеристики

Оцените статью
tehnopanorama.ru
Остались вопросы?

Не нашли свой ответ в руководстве или возникли другие проблемы? Задайте свой вопрос в форме ниже с подробным описанием вашей ситуации, чтобы другие люди и специалисты смогли дать на него ответ. Если вы знаете как решить проблему другого человека, пожалуйста, подскажите ему :)

Задать вопрос

Часто задаваемые вопросы
Как посмотреть инструкцию к Electrolux 502036 Medical Line?
Необходимо подождать полной загрузки инструкции в сером окне на данной странице
Руководство на русском языке?
Все наши руководства представлены на русском языке или схематично, поэтому вы без труда сможете разобраться с вашей моделью
Как скопировать текст из PDF?
Чтобы скопировать текст со страницы инструкции воспользуйтесь вкладкой "HTML"