Посудомоечные машины Electrolux 502036 Medical Line - инструкция пользователя по применению, эксплуатации и установке на русском языке. Мы надеемся, она поможет вам решить возникшие у вас вопросы при эксплуатации техники.
Если остались вопросы, задайте их в комментариях после инструкции.
"Загружаем инструкцию", означает, что нужно подождать пока файл загрузится и можно будет его читать онлайн. Некоторые инструкции очень большие и время их появления зависит от вашей скорости интернета.

9
,
-
(
)
-
200 300
,
50
700
-
(
/
).
, -
-
.
-
:
« » (
. 4)
,
-
.
-
:
-
750
1000
.
:
-
3
.
B2.
-
.
10
:
-
-
-
.
,
-
(
)
-
-
.
-
(
. 20
),
.
-
.
,
-
.
«Q» (
. 4)
(
).
-
10 .
.
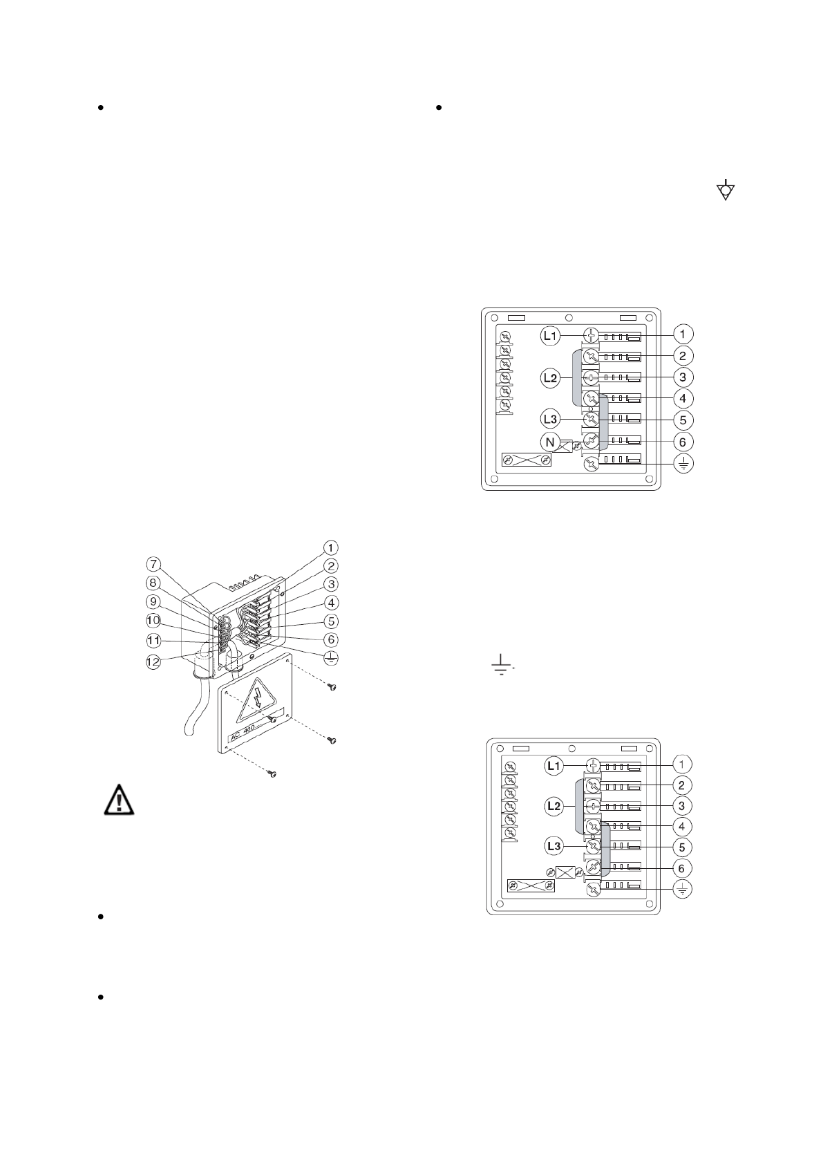
400…415 3N (
-
)
.
11
-
(
)
:
-
№ 2 № 4,
№
4 № 6.
-
( .
-
),
-
№ 1, 3 5,
-
№ 6
-
-
(
).
400…440 3
.
12
-
(
)
:
-
№ 2 № 4,
№
4 № 6.
-
( .
-
),
-
№ 1, 3 5












