Посудомоечные машины Candy CDPH2D1145X - инструкция пользователя по применению, эксплуатации и установке на русском языке. Мы надеемся, она поможет вам решить возникшие у вас вопросы при эксплуатации техники.
Если остались вопросы, задайте их в комментариях после инструкции.
"Загружаем инструкцию", означает, что нужно подождать пока файл загрузится и можно будет его читать онлайн. Некоторые инструкции очень большие и время их появления зависит от вашей скорости интернета.

16
Огляд програм
На деяких цифрових моделях
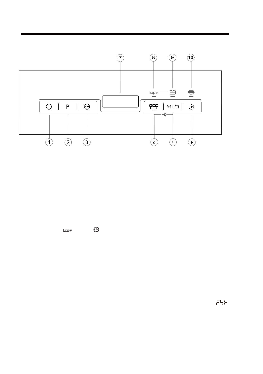
1.
Кнопка ВВІМК / ВИМК
7.
Відображення часу й інформації
2.
Кнопка ВИБОРУ ПРОГРАМИ
8.
Індикатор функції прискорення
3.
Кнопка ЗАТРИМКИ ЗАПУСКУ
9.
Індикатор комбінованої функції
4.
Кнопка додаткової функції *
10.
Індикатор додавання посуду /
Індикатор функції 1/2
5.
Кнопка скидання недостатньої
кількості солі та ополіскувача
11.
Функція блокування від дітей *
6.
Кнопка ЗАПУСКУ / СКИДАННЯ
*
Розширення: Додаткова функція прискорення, її можна використовувати лише з P1 (ЕКО)
Функція блокування від дітей:
Щоб активувати або вимкнути функцію блокування від дітей, натисніть та
утримуйте кнопку
та кнопку
протягом 5 секунд, після цього три правих світлодіодних індикатори
блиматимуть 3 секунди, а функція блокування від дітей увімкнеться або вимкнеться.
Відображення часу й інформації
Під час будь-якого вибору на дисплеї відображається відповідна інформація,
наприклад:
► Час циклу програми
► Час затримки запуску програми
► Коди помилок та сервісна інформація
Після початку операції без блимання відображається:
► Залишок часу в годинах для затримки запуску програми, наприклад,
► Залишок часу циклу програми у хвилинах, наприклад 130
Під час роботи це може відрізнятися залежно від місцевих умов та щоденного
робочого навантаження.
Характеристики
Остались вопросы?Не нашли свой ответ в руководстве или возникли другие проблемы? Задайте свой вопрос в форме ниже с подробным описанием вашей ситуации, чтобы другие люди и специалисты смогли дать на него ответ. Если вы знаете как решить проблему другого человека, пожалуйста, подскажите ему :)












