Посудомоечные машины Candy CDPH2D1145X - инструкция пользователя по применению, эксплуатации и установке на русском языке. Мы надеемся, она поможет вам решить возникшие у вас вопросы при эксплуатации техники.
Если остались вопросы, задайте их в комментариях после инструкции.
"Загружаем инструкцию", означает, что нужно подождать пока файл загрузится и можно будет его читать онлайн. Некоторые инструкции очень большие и время их появления зависит от вашей скорости интернета.

15
7
8
9
10
11
1
2
3
4
6
4
12
4
5
4
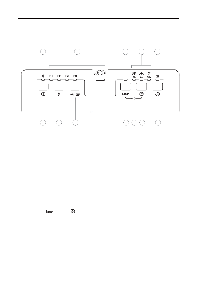
Огляд програм
На деяких нецифрових моделях
1.
Кнопка ВВІМК / ВИМК
7.
Індикатор ополіскувача
2.
Кнопка ВИБОРУ ПРОГРАМИ
8.
Індикатор ПРОГРАМИ
3.
Кнопка скидання недостатньої
кількості солі та ополіскувача
9.
Індикатор додаткової функції
4.
Кнопка додаткової функції
*
10
Індикатори ЗАТРИМКИ ЗАПУСКУ /
стану
5.
Кнопка ЗАТРИМКИ ЗАПУСКУ
11.
Індикатор солі
6.
Кнопка ЗАПУСКУ / СКИДАННЯ
12.
Функція блокування від дітей*
*
Розширення: Додаткова функція прискорення
,
її можна використовувати лише з P1 (ЕКО)
,
P2 (Загальна)
,
P3 (Інтенсивна)
Функція блокування від дітей: Щоб активувати або вимкнути функцію блокування від дітей, натисніть та
утримуйте кнопку
та кнопку
протягом 5 секунд, після цього три правих світлодіодних індикатори
блиматимуть 3 секунди, а функція блокування від дітей увімкнеться або вимкнеться.
Характеристики
Остались вопросы?Не нашли свой ответ в руководстве или возникли другие проблемы? Задайте свой вопрос в форме ниже с подробным описанием вашей ситуации, чтобы другие люди и специалисты смогли дать на него ответ. Если вы знаете как решить проблему другого человека, пожалуйста, подскажите ему :)












