Посудомоечные машины AEG F999709M0P - инструкция пользователя по применению, эксплуатации и установке на русском языке. Мы надеемся, она поможет вам решить возникшие у вас вопросы при эксплуатации техники.
Если остались вопросы, задайте их в комментариях после инструкции.
"Загружаем инструкцию", означает, что нужно подождать пока файл загрузится и можно будет его читать онлайн. Некоторые инструкции очень большие и время их появления зависит от вашей скорости интернета.
/html/pdf_to_image007.png)
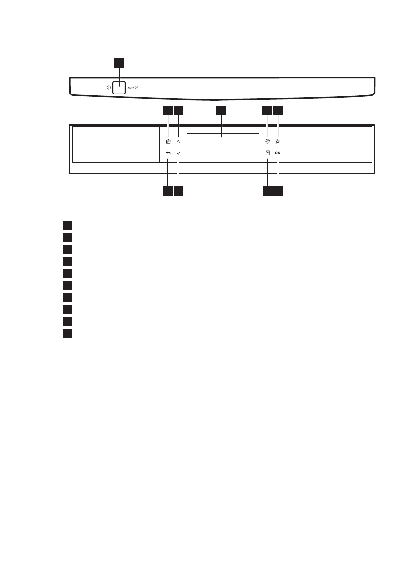
4. БАСҚАРУ ПАНЕЛІ
1
3
2
4
5
6
7
8
9
10
1
Қосу/Өшіру түймешігі
2
Program пернесі
3
Шарлау пернесі (жоғары)
4
Бейнебет
5
Delay пернесі
6
MyFavourite пернесі
7
OK пернесі
8
Option пернесі
9
Шарлау пернесі (төмен)
10
Back пернесі
4.1 Перненің жұмысы
Program перне
• Қысқа басқан кезде бағдарлама
тізіміне кіреді. Әдепкі бағдарлама:
ECO.
• Бағдарлама жұмыс істеп тұрған
кезде ұзақ (3 сек) басқанда
бағдарлама жойылады. Бейнебетте
әдепкі бағдарлама көрсетіледі.
• Program және Back пернесін Бала
құлпы функциясын қосу немесе
сөндіру үшін бірге басыңыз.
MyFavourite перне
• Қысқа басқан кезде MyFavourite
бағдарламасы басталады. Осы
пернені алғаш рет басқанда
дисплейде MyFavourite орнатыңыз
параметрі көрсетіледі.
• Ұзақ басқан кезде MyFavourite
орнатыңыз параметрі көрсетіледі.
Delay перне
• Бағдарламаны кешіктіріп бастау
функциясын орнату үшін басыңыз.
Option перне
• Бағдарлама тізімінде тұрғанда
қысқа бассаңыз, функциялар тізімі
көрсетіледі.
OK перне
• Функциялар мен параметрлерді
растау үшін басыңыз.
• Бағдарламаны немесе кешіктіріп
бастау функциясын бастау үшін
басыңыз.
Шарлау пернелері
• Бұл пернелерді тізімдерді, ақпарат
мәтіндерін шарлау үшін
пайдаланыңыз.
Back перне
• Алдыңғы экранға барады.
ҚАЗАҚ
7
Содержание
- 27 УКАЗАНИЯ ПО БЕЗОПАСНОСТИ; электросети
- 28 Внутреннее освещение
- 31 Показатели потребления
- 32 тестирующих организаций
- 33 имеющей 2 значения (ВКЛ и
- 36 ПЕРЕД ПЕРВЫМ ИСПОЛЬЗОВАНИЕМ; Смягчитель для воды
- 37 Наполнение емкости для
- 39 ЕЖЕДНЕВНОЕ ИСПОЛЬЗОВАНИЕ; моющего средства; Настройка и запуск
- 43 Очистка фильтров
- 44 УСТРАНЕНИЕ НЕИСПРАВНОСТЕЙ
- 45 Результаты мойки и сушки неудовлетворительны
- 46 ТЕХНИЧЕСКИЕ ДАННЫЕ
- 47 ОХРАНА ОКРУЖАЮЩЕЙ СРЕДЫ
Характеристики
Остались вопросы?Не нашли свой ответ в руководстве или возникли другие проблемы? Задайте свой вопрос в форме ниже с подробным описанием вашей ситуации, чтобы другие люди и специалисты смогли дать на него ответ. Если вы знаете как решить проблему другого человека, пожалуйста, подскажите ему :)













