Посудомоечные машины AEG F999709M0P - инструкция пользователя по применению, эксплуатации и установке на русском языке. Мы надеемся, она поможет вам решить возникшие у вас вопросы при эксплуатации техники.
Если остались вопросы, задайте их в комментариях после инструкции.
"Загружаем инструкцию", означает, что нужно подождать пока файл загрузится и можно будет его читать онлайн. Некоторые инструкции очень большие и время их появления зависит от вашей скорости интернета.
/html/pdf_to_image029.png)
11
Нижняя корзина
12
Верхняя корзина
13
Ящик для столовых приборов
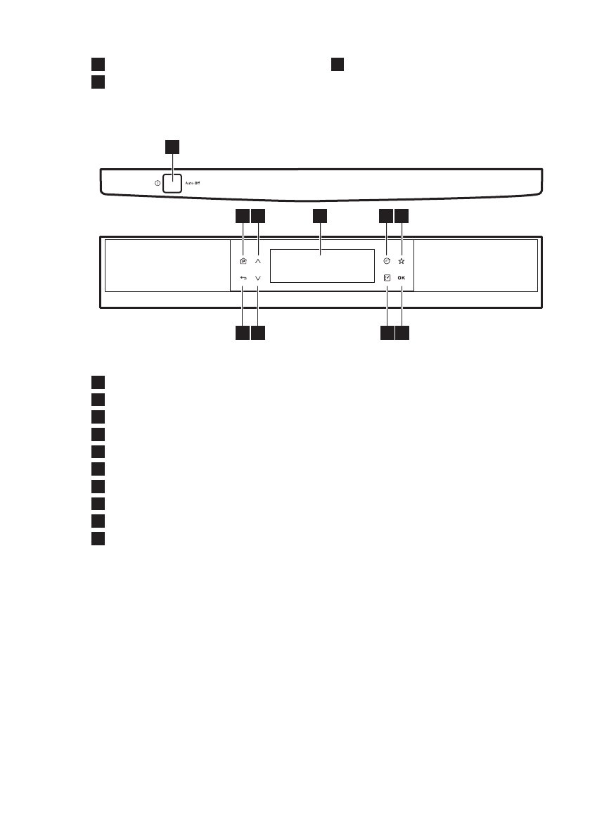
4. ПАНЕЛЬ УПРАВЛЕНИЯ
1
3
2
4
5
6
7
8
9
10
1
Кнопка «Вкл/Выкл»
2
Клавиша Program
3
Клавиша навигации (вверх)
4
Дисплей
5
Клавиша Delay
6
Клавиша MyFavourite
7
Клавиша OK
8
Клавиша Option
9
Клавиша навигации (вниз)
10
Клавиша Back
4.1 Поведение при нажатии
клавиш
Program клавиша
• Быстрое нажатие вызывает список
программ. Программа по
умолчанию: ECO.
• Длительное (3 сек) нажатие во
время выполнения программы
приведет к удалению программы.
На дисплее отобразится программа
по умолчанию.
• Одновременно нажмите клавиши
Program и Back для включения или
выключения режима Защита от
детей.
MyFavourite клавиша
• Быстрое нажатие приведет к
запуску программы MyFavourite.
При первом нажатии данной
клавиши на дисплее отобразится
настройка Задать MyFavourite.
• Длительное нажатие приводит к
отображению настройки Задать
MyFavourite.
Delay клавиша
• Нажмите, чтобы отсрочить запуск
программы.
Option клавиша
• При нахождении в списке программ
быстрое нажатие вызывает список
режимов.
OK клавиша
• Нажмите для подтверждения
режимов и настроек.
• Нажмите для запуска программы
или для отсрочки пуска.
Клавиши навигации
• Данные клавиши используются для
прокрутки списков и текстовой
информации.
Back клавиша
• Возврат в предыдущее меню.
РУССКИЙ
29
Содержание
- 27 УКАЗАНИЯ ПО БЕЗОПАСНОСТИ; электросети
- 28 Внутреннее освещение
- 31 Показатели потребления
- 32 тестирующих организаций
- 33 имеющей 2 значения (ВКЛ и
- 36 ПЕРЕД ПЕРВЫМ ИСПОЛЬЗОВАНИЕМ; Смягчитель для воды
- 37 Наполнение емкости для
- 39 ЕЖЕДНЕВНОЕ ИСПОЛЬЗОВАНИЕ; моющего средства; Настройка и запуск
- 43 Очистка фильтров
- 44 УСТРАНЕНИЕ НЕИСПРАВНОСТЕЙ
- 45 Результаты мойки и сушки неудовлетворительны
- 46 ТЕХНИЧЕСКИЕ ДАННЫЕ
- 47 ОХРАНА ОКРУЖАЮЩЕЙ СРЕДЫ
Характеристики
Остались вопросы?Не нашли свой ответ в руководстве или возникли другие проблемы? Задайте свой вопрос в форме ниже с подробным описанием вашей ситуации, чтобы другие люди и специалисты смогли дать на него ответ. Если вы знаете как решить проблему другого человека, пожалуйста, подскажите ему :)













