Посудомоечные машины AEG F65000IM0P - инструкция пользователя по применению, эксплуатации и установке на русском языке. Мы надеемся, она поможет вам решить возникшие у вас вопросы при эксплуатации техники.
Если остались вопросы, задайте их в комментариях после инструкции.
"Загружаем инструкцию", означает, что нужно подождать пока файл загрузится и можно будет его читать онлайн. Некоторые инструкции очень большие и время их появления зависит от вашей скорости интернета.

PANEL STEROWANIA
9
1
2
3
4
5
6
7
8
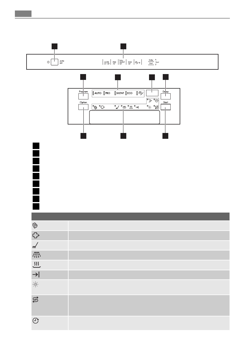
1
Przycisk Wł./Wył.
2
Przewodnik po programach
3
Przycisk Program
4
Wskaźniki programów
5
Wyświetlacz
6
Przycisk Delay
7
Przycisk Start
8
Wskaźniki
9
Przycisk Option
Wskaźniki
Wskaźnik funkcji Multitab. Włącza się w momencie włączenia funkcji.
Wskaźnik funkcji Extra-Hygiene. Włącza się w momencie włączenia funkcji.
Wskaźnik fazy zmywania. Włącza się podczas fazy zmywania.
Wskaźnik fazy płukania. Włącza się podczas fazy płukania.
Wskaźniki fazy suszenia. Włącza się podczas fazy suszenia.
Wskaźnik zakończenia programu. Włącza się, gdy skończy się program zmywania.
Wskaźnik płynu nabłyszczającego. Włącza się, gdy należy uzupełnić płyn nabły‐
szczający.
1)
Wskaźnik soli. Włącza się, gdy należy uzupełnić sól.
1)
Po napełnieniu zbiornika wskaźnik soli może nadal być włączony przez kilka go‐
dzin. Nie ma to negatywnego wpływu na działanie urządzenia.
Wskaźnik Delay. Włącza się w momencie włączenia funkcji opóźnienia rozpoczę‐
cia programu.
30
Panel sterowania
Содержание
- 47 СОДЕРЖАНИЕ
- 48 СВЕДЕНИЯ ПО ТЕХНИКЕ БЕЗОПАСНОСТИ; Безопасность детей и лиц с ограниченными возможностями
- 52 ОПИСАНИЕ ИЗДЕЛИЯ
- 53 ПАНЕЛЬ УПРАВЛЕНИЯ
- 55 Функции; ЭКСПЛУАТАЦИЯ ИЗДЕЛИЯ
- 56 УСТАНОВКА СМЯГЧИТЕЛЯ ДЛЯ ВОДЫ; кости воды в вашей местности.
- 57 ИСПОЛЬЗОВАНИЕ СОЛИ ДЛЯ ПОСУДОМОЕЧНЫХ МАШИН
- 58 ИСПОЛЬЗОВАНИЕ МОЮЩЕГО СРЕДСТВА И ОПОЛАСКИВАТЕЛЯ; Использование моющих средств
- 59 Отрегулируйте дозировку ополаскивателя.; ФУНКЦИЯ MULTITAB
- 60 ЗАГРУЗКА СТОЛОВЫХ ПРИБОРОВ И ПОСУДЫ; Советы; ПРОГРАММЫ МОЙКИ
- 61 Показатели потребления; пературы воды, напряжения в сети и количества посуды.; ВЫБОР И ЗАПУСК ПРОГРАММЫ МОЙКИ; Запуск программы мойки без задержки пуска; • Загорится соответствующий индикатор программы.
- 63 УХОД И ОЧИСТКА; Снятие и очистка фильтров
- 66 Результаты мойки и сушки неудовлетворительны
- 67 Включение дозатора ополаскивателя; • Индикаторы программ AUTO и SILENT погаснут.; ТЕХНИЧЕСКИЕ ДАННЫЕ; Технические данные
- 68 ОХРАНА ОКРУЖАЮЩЕЙ СРЕДЫ; ответствующие контейнеры для сбора вторичного сырья.
Характеристики
Остались вопросы?Не нашли свой ответ в руководстве или возникли другие проблемы? Задайте свой вопрос в форме ниже с подробным описанием вашей ситуации, чтобы другие люди и специалисты смогли дать на него ответ. Если вы знаете как решить проблему другого человека, пожалуйста, подскажите ему :)













