Посудомоечные машины AEG F65000IM0P - инструкция пользователя по применению, эксплуатации и установке на русском языке. Мы надеемся, она поможет вам решить возникшие у вас вопросы при эксплуатации техники.
Если остались вопросы, задайте их в комментариях после инструкции.
"Загружаем инструкцию", означает, что нужно подождать пока файл загрузится и можно будет его читать онлайн. Некоторые инструкции очень большие и время их появления зависит от вашей скорости интернета.

BETJENINGSPANEL
9
1
2
3
4
5
6
7
8
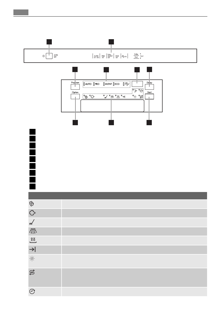
1
Tænd-/sluk-knap
2
Programvejledning
3
Program-knap
4
Programlamper
5
Visning
6
Delay-knap
7
Start-knap
8
Kontrollamper
9
Option-knap
Kontrollamper
Multitab-lampe. Lyser, når du slår funktionen til.
Lampe for ekstra hygiejne. Lyser, når du slår funktionen til.
Lampe for opvasketrin. Lyser, når opvasketrinnet er i gang.
Lampe for skylletrin. Lyser, når skylletrinnet er i gang.
Lampe for tørretrin. Lyser, når tørretrinnet er i gang.
Slutlampe. Lyser, når et opvaskeprogram er slut.
Afspændingsmiddel-lampe. Lyser, når beholderen til afspændingsmiddel skal
påfyldes.
1)
Salt-lampe. Lyser, når der skal påfyldes salt i beholderen.
1)
Når beholderen er fyldt, kan salt-lampen fortsætte med at lyse i nogle timer.
Det påvirker ikke apparatets funktion i øvrigt.
Delay-lampe. Lyser, når du slår senere start til.
8
Betjeningspanel
Содержание
- 47 СОДЕРЖАНИЕ
- 48 СВЕДЕНИЯ ПО ТЕХНИКЕ БЕЗОПАСНОСТИ; Безопасность детей и лиц с ограниченными возможностями
- 52 ОПИСАНИЕ ИЗДЕЛИЯ
- 53 ПАНЕЛЬ УПРАВЛЕНИЯ
- 55 Функции; ЭКСПЛУАТАЦИЯ ИЗДЕЛИЯ
- 56 УСТАНОВКА СМЯГЧИТЕЛЯ ДЛЯ ВОДЫ; кости воды в вашей местности.
- 57 ИСПОЛЬЗОВАНИЕ СОЛИ ДЛЯ ПОСУДОМОЕЧНЫХ МАШИН
- 58 ИСПОЛЬЗОВАНИЕ МОЮЩЕГО СРЕДСТВА И ОПОЛАСКИВАТЕЛЯ; Использование моющих средств
- 59 Отрегулируйте дозировку ополаскивателя.; ФУНКЦИЯ MULTITAB
- 60 ЗАГРУЗКА СТОЛОВЫХ ПРИБОРОВ И ПОСУДЫ; Советы; ПРОГРАММЫ МОЙКИ
- 61 Показатели потребления; пературы воды, напряжения в сети и количества посуды.; ВЫБОР И ЗАПУСК ПРОГРАММЫ МОЙКИ; Запуск программы мойки без задержки пуска; • Загорится соответствующий индикатор программы.
- 63 УХОД И ОЧИСТКА; Снятие и очистка фильтров
- 66 Результаты мойки и сушки неудовлетворительны
- 67 Включение дозатора ополаскивателя; • Индикаторы программ AUTO и SILENT погаснут.; ТЕХНИЧЕСКИЕ ДАННЫЕ; Технические данные
- 68 ОХРАНА ОКРУЖАЮЩЕЙ СРЕДЫ; ответствующие контейнеры для сбора вторичного сырья.
Характеристики
Остались вопросы?Не нашли свой ответ в руководстве или возникли другие проблемы? Задайте свой вопрос в форме ниже с подробным описанием вашей ситуации, чтобы другие люди и специалисты смогли дать на него ответ. Если вы знаете как решить проблему другого человека, пожалуйста, подскажите ему :)













