Посудомоечные машины AEG F55200VI0 - инструкция пользователя по применению, эксплуатации и установке на русском языке. Мы надеемся, она поможет вам решить возникшие у вас вопросы при эксплуатации техники.
Если остались вопросы, задайте их в комментариях после инструкции.
"Загружаем инструкцию", означает, что нужно подождать пока файл загрузится и можно будет его читать онлайн. Некоторые инструкции очень большие и время их появления зависит от вашей скорости интернета.

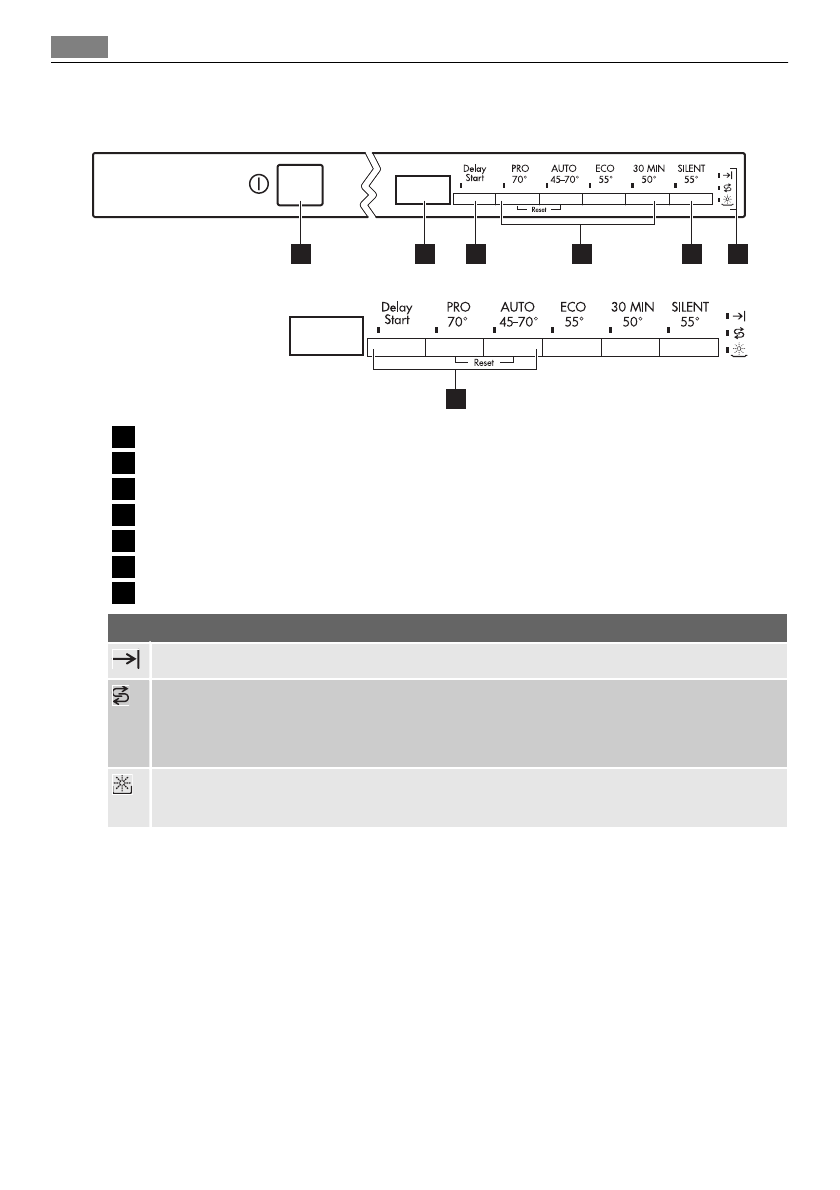
ПАНЕЛЬ КЕРУВАННЯ
1
A
B
C
2
3
7
4
5
6
1
Кнопка увімкнення/вимкнення
2
Цифровий дисплей
3
Кнопка відкладеного запуску
4
Кнопки вибору програм
5
Кнопка «Тиша»
6
Індикатори
7
Функціональні кнопки
Індикатори
Загорається, коли програма миття завершена.
1)
Індикатор світиться, коли потрібно заповнити контейнер для солі. Див. розділ «Викори‐
стання солі для посудомийних машин».
Після заповнення контейнера індикатор солі може горіти кілька годин. Це не спричиняє
негативного впливу на роботу машини.
1)
Загорається, коли потрібно залити ополіскувач у контейнер. Див. розділ «Використання
ополіскувача».
1) Коли контейнери для солі та/або ополіскувача порожні, відповідний індикатор не світиться під час
виконання програми миття.
Кнопка відкладеного запуску
За допомогою кнопки відкладеного запуску можна відкласти початок виконання про‐
грами миття на строк від 1 до 19 годин. Ознайомтеся з розділом "Настройка і запуск
програми миття".
Цифровий дисплей
На дисплеї відображаються наведені нижче показники.
• Установлений рівень пом'якшення води.
• Тривалість виконання програми.
• Час, що залишився до завершення програми.
• Завершення програми миття.
52
Панель керування
Содержание
- 25 СОДЕРЖАНИЕ
- 26 СВЕДЕНИЯ ПО ТЕХНИКЕ БЕЗОПАСНОСТИ; Правильная эксплуатация
- 27 Установка
- 28 ОПИСАНИЕ ИЗДЕЛИЯ
- 29 ПАНЕЛЬ УПРАВЛЕНИЯ; Кнопка задержки пуска
- 31 Режим настройки; ЭКСПЛУАТАЦИЯ ИЗДЕЛИЯ
- 32 Настройка электронного блока; ИСПОЛЬЗОВАНИЕ СОЛИ ДЛЯ ПОСУДОМОЕЧНЫХ МАШИН
- 33 ИСПОЛЬЗОВАНИЕ ОПОЛАСКИВАТЕЛЯ; Использование ополаскивателя
- 34 Чтобы увеличить дозировку, поворачивайте стрелку по ходу часов.; ЗАГРУЗКА СТОЛОВЫХ ПРИБОРОВ И ПОСУДЫ; Полезные советы и рекомендации; Загрузка столовых приборов и посуды
- 36 ИСПОЛЬЗОВАНИЕ МОЮЩИХ СРЕДСТВ; Закладка моющего средства
- 37 Использование моющего средства в таблетках; ПРОГРАММЫ МОЙКИ
- 38 ды, напряжения в сети и количества посуды.
- 39 ВЫБОР И ЗАПУСК ПРОГРАММЫ МОЙКИ; Отмена программы мойки
- 40 УХОД И ОЧИСТКА
- 42 Прибор не запускается, либо останавливается в процессе работы.
- 43 ТЕХНИЧЕСКИЕ ДАННЫЕ; Технические данные
- 44 УСТАНОВКА; Встраивание машины; ПОДКЛЮЧЕНИЕ К ВОДОПРОВОДУ; Наливной шланг
- 45 Сливной шланг; могут провести к тому, что сливной раструб будет забит.
- 46 ПОДКЛЮЧЕНИЕ К ЭЛЕКТРОСЕТИ; беритесь за саму вилку.; ОХРАНА ОКРУЖАЮЩЕЙ СРЕДЫ; Если машина больше не нужна, выполните следующие действия:
Характеристики
Остались вопросы?Не нашли свой ответ в руководстве или возникли другие проблемы? Задайте свой вопрос в форме ниже с подробным описанием вашей ситуации, чтобы другие люди и специалисты смогли дать на него ответ. Если вы знаете как решить проблему другого человека, пожалуйста, подскажите ему :)













