Посудомоечные машины AEG F55200VI0 - инструкция пользователя по применению, эксплуатации и установке на русском языке. Мы надеемся, она поможет вам решить возникшие у вас вопросы при эксплуатации техники.
Если остались вопросы, задайте их в комментариях после инструкции.
"Загружаем инструкцию", означает, что нужно подождать пока файл загрузится и можно будет его читать онлайн. Некоторые инструкции очень большие и время их появления зависит от вашей скорости интернета.

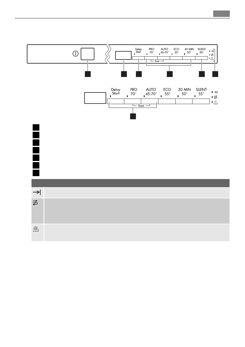
ПАНЕЛЬ УПРАВЛЕНИЯ
1
A
B
C
2
3
7
4
5
6
1
Кнопка "Вкл/Выкл"
2
Цифровой дисплей
3
Кнопка задержки пуска
4
Кнопки выбора программ
5
Кнопка "Бесшумно"
6
Световые индикаторы
7
Кнопки режимов
Световые индикаторы
Загорается по окончании программы мойки.
1)
Загорается, когда требуется наполнить емкость для соли. См. раздел "Использование
соли для посудомоечных машин".
После заполнения контейнера индикатор наличия соли может гореть еще несколько ча‐
сов. Это не оказывает негативного влияния на работу прибора.
1)
Загорается, когда требуется наполнить контейнер ополаскивателя. См. раздел "Ис‐
пользование ополаскивателя".
1) Индикаторы наличия соли и/или ополаскивателя не загораются во время выполнения программы мойки,
даже когда соответствующие емкости пусты.
Кнопка задержки пуска
Используйте кнопку задержки пуска для задержки пуска программы мойки на время от
1 до 19 часов. См. раздел "Установка и пуск программы мойки".
Цифровой дисплей
Дисплей показывает:
• Заданную степень жесткости на устройстве для смягчения воды.
• Продолжительность программы.
• Время до конца выполнения программы.
• Окончание программы мойки.
• Часы задержки пуска.
Панель управления
29
Содержание
- 25 СОДЕРЖАНИЕ
- 26 СВЕДЕНИЯ ПО ТЕХНИКЕ БЕЗОПАСНОСТИ; Правильная эксплуатация
- 27 Установка
- 28 ОПИСАНИЕ ИЗДЕЛИЯ
- 29 ПАНЕЛЬ УПРАВЛЕНИЯ; Кнопка задержки пуска
- 31 Режим настройки; ЭКСПЛУАТАЦИЯ ИЗДЕЛИЯ
- 32 Настройка электронного блока; ИСПОЛЬЗОВАНИЕ СОЛИ ДЛЯ ПОСУДОМОЕЧНЫХ МАШИН
- 33 ИСПОЛЬЗОВАНИЕ ОПОЛАСКИВАТЕЛЯ; Использование ополаскивателя
- 34 Чтобы увеличить дозировку, поворачивайте стрелку по ходу часов.; ЗАГРУЗКА СТОЛОВЫХ ПРИБОРОВ И ПОСУДЫ; Полезные советы и рекомендации; Загрузка столовых приборов и посуды
- 36 ИСПОЛЬЗОВАНИЕ МОЮЩИХ СРЕДСТВ; Закладка моющего средства
- 37 Использование моющего средства в таблетках; ПРОГРАММЫ МОЙКИ
- 38 ды, напряжения в сети и количества посуды.
- 39 ВЫБОР И ЗАПУСК ПРОГРАММЫ МОЙКИ; Отмена программы мойки
- 40 УХОД И ОЧИСТКА
- 42 Прибор не запускается, либо останавливается в процессе работы.
- 43 ТЕХНИЧЕСКИЕ ДАННЫЕ; Технические данные
- 44 УСТАНОВКА; Встраивание машины; ПОДКЛЮЧЕНИЕ К ВОДОПРОВОДУ; Наливной шланг
- 45 Сливной шланг; могут провести к тому, что сливной раструб будет забит.
- 46 ПОДКЛЮЧЕНИЕ К ЭЛЕКТРОСЕТИ; беритесь за саму вилку.; ОХРАНА ОКРУЖАЮЩЕЙ СРЕДЫ; Если машина больше не нужна, выполните следующие действия:
Характеристики
Остались вопросы?Не нашли свой ответ в руководстве или возникли другие проблемы? Задайте свой вопрос в форме ниже с подробным описанием вашей ситуации, чтобы другие люди и специалисты смогли дать на него ответ. Если вы знаете как решить проблему другого человека, пожалуйста, подскажите ему :)













