Плита Electrolux EXG 676 ICN - инструкция пользователя по применению, эксплуатации и установке на русском языке. Мы надеемся, она поможет вам решить возникшие у вас вопросы при эксплуатации техники.
Если остались вопросы, задайте их в комментариях после инструкции.
"Загружаем инструкцию", означает, что нужно подождать пока файл загрузится и можно будет его читать онлайн. Некоторые инструкции очень большие и время их появления зависит от вашей скорости интернета.

4
Символы
,
использующиеся
в
инструкции
Следующие
символы
помогут
вам
ориентироваться
в
тексте
инструкции
:
Рекомендации
по
безопасности
Пошаговые
рекомендации
при
использовании
прибора
Советы
и
рекомендации
Информация
по
защите
окружающей
среды
Содержание
Важная
информация
по
безопасности
2
Инструкции
для
пользователя
5
Регуляторы
управления
5
Зажигание
конфорок
5
Правильная
эксплуатация
прибора
6
Крышка
варочной
поверхности
7
Электрическая
зона
нагрева
(EXG676)
7
Уход
и
очистка
8
Технические
данные 1
0
Инструкции
по
установке
1
0
Электрическая
зона
нагрева
(EXG676)
1
0
Подключение
газа
1
0
Электрическое
подключение
11
Регулировка
для
различных
типов
газа
1
3
Установка
в
кухонной
мебели
1
5
Встраивание
в
столешницу
моделей
EHT672, ZGL63, ZGL66
1
5
Встраивание
в
столешницу
моделей
ZGF643, ZGF753
1
6
Встраивание
в
столешницу
моделей
95600G, EXG676, EGG646,
EHG645, ZGG643
1
8
Встраивание
в
столешницу
моделей
EHG75, ZGG753
1
9
Варианты
встраивания
20
5
Инструкции
для
пользователя
Регуляторы
управления
конфорками
Регуляторы
управления
конфорками
расположены
в
правой
части
варочной
поверхности
.
Символы
на
регуляторах
означают
следующее
:
подача
газа
отключена
максимальная
подача
газа
минимальная
подача
газа
Зажигание
конфорок
Конфорка
зажигается
легче
,
если
н а
н е е
е щ е
н е
у с т а н о в л е н а
посуда
.
Модели
с
полуавтоматическим
зажиганием
(ZGL63, ZGF643,
ZFG753)
Чтобы
зажечь
конфорку
,
нажмите
н а
с о от вет с т ву ю щ у ю
к н о п к у
,
о б о з н а ч е н н у ю
с и м в о л о м
маленькой
искры
.
Затем
нажмите
с о о т в е т с т в у ю щ и й
р е г у л я т о р
конфорки
и
поверните
его
по
часовой
стрелке
в
положение
максимальной
подачи
газа
.
М о д е л и
с
а в т о м а т и ч е с к и м
зажиганием
(EHT672, EGG646,
E H G 6 4 5 , E X G 6 7 6 , E H G 7 5 ,
ZGG643, ZGL66, ZGG753, 95600G)
Н а ж м и т е
с о о т в е т с т в у ю щ и й
регулятор
конфорки
и
поверните
е г о
п о
ч а с о в о й
с т р е л к е
в
положение
максимальной
подачи
газа
.
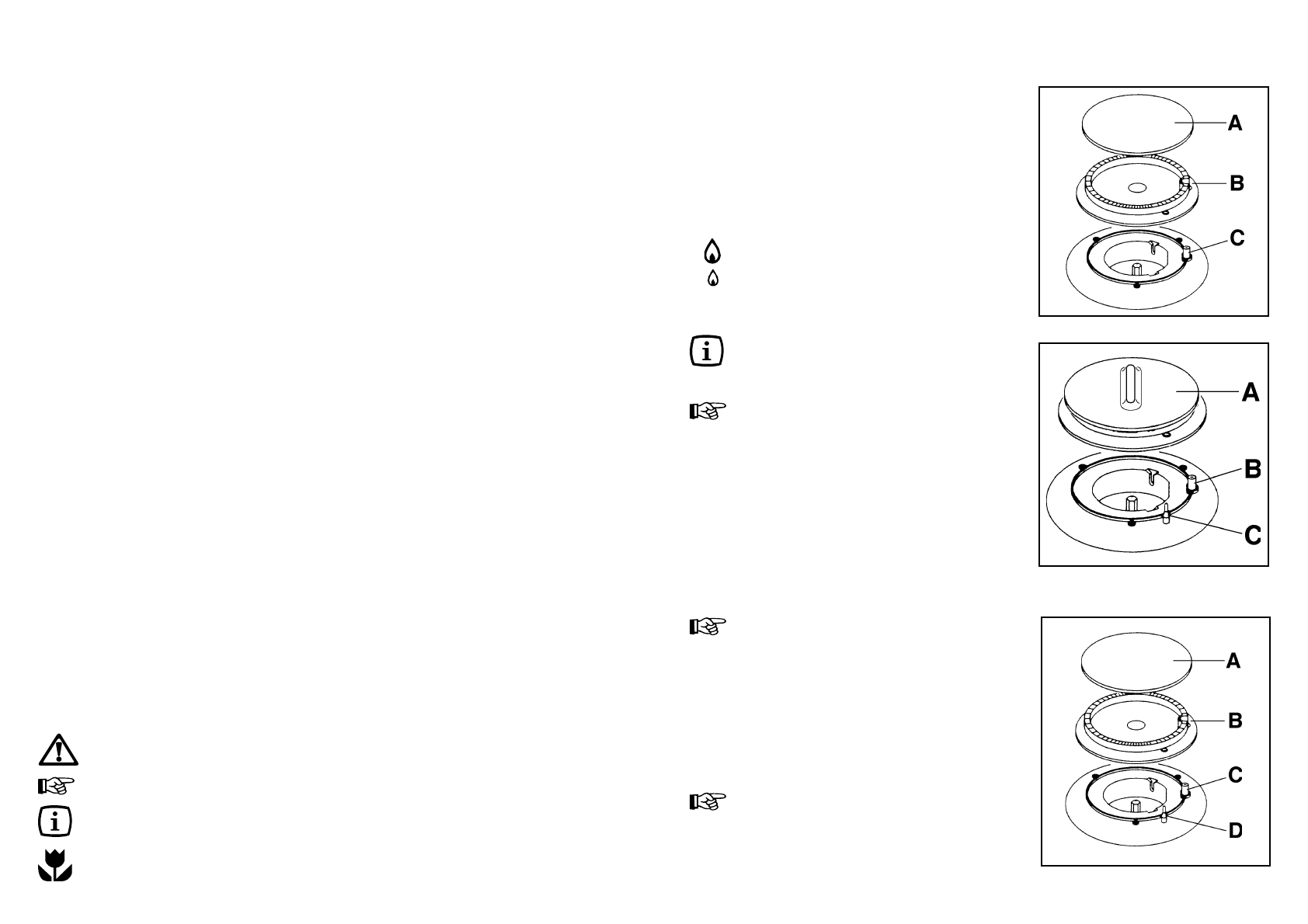
П р и
н а л и ч и и
з а щ и т н о г о
устройства
(
термопары
) (
рис
. 2-
С
,
3-D)
После
зажигания
пламени
подержите
регулятор
нажатым
еще
примерно
5
секунд
,
чтобы
Рис
.
1
Рис
. 2
Рис
. 3
•












