Плита Electrolux EKG 511110 W - инструкция пользователя по применению, эксплуатации и установке на русском языке. Мы надеемся, она поможет вам решить возникшие у вас вопросы при эксплуатации техники.
Если остались вопросы, задайте их в комментариях после инструкции.
"Загружаем инструкцию", означает, что нужно подождать пока файл загрузится и можно будет его читать онлайн. Некоторые инструкции очень большие и время их появления зависит от вашей скорости интернета.

Горелка
Нормаль‐
ная мощ‐
ность
Понижен‐
ная мощ‐
ность
Тип газа
Давле‐
ние
инж. Диа‐
метр
Расход
кВт
кВт
мбар
мм
г/час
1,65
-
Пропан G31
30
0,71
117,83
Подсоединение к системе
газоснабжения
Для подключения следует использовать
неподвижное соединение либо гибкий
шланг в оплетке из нержавеющей стали
в соответствии с действующими норма‐
ми. При использовании гибких шлангов
в металлической оплетке необходимо
тщательно проследить, чтобы они не со‐
прикасались с подвижными элементами
и не пережимались.
Гибкая неметаллическая подводка
Если имеется возможность контролиро‐
вать состояние подводки по всей ее дли‐
не, можно использовать гибкую подвод‐
ку. Гибкий шланг должен быть плотно за‐
креплен хомутами.
Установка: используйте трубодержа‐
тель. Всегда устанавливайте проклад‐
ку. Затем приступите к подключению к
линии подачи газа. Гибкая подводка мо‐
жет использоваться, только если:
– ее температура не будет превышать
комнатную более, чем на 30°C;
– ее длина не превышает 1500 мм;
– она не имеет сужений;
– она не натянута и не перекручена;
– она не касается острых кромок или
углов;
– ее можно легко осмотреть, чтобы про‐
верить ее состояние.
Контроль сохранности гибкого шланга
включает в себя следующую проверку:
– отсутствие трещин, порезов, следов
горения, как на концах, так и по всей
его длине:
– материал шланга не стал жестким, а
сохранил свою нормальную эластич‐
ность;
– на хомутах крепления отсутствует
ржавчина;
– срок годности шланга не истек.
В случае обнаружения одного или не‐
скольких дефектов не ремонтируйте
шланг, а замените его.
ВАЖНО! После завершения установки
убедитесь, что трубные соединения
абсолютно герметичны. Используйте
для проверки мыльный раствор.
Запрещается использовать пламя!
Линия подачи газа находится на задней
стороне панели управления.
ВНИМАНИЕ! Перед подключением
газа необходимо отключить вилку
шнура питания от розетки питания,
либо отключить предохранитель,
расположенный в блоке
предохранителей. Закройте
основной вентиль линии подачи
газа.
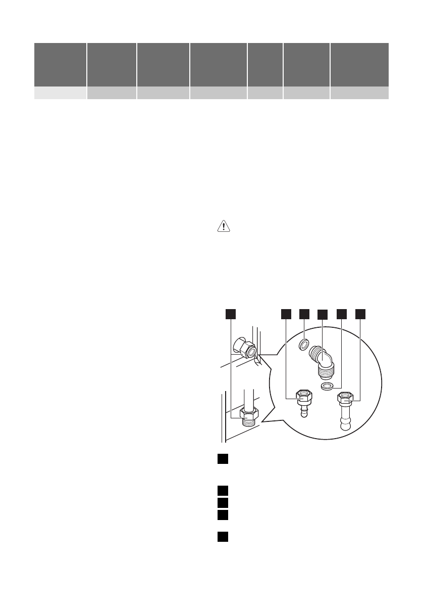
1
4
2
3
2
5
1
Точка подключения линии подачи га‐
за (допускается только одна точка
подключения газа для устройства)
2
Прокладка
3
Регулируемое соединение
4
Трубодержатель для сжиженного га‐
за
5
Трубодержатель для природного га‐
за
electrolux
39












