Плита Electrolux EKG 511110 W - инструкция пользователя по применению, эксплуатации и установке на русском языке. Мы надеемся, она поможет вам решить возникшие у вас вопросы при эксплуатации техники.
Если остались вопросы, задайте их в комментариях после инструкции.
"Загружаем инструкцию", означает, что нужно подождать пока файл загрузится и можно будет его читать онлайн. Некоторые инструкции очень большие и время их появления зависит от вашей скорости интернета.

Тот баспайтын болаттан не
алюминийден жасалған
құрылғылар:
Пештің есігін тек дымқыл жөкемен
ғана тазалаңыз. Оны жұмсақ
шүберекпен құрғатыңыз.
Темір жүн жөке, қышқыл не
тазалағыш құралдарды ешқашан
пайдаланбаңыз, себебі олар пештің
бетін бүлдіреді. Пештің басқару
панелін де осы сақтық шараларын
қолдана отырып тазалаңыз
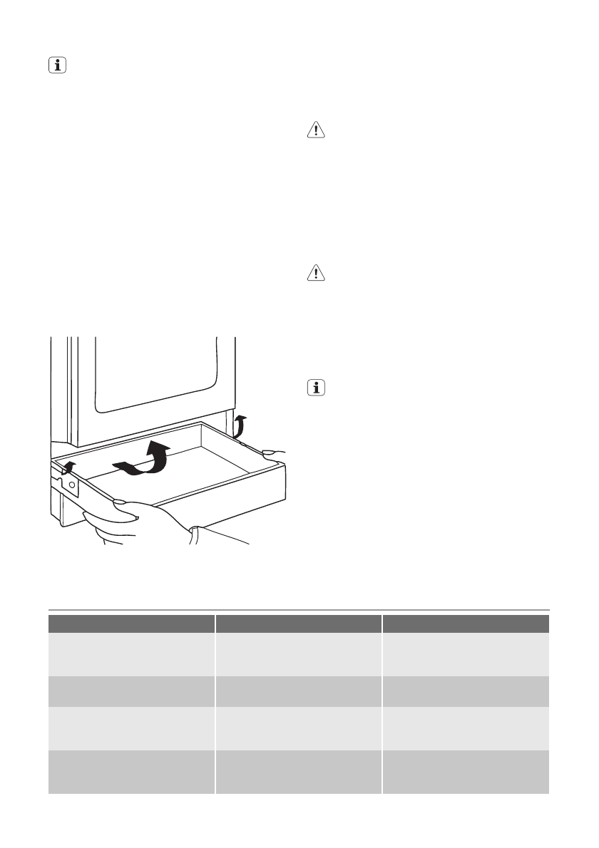
Суырманы алып шығу
Тұмшапештің астындағы суырманы
оңай тазалау үшін алуға болады.
Суырманы алып шығу
1. Суырма тоқтағанша бері қарай
тартыңыз.
2. Суырманы баяу көтеріңіз.
3. Суырманы түгел алып шығыңыз.
Суырманы салу
Суырманы салу үшін жоғарыда
көрсетілген әрекеттерді кері реттілікпен
орындаңыз.
Назарыңызда болсын! Тұтанғыш
заттарды (мысалы, тазартқыш
заттар, пластик қапшықтар, пеш
қолғабы, қағаз немесе бүріккіштер
т.с.с. сияқты) суырмада
сақтамаңыз. Тұмшапешті қолданған
кезде суырма қызып кетуі мүмкін.
Өрт шығу қаупі бар.
Пеш шамы
Назарыңызда болсын! Электр
қатеріне ұшырау қаупі бар!
Пештің шамын ауыстырар алдында:
• Пешті өшіріңіз.
• Сақтандырғыш қорапшасындағы
сақтандырғыштарды немесе айырып-
қосқышты алыңыз.
Пештің шамы мен шамының
қалпағына нұқсан келмес үшін
пештің табанына шүберек төсеңіз.
Пештің шамын айырбастау/шыны
қалпағын тазалау
1. Шыны қалпағын сағат бағытына
қарсы бұраңыз да, ағытып алыңыз.
2. Шыны қалпағын тазалаңыз.
3. Пештің шамын 300°C градустық
қызуға төзімді, сай келетін шамға
айырбастаңыз.
4. Шыны қалпақты орнына қойыңыз.
НЕ ІСТЕРСІҢІЗ, ЕГЕР...
Ақаулық
Ықтимал себебі
Жөндеу
Газды жаққан кезде ұшқын
шықпайды
Электр қуаты жоқ
Құрылғының жалғанғанын
және электр қуатының іске
қосылғанын тексеріңіз.
Газды жаққан кезде ұшқын
шықпайды
Электр қуаты жоқ
Үйдегі электр жабдығының
сақтандырғышын тексеріңіз.
Газды жаққан кезде ұшқын
шықпайды
Оттықтың қақпағы мен
шілтері қисық салынған
Оттықтың қақпағы мен
шілтері дұрыс қойылғанына
көз жеткізіңіз.
Тұтатқан бетте жалын дереу
сөніп қалады
Қыздырғыш элемент
жеткілікті қызбайды
От жанғаннан кейін тетікті
шамамен 5 секунд басып
ұстап тұрыңыз.
electrolux
15
 
 
 
 
 
 
 
 
 
 
 
 
 
 
 
 
 
 
 
 
 
 
 
 
 
 
 
 
 
 
 
 
 
 
 
 
 
 
 
 
 
 
 
 
 
 
 
 
 
 
 
 
 
 
 
 
 
 
 
 
 
 
 
 











