Плита Electrolux EKC 954502 K (W) (X) - инструкция пользователя по применению, эксплуатации и установке на русском языке. Мы надеемся, она поможет вам решить возникшие у вас вопросы при эксплуатации техники.
Если остались вопросы, задайте их в комментариях после инструкции.
"Загружаем инструкцию", означает, что нужно подождать пока файл загрузится и можно будет его читать онлайн. Некоторые инструкции очень большие и время их появления зависит от вашей скорости интернета.

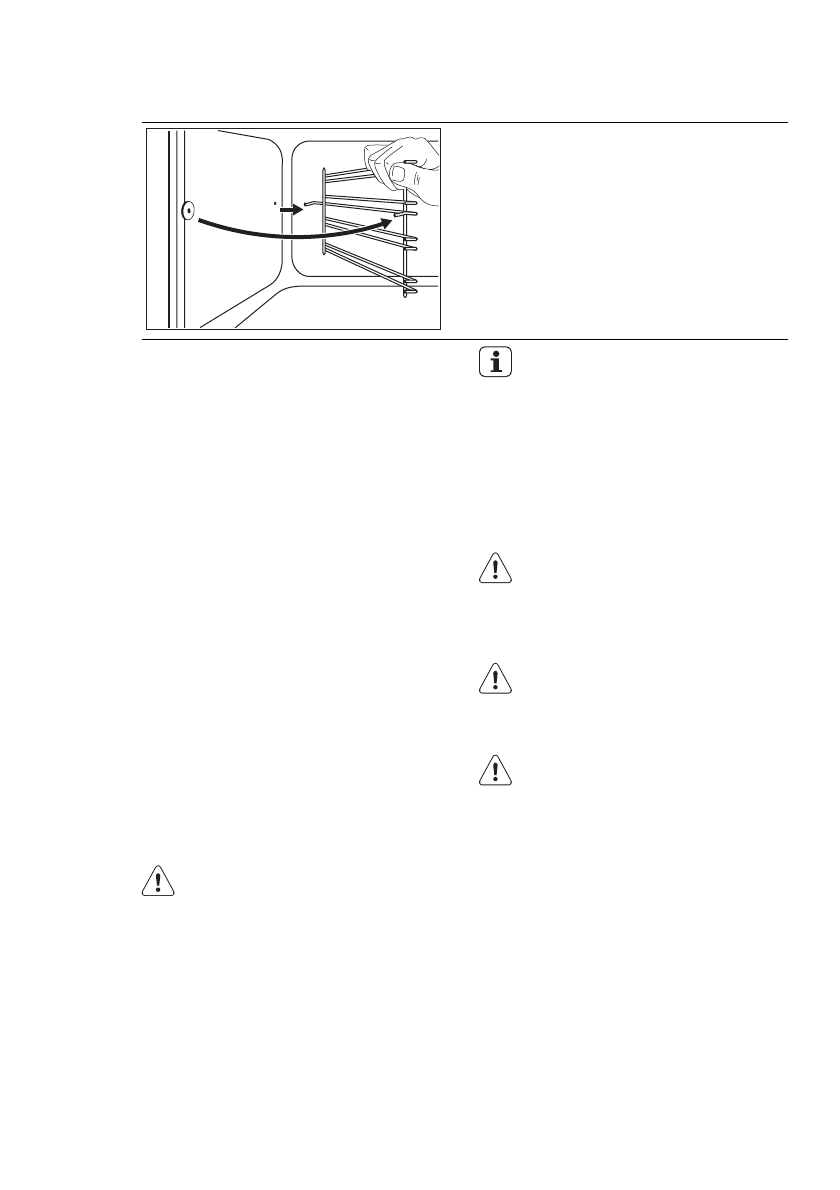
12.1 Направляющая для противня
2
1
Для очистки боковых стенок духового шкафа
направляющие для противня можно снять.
Снятие направляющих
1.
Потяните переднюю часть направляю‐
щей для противня в сторону, противопо‐
ложную боковой стенке.
2.
Потяните направляющую для противня в
сторону, противоположную задней части
боковой стенки, и снимите ее.
Установка направляющих
Установка направляющих производится в об‐
ратном порядке.
12.2 Стенки с каталитическим
покрытием
Стенки с каталитическим покрытием не тре‐
буют очистки. Они поглощают жир, который
собирается на стенках во время работы духо‐
вого шкафа.
Для поддержания процесса самоочистки
регулярно нагревайте духовой шкаф без
продуктов.
1.
Откройте дверцу духового шкафа.
2.
Извлеките все принадлежности из духо‐
вого шкафа.
3.
Закройте дверцу.
4.
Задайте режим духового шкафа.
5.
Установите температуру духового шкафа
на 250°C и дайте ему поработать в тече‐
ние 1 часа.
6.
Очистите камеру духового шкафа мягкой
влажной губкой.
ПРЕДУПРЕЖДЕНИЕ!
Не следует чистить поверхности с ка‐
талитическим покрытием с помощью
аэрозолей для духовых шкафов,
абразивных чистящих средств, мыла
и прочих чистящих средств. Это мо‐
жет повредить каталитическое по‐
крытие.
Изменение цвета каталитического по‐
крытия не влияет на его свойства.
12.3 Очистка дверцы духового
шкафа
В дверце духового шкафа имеются две сте‐
клянные панели, установленные одна за дру‐
гой. Чтобы облегчить их очистку, снимите
дверцу духового шкафа.
ВНИМАНИЕ!
Если попытаться извлечь внутрен‐
нюю стеклянную панель, предвари‐
тельно не сняв дверцу, то дверца ду‐
хового шкафа может захлопнуться.
ВНИМАНИЕ!
Перед очисткой стеклянных панелей
убедитесь, что они остыли. Суще‐
ствует опасность, что стекло треснет.
ВНИМАНИЕ!
Стеклянные панели дверцы, имею‐
щие повреждения или царапины, ста‐
новятся хрупкими и могут треснуть.
Во избежание этого их необходимо
заменить. Для получения более под‐
робных указаний обратитесь в мест‐
ный сервисный центр.
28 www.electrolux.com