Плита AEG CIM66400BX - инструкция пользователя по применению, эксплуатации и установке на русском языке. Мы надеемся, она поможет вам решить возникшие у вас вопросы при эксплуатации техники.
Если остались вопросы, задайте их в комментариях после инструкции.
"Загружаем инструкцию", означает, что нужно подождать пока файл загрузится и можно будет его читать онлайн. Некоторые инструкции очень большие и время их появления зависит от вашей скорости интернета.

соблюдением аналогичных
предосторожностей.
13.3 Очистка выемки
внутренней камеры
Процедура очистки удаляет из выемки
камеры известковый налет,
оставшийся после приготовления с
использованием пара.
Рекомендуется как
минимум каждый 5-10 цикл
выполнять процедуру
очистки при помощи
функции SteamBake.
1. Налейте в выемку внутренней
камеры 250 мл белого уксуса.
Используйте уксус концентрации
не выше 6% и без приправ.
2. Оставьте уксус на 30 минут при
комнатной температуре, позволив
ему растворить известковый
налет.
3. Протрите внутреннюю камеру
мягкой тряпкой, смоченной в
теплой воде.
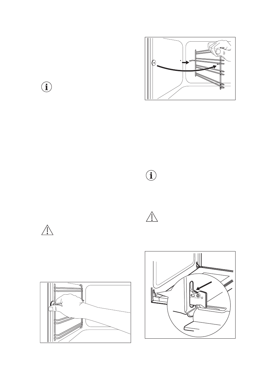
13.4 Снятие направляющих
для противней
Для очистки камеры духового шкафа
извлеките направляющие для
противней.
ПРЕДУПРЕЖДЕНИЕ
При извлечении
направляющих для
противней соблюдайте
осторожность.
1. Потяните переднюю часть
направляющей для противня в
сторону, противоположную
боковой стенке.
2. Вытяните заднюю часть
направляющей из боковой стенки и
снимите ее.
2
1
Установите извлеченные аксессуары в
обратном порядке.
13.5 Снятие и установка
дверцы
В дверце духового шкафа имеются
две стеклянные панели. И дверца
духового шкафа, и внутренняя
стеклянная панель снимаются для
чистки.
Если предварительно не
снять дверцу духового
шкафа, она может
захлопнуться при попытке
извлечь стеклянную
панель.
ПРЕДУПРЕЖДЕНИЕ
Не используйте духовой
шкаф без внутренней
стеклянной панели.
1. Откройте дверцу до конца и
возьмитесь за обе петли.
РУССКИЙ
39
Характеристики
Остались вопросы?Не нашли свой ответ в руководстве или возникли другие проблемы? Задайте свой вопрос в форме ниже с подробным описанием вашей ситуации, чтобы другие люди и специалисты смогли дать на него ответ. Если вы знаете как решить проблему другого человека, пожалуйста, подскажите ему :)