Плита Greta 600-12 (W) - инструкция пользователя по применению, эксплуатации и установке на русском языке. Мы надеемся, она поможет вам решить возникшие у вас вопросы при эксплуатации техники.
Если остались вопросы, задайте их в комментариях после инструкции.
"Загружаем инструкцию", означает, что нужно подождать пока файл загрузится и можно будет его читать онлайн. Некоторые инструкции очень большие и время их появления зависит от вашей скорости интернета.

16
Включення газових пальників столу з системою газ-контроль
Натиснути і повернути проти годинникової стрілки ручку, відповідну пальни-
ку, що використовуэться, встановити її в положення «максимальне полум,я»
і піднести запалений сірник або включити кнопку
електророзпалу , для
плит з електророзпалом. Ручку крану тримайте натиснутою не менше 10 секунд,
щоб пристрій встиг спрацювати.
УВАГА! Якщо пальник після закінчення 10 секунд не запалився, то цей
пристрій не слід більше приводити в дію і спробувати ще раз можна не
раніше, чим через 1 хвилину.
Включення електричної конфорки столу.
Електроконфорка управляється перемикачем (див. мал. 9). Щоб включити
конфорку, необхідно встановити ручку перемикача потужності в потрібне поло-
ження, обертаючи проти ходу годинникової стрілки.
Для виключення конфорки необхідно плавно зменшувати потужність, оберта-
ючи ручку перемикача по ходу годинникової стрілки до відмітки «0» - відключено.
Контрольна лампочка горить впродовж всієї роботи конфорки.
Газова духовка
Перед первинним користуванням духовкою, її потрібно вимти теплою водою
з миючим засобом, протерти насухо, після чого ввімкнуть і протягом півгодини
прогріти для вигорання залишків масла і т. п.
- включення пальника духовки
Щоб розпалити пальник духовки, необхідно піднести запалений сірник до
запального отвору (мал. 10) і провернути відповідну ручку крану в положення
«максимум» .
Регулювання інтенсивності горіння здійснюєься подальшим поворотом руч-
ки крану проти ходу годинникової стрілки - при цьому не повинне статися ви-
падкове згасання пальника. При повороті до упору пальник працюватиме на
мінімальному полум’ї .
Щоб вимкнути пальник, необхідно повернути ручку крану по ходу годиннико-
вої стрілки до упору, в положення « » закрито.
- включення газового пальника духовки з системою газ-контроль
Щоб розпалити пальник духовки, необхідно піднести запалений сірник до за-
пального отвору (мал. 10) і повернути відповідну ручку крану в положення «мак-
симум» .
Мал. 10 Запалення газового пальника духовки
Переконатися візуально, через отвір в дні духовки, що пальник запалений.
Після запалення ручку слід тримати натиснутою не менше 15 секунд для про-
грівання датчика пристрою.
УВАГА! Якщо пальник після закінчення 15 секунд не запалився, то цей
пристрій не слід більше приводити в дію і перед кожною наступною спро-
41
ПОРЯДОК РАБОТЫ
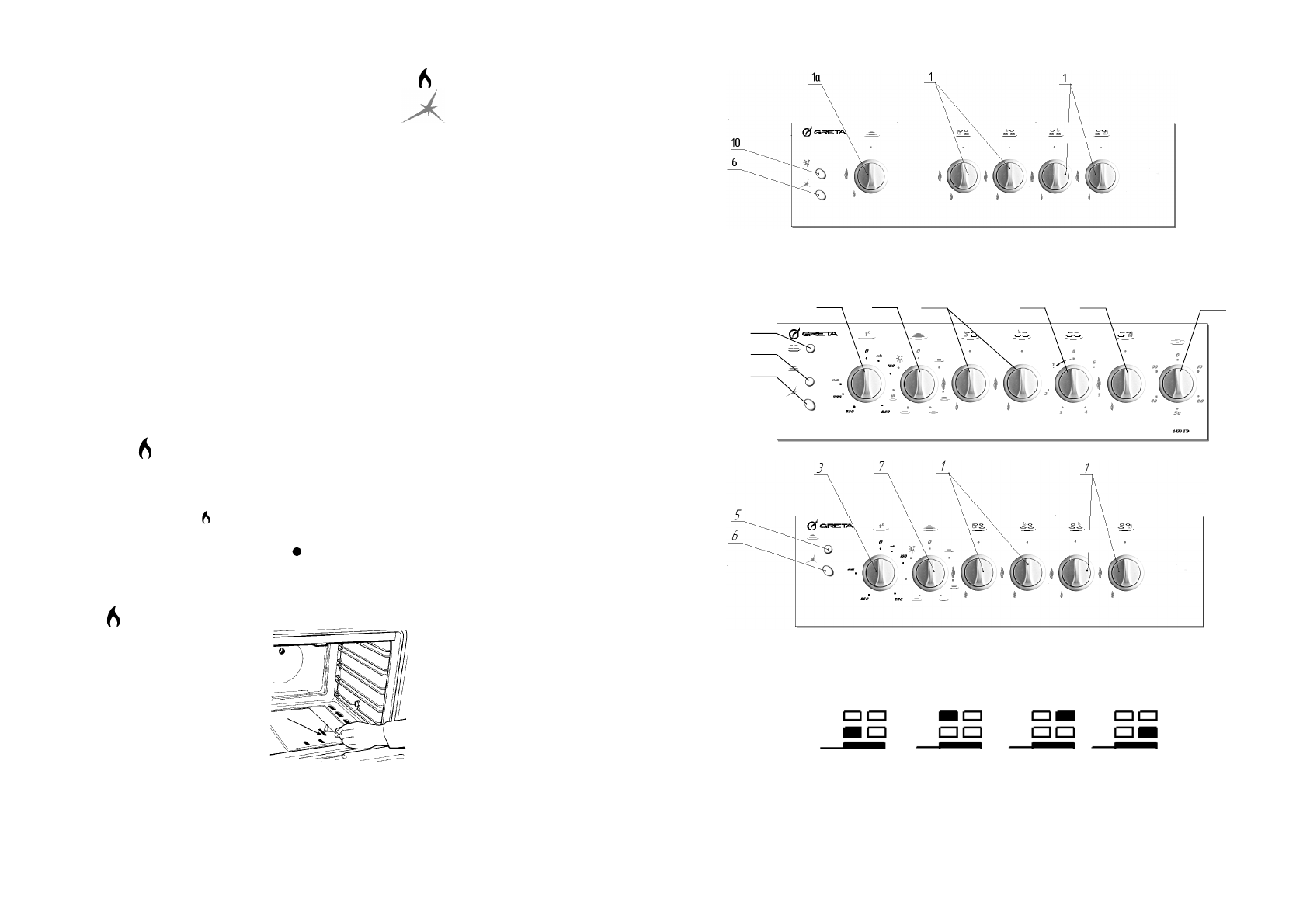
Панель управления для плит мод. 600
Рис. 8 Панель управления
Панель управления для плит мод.600-ГЭ
4
1
2
1
3
5
6
7
8
Рис 9 Панель управления
Описание ручек, расположенных на панели управления (см. рис. 8, 9)
- ручка включения газовых горелок стола поз. 1
Горелки стола
Передняя левая Задняя левая Задняя правая Передняя
- ручка включения эл.конфорки поз.2
Вращая ручку против часовой стрелки, можно выбрать следующие функции:
0
выключено; с
1
по
6
минимальная и максимальная мощность.
- ручка включения газовой горелки духовки поз.1а
Содержание
- 2 УВАГА! Вживаний в побуті газ вибухонебезпечний.; - при користуванні газовими приладами дотримуйте правила пожеж-; Т А Л О Н No 1
- 6 Мал. 2 Розмітка підлоги для установки запобіжного кронштейна; Під’єднування плити до газової магістралі:; Расшифровка штрихUкода.; МАССА
- 7 Будьте особенно осторожны со стеклянными комплектующими!; Мал. 4 Жорстке під’єднування; Під’єднування газовим шлангом
- 8 УТИЛИЗАЦИЯ ИЗДЕЛИЯ
- 9 Таблица 4. Возможные неисправности и методы их устранения; Налаштування плити на різні види газу.; годинниковою стрілкою до упору; У В А ГА ! П і с л я п і д к л ю ч е н н я т р е б а п е р е в і р и т и г е р м е т и ч н і с т ь у с і х; ТЕХНІЧНІ ХАРАКТЕРИСТИКИ; Плита відповідає наступним нормативним документам:; На виріб є декларації (сертифікати) відповідності України і Росії.
- 10 ОБСЛУЖИВАНИЕ И УХОД
- 11 Отделение для хранения принадлежностей; ПРАКТИЧЕСКИЕ СОВЕТЫ
- 12 КОМПЛЕКТНІСТЬ; Таблиця 3. Перелік комплектуючих плит мод.600; Комплектуючі; Использование газовых горелок стола; Рис.11 Установка кастрюли на решетке стола; Не используйте для приготовления кастрюли с изогнутым дном.; Включение таймера; ручку до отметки «60» с последующим воз вратом на заданное время.; Установка вертела (при наличии) в духовке; Рис.12 Расположение вертела в духовке; Пользование устройством освещения; ком перед заменой лампы убедитесь, что прибор выключен.
- 13 МАХ; нажатой не менее 15 секунд для прогрева датчика устройства.; ВНИМАНИЕ! Если горелка по истечении 15 секунд не зажглась, то это; на панели управления.; Электрическая духовка.; ратуры и переключателем мощности.; УСТРІЙ ВИРОБУ
- 14 ПОРЯДОК РОБОТИ; Мал. 8 Панель керування; Газовая духовка; Рис.10 Зажигание газовой горелки духовки
- 18 Мал. 11 Установка каструлі на решітку столу; Використання електричної конфорки столу (за наявності); Мал. 12 Розташування рожена в духовці; Користування пристроєм освітлення; КОМПЛЕКТНОСТЬ; Таблица 3 Перечень комплектующих плит мод.600; Таблица 3а Перечень комплектующих плит мод.600-ГЭ; Комплектующие
- 19 фактической массе изделия.; ИСПОЛНЕНИЯ ПЛИТ; Если плита имеет стеклянную крышку,; Дверка нижня Шухляда; Відділення для зберігання приладдя; дверкою, висувною шухлядою або заглушкою.; ПРАКТИЧНІ ПОРАДИ; перемісити його на один рівень вниз або зменшити температуру.
- 20 ОБСЛУГОВУВАННЯ І ДОГЛЯД; кою, змоченою в мильному або содовому розчині і протерати досуха.; ПРАВИЛА ТРАНСПОРТУВАННЯ
- 21 ВНИМАНИЕ! После подключения нужно проверить герметичность всех; ТЕХНИЧЕСКИЕ ХАРАКТЕРИСТИКИ; Плита соответствует следующим нормативным документам:; МОЖЛИВІ НЕСПРАВНОСТІ І МЕТОДИ ЇХ УСУНЕННЯ; Таблиця 4 Можливі несправності і методи їх усунення
- 22 УТИЛІЗАЦІЯ ВИРОБУ
- 23 Рис.4 Жесткое подсоединение; Подсоединение газовым шлангом
- 24 МАСА; Подсоединение плиты к газовой магистрали
- 25 ИНСТРУКЦИЯ ПО УСТАНОВКЕ; ВНИМАНИЕ! Перед любыми работами по наладке и обслуживанию от-; Рис.1 Установка плиты между мебелью; Уповноважений представник ПАТ «Грета» в Російській Федерації:; ЛИСТОК ВІДГУКУ
- 26 Запрещается очистка духовки паром.; алы в хозяйственное отделение.; избежать соскальзывания плиты с опор.
- 27 ВНИМАНИЕ! Если поверхность конфорки треснула, отключите прибор; КОРІНЕЦЬ Т; Вилучений
- 28 ПЛИТА БЫТОВАЯ; П л и т а м о д . 6 0 0 - Г Э - Х Х и м е е т с е р т и ф и к а т с о о т в е т с т в и я No Т С R U C - U A .; ПРАВИЛА БЕЗОПАСНОСТИ; ВНИМАНИЕ! Применяемый в быту газ взрывоопасен; при каких обстоятельствах не используйте оборудование на улице.
Характеристики
Остались вопросы?Не нашли свой ответ в руководстве или возникли другие проблемы? Задайте свой вопрос в форме ниже с подробным описанием вашей ситуации, чтобы другие люди и специалисты смогли дать на него ответ. Если вы знаете как решить проблему другого человека, пожалуйста, подскажите ему :)








