Плита De Luxe 506031.01ГЭ - инструкция пользователя по применению, эксплуатации и установке на русском языке. Мы надеемся, она поможет вам решить возникшие у вас вопросы при эксплуатации техники.
Если остались вопросы, задайте их в комментариях после инструкции.
"Загружаем инструкцию", означает, что нужно подождать пока файл загрузится и можно будет его читать онлайн. Некоторые инструкции очень большие и время их появления зависит от вашей скорости интернета.

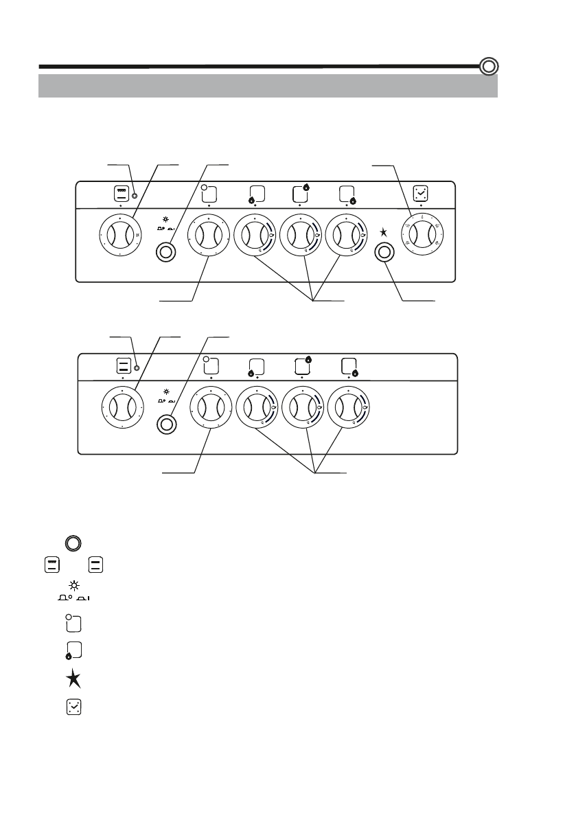
Панель управления плиты модели 506031.00гэ
200
15
0
2
3
4
1
1
0
0
5
7
6
1
5
2
4
3
6
Панель управления плиты модели 506031.01гэ
2
4
1
200
15
0
1
0
0
2
5
0
6
1
5
2
4
3
5
3
Элементы управления, расположенные на лицевых панелях, выполняют
следующие функции:
1 - сигнальная лампочка включения электрической духовки
или электроконфорки;
или
2 - ручка управления электрической духовки;
3 - кнопка переключателя освещения электрической духовки;
4 - ручка переключателя, управляющего работой
электроконфорки;
5 - ручки кранов, управляющих работой газовых горелок;
6 - кнопка электророзжига;
7 - ручка включения механического таймера.
УСТРОЙСТВО ПЛИТЫ
9
Содержание
- 2 ОБЩИЕ УКАЗАНИЯ; газообразном топливе”; на природном газе; ТРЕБОВАНИЯ ТЕХНИКИ БЕЗОПАСНОСТИ; только
- 3 ТРЕБОВАНИЯ ПО ТЕХНИКЕ БЕЗОПАСНОСТИ
- 4 КОМПЛЕКТНОСТЬ
- 5 ТЕХНИЧЕСКИЕ ДАННЫЕ
- 6 гэ с максимальным количеством
- 7 УСТРОЙСТВО ПЛИТЫ
- 8 Устройство плиты модели 506031.00гэ с максимальным количеством
- 10 УСТАНОВКА; на установку»
- 11 жёсткого или гибкого; ПОДКЛЮЧЕНИЕ К ГАЗОВОЙ МАГИСТРАЛИ
- 12 Горелки плоскости готовки:; Перевод плиты на другой тип газа или на другое давление газа; Замена инжекторов в горелках плоскости; ПЕРЕВОД НА ДРУГОЙ ТИП ГАЗА
- 13 ЭКОНОМИЯ РАСХОДА ГАЗА; Уважаемый покупатель!; ЭКОНОМИЯ ЭЛЕКТРОЭНЕРГИИ
- 14 ПОДГОТОВКА К РАБОТЕ; “Руководством по эксплуатации” и следуйте его рекомендациям.
- 15 продолжать удерживать ручку; ПОРЯДОК РАБОТЫ; Газовые горелки
- 16 Электроконфорка; повышенной скоростью нагрева и имеет защиту от перегрева.; ПОРЯДОК РАБОТЫ
- 17 Электрическая духовка
- 18 Режим “ГРИЛЬ; Вертел; Освещение электрической духовки
- 19 УХОД ЗА ПЛИТОЙ
- 22 УСТРАНЕНИЕ НЕИСПРАВНОСТЕЙ; Вероятная причина
- 24 природного; Плита газовая c электрической; Заводской No; ТАЛОН НА УСТАНОВКУ
- 25 Ремонт плит производят ремонтные организации, адреса которых; ГАРАНТИЙНЫЕ ОБЯЗАТЕЛЬСТВА
- 26 УВАЖАЕМЫЙ ПОКУПАТЕЛЬ!; РЕКОМЕНДАЦИИ
- 27 Талон No 1; Талон No 2; на гарантийный ремонт; Талон No 3; на гарантийный ремонт
Характеристики
Остались вопросы?Не нашли свой ответ в руководстве или возникли другие проблемы? Задайте свой вопрос в форме ниже с подробным описанием вашей ситуации, чтобы другие люди и специалисты смогли дать на него ответ. Если вы знаете как решить проблему другого человека, пожалуйста, подскажите ему :)












