Panasonic KX-T7340 - Инструкция по эксплуатации

Panasonic KX-T7340

АТС Panasonic KX-T7340 - инструкция пользователя по применению, эксплуатации и установке на русском языке. Мы надеемся, она поможет вам решить возникшие у вас вопросы при эксплуатации техники.

Если остались дополнительные вопросы — свяжитесь с нами через контактную форму.

1 Страница 1
2 Страница 2
3 Страница 3
4 Страница 4
5 Страница 5
6 Страница 6
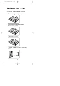
7 Страница 7
8 Страница 8
Страница: / 8
Загрузка инструкции

Gyjvt gprmofo bs°opa
ctahunn (

DSS

)

Gyjvt KX-T7340 cobmectnm c
˙jektpohhsmn molyjvhsmn
cnctemamn kommytaunn n unipobsmn
cygeplniiepehunajvhsmn cnctemamn
komgahnn

Panasonic

.

GoÒajyØcta, gpo≠tnte gepel ncgojvÎobahnem.

Molejv £

KX-T7340

Cnctems

EMSS

n

DSHS

KX-T7340

PSQX1461ZA

99.9.21

1:03

PM

y [ W 1

"Загрузка инструкции" означает, что нужно подождать пока файл загрузится и можно будет его читать онлайн. Некоторые инструкции очень большие и время их появления зависит от вашей скорости интернета.

Характеристики

Другие модели - АТС Panasonic

Все атс Panasonic